OHISOTEEL 6000164 60t 24 X 60 Lawn Roller Instruction Manual
READ AND FOLLOW ALL SAFETY RULES AND OPERATING INSTRUCTIONS BEFORE USING THIS EQUIPMENT
Safety Rules
This is the safety alert symbol. It is used to alert you to potential personal injury hazards. Obey all safety messages that follow this symbol to avoid possible injury or death.
Read and understand all safety rules and operating instructions before using this tractor attachment.
Follow all safety rules and operating instructions provided by your tractor’s manufacturer when using attachment.
Never allow children or untrained persons to operate vehicle or attachment.
Do not carry passenger on vehicle or attachment.
Avoid sudden turns or maneuvers.
Do not remove warning decals from product.
Do not tow attachment on public roadways.
Check product for worn, loose or damaged parts before each use. If any damage is present, repair the product before using.
Check product for loose or missing fasteners before each use. Tighten or replace fasteners as needed before using.
Warranty
IF YOU ARE MISSING PARTS DO NOT RETURN TO STORE Email : [email protected] or call 1-800-652-2321, ext. 212
AttachReceipt Here:
Before you call, please email our customer service team at [email protected] with the following:
- A description of the issue you are having
- Photos of the issue that include an overall view and detailed view from
multiple angles - If applicable, a short video showing the issue
Replacement Parts:
You can place your parts order online at ohiosteel.com/partsstore
- You can also reach our Customer Service Department at 1-800-652-2321, ext. 212
- If you are ordering replacement part(s) for your product, please note that some parts are only available as a repair kit.
If this product fails due to a defect in material or workmanship within THREE YEARS from the date of purchase, we will at our option, only with receipt of purchase, repair or replace it free of charge. This warranty excludes the bushings and drainplug, which are expendable and become worn during normal use.
This warranty does not cover:
- Repairs necessary because of operator abuse or negligence.
- Equipment used for commercial or rental purposes.
- Paint that is worn or faded due to normal use or exposure.
To arrange for product repair visit : ohiosteel.com/customer-support and fill out the warranty repair form. You can also call 1-800-652-2321, ext. 212 to speak to our Customer Service Team
This warranty gives you specific legal rights, and you may also have other rights which may vary from state to state. This warranty applies only while this product is in use in the United States.
Carton Contents

TOOLS REQUIRED FOR ASSEMBLY
- 9/16″ Wrench or Socket
- Pliers
Assembly Instructions
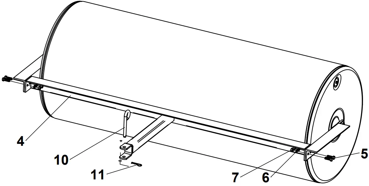
- Attach Side Angle (1) to Bar Assembly(2) using 3/8″ Bolts (5), Lockwashers (6) and n3/8″ Nuts (7). Note flange of pressed bearing faces in.

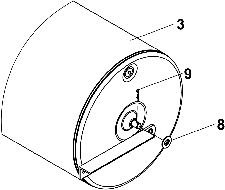
- Slide both side bars over axle with flanges of the bearing towards the inside of the roller head, add Washers (8) and lock in place by inserting and spreading ends of Cotter Pins (9)

- Attach Hitch Assembly (4) to side bars using 3/8″ Bolts (5), Lock washers (6) and 3/8″ Nuts (7). Install Hitch Pin (10) and Hairpin Cotter (11) as shown.

Operating Instructions
Before Using Lawn Roller:
Read all Safety Rules on top:
Though most rollers are filled with water, we recommend adding Ethylene Glycol Anti-Freeze with the water. This will protect the tank from damage during cold weather. It is also recommended that the anti-freeze used, contain a rust inhibitor to protect the inside of the tank against rust. If the roller is filled with water only, it must be drained whenever the temperature drops below 32 degrees F. (0 degrees C). The roller weighs approximately 1,150 pounds when filled. Safe disposal of the antifreeze is recommended. Please follow the Anti-Freeze manufacturers warnings and disposal methods.
Antifreeze Protection for 24 X 60 Lawn Roller
Repair Parts

| ITEM | PART NO | DESCRIPTION | QTY. |
| 1 | 6000135-B2 | ANGLE, SIDE, 2460 (BLACK) | 2 |
| 2 | 6000137-B2 | BAR, SIDE, 2460 (BLACK) (BUSHINGS INC.) | 2 |
| 3 | 6000121-B2 | DRUM, ROLLER, 2460 (BLACK) | 1 |
| 4 | 6000123-B2 | HITCH, ROLLER, 60T (BLACK) | 1 |
| 5 | KIT6000138 | HEX BOLT, 3/8-16 X 1-1/4″ (BLACK) | 8 |
| 6 | LOCKWASHER, 3/8″ (BLACK) | 8 | |
| 7 | HEX NUT, 3/8-16 (BLACK) | 8 | |
| 8 | WASHER, 1″ SAE (ZINC) | 2 | |
| 9 | COTTER PIN, 3/16″ X 1-1/2″ (ZINC) | 2 | |
| 10 | KIT6000770 | PIN, HITCH, 1/2″ X 3″ (ZINC) | 1 |
| 11 | COTTER HAIRPIN, 3/32″ X 2-5/16′ (ZINC) | 1 | |
| 12 | 50401 | PLUG, DRAIN, ROLLER | 1 |
| 13 | KIT6004719 | KIT, ROLLER BUSHINGS (SET OF 2) | – |
REPLACEMENT PARTS ORDERING : 1-800-652-2321

www.OHIOSTEEL.com
(800) 652-2321




















