Toolland DT75000 Garden Roller – Length 50 CM User Manual
Introduction
Thank you for choosing Toolland. Please read the manual thoroughly before bringing this device into service. If the device was damaged in transit, do not install or use it and contact your dealer.
General Guidelines
Refer to the Velleman® Service and Quality Warranty on the last pages of this manual.
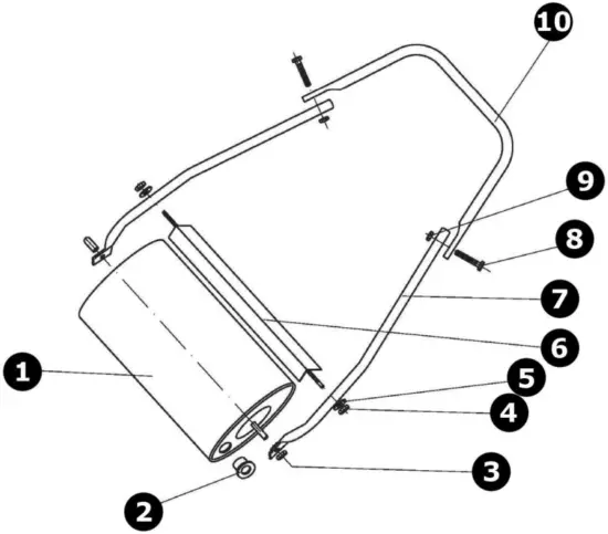
Overview

- drum
- drain plug
- M10 nut
- M8 nut
- M8 washer
- dirt scraper
- lower handle
- M5x30 bolt
- M5 nut
- upper handle
Operation
- Assemble the roller.
- Remove the drain plug, fill the drum with sufficient amount of water or sand, and re-tighten the drain plug.
- The best time to work the roller on the lawn is after rain, when the ground is made soft. Allow the lawn to dry a bit before starting; a muddy lawn may make your work inconvenient.
Push the roller from one end of the lawn to another. If using a tractor, make sure to drive at slow speed. Make several passes if necessary.
Cleaning and Maintenance
Clean and dry your garden roller before storing in a dry and well-ventilated place.
Technical Specifications
- roller diameter: 32 cm
- roller width : 50 cm
- height: 110 cm
weight
- filled with water: ± 50 kg
- filled with sand: ± 75 kg
Use this device with original accessories only. Velleman nv cannot be held responsible in the event of damage or injury resulting from (incorrect) use of this device. For more info concerning this product and the latest version of this manual, please visit our website www.toolland.eu. The information in this manual is subject to change without prior notice.
© COPYRIGHT NOTICE
The copyright to this manual is owned by Velleman nv. All worldwide rights reserved. No part of this manual may be copied, reproduced, translated or reduced to any electronic medium or otherwise without the prior written consent of the copyright holder.
Velleman® Service and Quality Warranty
Since its foundation in 1972, Velleman® acquired extensive experience in the electronics world and currently distributes its products in over 85 countries. All our products fulfil strict quality requirements and legal stipulations in the EU.
In order to ensure the quality, our products regularly go through an extra quality check, both by an internal quality department and by specialized external organisations. If, all precautionary measures notwithstanding, problems should occur, please make appeal to our warranty (see guarantee conditions).
General Warranty Conditions Concerning Consumer Products (for EU):
- All consumer products are subject to a 24-month warranty on production flaws and defective material as from the original date of purchase.
- Velleman® can decide to replace an article with an equivalent article, or to refund the retail value totally or partially when the complaint is valid and a free repair or replacement of the article is impossible, or if the expenses are out of proportion.
You will be delivered a replacing article or a refund at the value of 100% of the purchase price in case of a flaw occurred in the first year after the date of purchase and delivery, or a replacing article at 50% of the purchase price or a refund at the value of 50% of the retail value in case of a flaw occurred in the second year after the date of purchase and delivery.
- Not covered by warranty:
- all direct or indirect damage caused after delivery to the article (e.g. by oxidation, shocks, falls, dust, dirt, humidity…), and by the article, as well as its contents (e.g. data loss), compensation for loss of profits;
- consumable goods, parts or accessories that are subject to an aging process during normal use, such as batteries (rechargeable, non-rechargeable, built in or replaceable), lamps, rubber parts, drive belts… (unlimited list);
- flaws resulting from fire, water damage, lightning, accident, natural disaster, etc.…;
- flaws caused deliberately, negligently or resulting from improper handling, negligent maintenance, abusive use or use contrary to the manufacturer’s instructions;
- damage caused by a commercial, professional or collective use of the article (the warranty validity will be reduced to six (6) months when the article is used professionally);
- damage resulting from an inappropriate packing and shipping of the article;
- all damage caused by modification, repair or alteration performed by a third party without written permission by Velleman®.
- Articles to be repaired must be delivered to your Velleman® dealer, solidly packed (preferably in the original packaging), and be completed with the original receipt of purchase and a clear flaw description.
- Hint: In order to save on cost and time, please reread the manual and check if the flaw is caused by obvious causes prior to presenting the article for repair. Note that returning a non-defective article can also involve handling costs.
- Repairs occurring after warranty expiration are subject to shipping costs.
- The above conditions are without prejudice to all commercial warranties.
The above enumeration is subject to modification according to the article (see article’s manual).
Made in PRC
Imported for Toolland by Velleman nv
Legen Heirweg 33, 9890 Gavere, Belgium
Made in PRC
Imported for Toolland by Velleman nv
Legen Heirweg 33, 9890 Gavere, Belgium
www.toolland.eu
















