User’s manual
Lawn Roller
30264, 30265

Illustration similar, may vary depending on model
Please read and follow the operating instructions and safety information prior to the initial operation.
Technical changes reserved!
Illustrations, functional steps, and technical data may deviate insignificantly due to continuous further developments.
The information contained in this document may alter at any time without prior notice. No part of this document may be copied or otherwise duplicated without prior written consent. All rights reserved. WilTec Wildanger Technik GmbH cannot be held liable for any possible mistakes in this operating manual, nor in the diagrams and illustrations shown. Although WilTec Wildanger Technik GmbH has made every possible effort to ensure that this operating manual is complete, accurate, and up-to-date, errors cannot be ruled out entirely. If you have found an error or wish to suggest an improvement, we look forward to hearing from you. Send us an e-mail to:
[email protected]
or use our contact form:
https://www.wiltec.de/contacts/
The most recent version of this manual in several languages can be found in our online shop:
https://www.wiltec.de/docsearch
Our postal address is:
WilTec Wildanger Technik GmbH
Königsbenden 12
52249 Eschweiler Germany
Do you wish to collect your goods? Our address for collection is:
WilTec Wildanger Technik GmbH
Königsbenden 28
52249 Eschweiler Germany
In order to shorten the waiting time and allow for easy on-site processing, we kindly ask you to contact us briefly beforehand or place your order via the webshop.
E-mail: [email protected]
Tel: +49 2403 55592-0
Fax: +49 2403 55592-15
To return your goods for an exchange, repair, or other purposes, please use the following address. Attention! To allow for a trouble-free complaint or return, it is important to contact our customer service team before returning your goods.
Retourenabteilung
WilTec Wildanger Technik GmbH
Königsbenden 28
52249 Eschweiler Germany
E-mail: [email protected]
Tel: +49 2403 55592-0
Fax: +49 2403 55592-15
Introduction
Thank you for choosing to purchase this quality product. To minimize the risk of injury, we ask you to always take some basic safety precautions when using this product. Please read this operating manual carefully and make sure that you understand it. Keep these operating instructions in a safe place.
Safety instructions
ATTENTION! Observe all safety instructions to minimise the risk of damages and injuries.
Before commissioning, read the user’s manual entirely and thoroughly. Keep it in a safe place for future reference. Do hand the manual over together with the lawn roller in case you give it to a third party.
- Small parts and packaging material must be kept away from children! The danger of suffocation!
- After unpacking, check for completeness of components. Do not assemble the lawn roller if components are missing, but contact your vendor to get spare parts.
- Visually examine all components of the lawn roller to check them for possible danger. Damages can be caused by transport. Do not assemble the device if components are damaged. Risk of injuries!
- Do not modify the lawn roller in any way. Modifications will void the warranty. Risk of injuries!
- Only put a device completely assembled into operation.
- Only clean the lawn roller with a sponge and warm soap water; do not clean it by using detergents that contain solvent or by using cleaning agents.
- Only use the device according to the intended use. Any other use is prohibited. We are not to be held responsible for damages and injuries arising from improper use.
- The device must not be used for commercial or industrial purposes. Such use excludes any warranty claims.
Technical specifications
| Item number | 30264 | 30265 |
| Dimensions (㎜) | 320 × 570 | 350 × 1000 |
| Capacity (ℓ) | 45 | 95 |
| Weight (㎏) | 12 | 21 |
Exploded view, parts list, and assembly
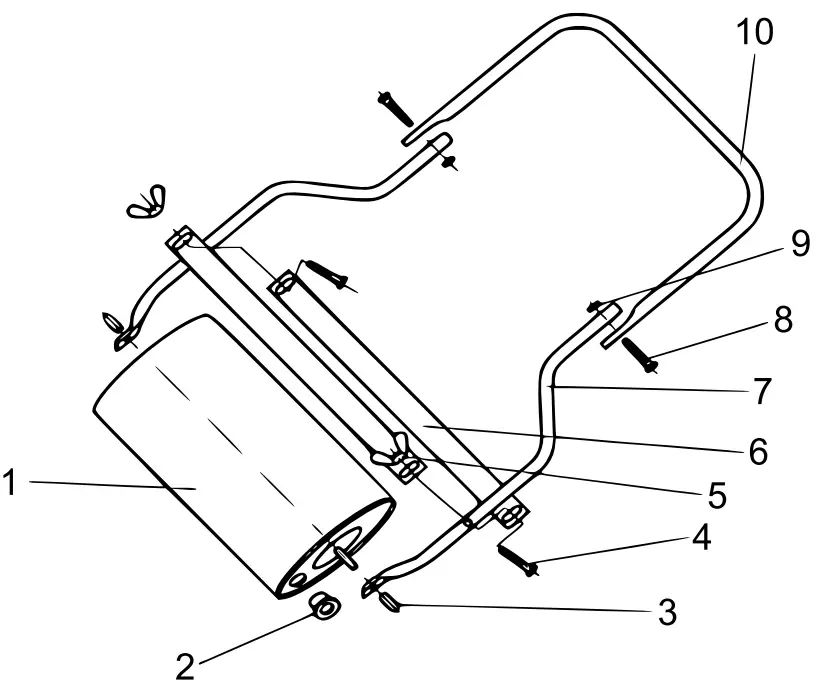
30264
| № | Name | Qty. | № | Name | Qty. |
| 1 | Cylinder | 1 | 6 | Scraper | 2 |
| 2 | Drain plug | 1 | 7 | Lower handle part | 2 |
| 3 | Cap nut | 2 | 8 | Screw (M5×30) | 2 |
| 4 | Screw (M6×35) | 2 | 9 | Counter nut | 2 |
| 5 | Screw-nut | 2 | 10 | Upper handle part | 1 |
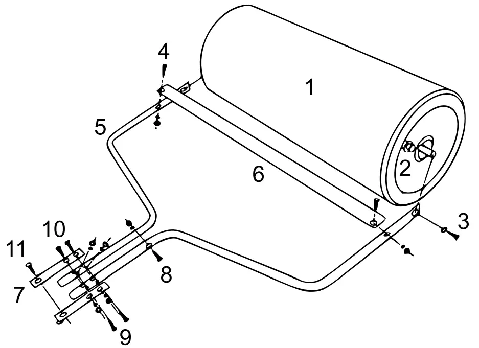
30265

| № | Name | Qty. | № | Name | Qty. |
| 1 | Cylinder | 1 | 7 | Connecting plate | 2 |
| 2 | Drain plug | 1 | 8 | Screw (M5×30) and nut | 1 |
| 3 | Cap nut (M12) | 2 | 9 | Screw (M8×70) and nut | 2 |
| 4 | Screw (M8×40) and nut | 2 | 10 | Screw (M8×70) and nut | 2 |
| 5 | Holder | 2 | 11 | Screw (M12×25) and nut | 1 |
| 6 | Scraper | 2 |
Important Note:
Reproduction and any commercial use (of parts) of this operating manual, requires written permission of WilTec Wildanger Technik GmbH.
© by WilTec Wildanger Technik GmbH
http://www.WilTec.de
http://www.aoyue.eu
http://www.teichtip.de
Item 30264, 30265
01 2022-1
















