

48T
24X48 LAWN ROLLER
READ AND FOLLOW ALL SAFETY RULES AND OPERATING INSTRUCTIONS BEFORE USING THIS EQUIPMENT
Assembled in U.S.A. of domestic and imported components 6002877 – REV D 3/20
Safety Rules
This is the safety alert symbol. It is used to alert you to potential personal injury hazards. Obey all safety messages that follow this symbol to avoid possible injury or death.
Read and understand all safety rules and operating instructions before using this tractor attachment.
Follow all safety rules and operating instructions provided by your tractor’s manufacturer when using attachment.
Never allow children or untrained persons to operate vehicle or attachment.
Do not carry passenger on vehicle or attachment.
Avoid sudden turns or maneuvers.
Do not remove warning decals from product.
Do not tow attachment on public roadways.
Check product for worn, loose or damaged parts before each use. If any damage is present, repair the product before using.
Check product for loose or missing fasteners before each use. Tighten or replace fasteners as needed before using.
Warranty
IF YOU ARE MISSING PARTS DO NOT RETURN TO STORE
Email [email protected] or call 1-800-652-2321, ext. 212
AttachReceipt Here:
Before you call, please email our customer service team at [email protected] with the following:
- A description of the issue you are having
- Photos of the issue that include an overall view and detailed view from multiple angles
- If applicable, a short video showing the issue
Replacement Parts:
You can place your parts order online at ohiosteel.com/partsstore
- You can also reach our Customer Service Department at 1-800-652-2321, ext. 212
- If you are ordering replacement part(s) for your product, please note that some parts are only available as a repair kit.
If this product fails due to a defect in material or workmanship within THREE YEARS from the date of purchase, we will at our option, only with receipt of purchase, repair or replace it free of charge. This warranty excludes the bushings and drainplug, which are expendable and become worn during normal use.
This warranty does not cover:
- Repairs necessary because of operator abuse or negligence.
- Equipment used for commercial or rental purposes.
- Paint that is worn or faded due to normal use or exposure.
To arrange for product repair visit ohiosteel.com/customer-support and fill out the warranty repair form. You can also call 1-800-652-2321, ext. 212 to speak to our Customer Service Team
This warranty gives you specific legal rights, and you may also have other rights which may vary from state to state. This warranty applies only while this product is in use in the United States.
Carton Contents
1 (X1)
2 (X2)
3 (X1)
4 (X1) 
5 (X2)
6 (X2)
7 (X2)
8 (X1)![]()
9 (X1)
10 (X1)
TOOLS REQUIRED FOR ASSEMBLY
- 9/16″ Wrench or Socket
- Pliers
Assembly Instructions
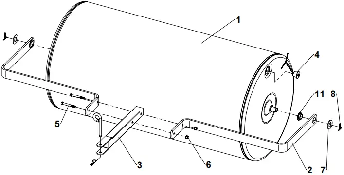
1 Slide Side Bars (2) over axle. Face the flanges of the pressed bearing towards the the Roller Body (1). Add Washer (7) and lock in place by inserting then spreading ends of the cotter pin (8).

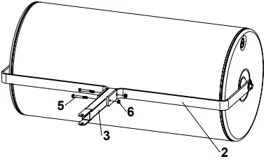
2 Add Roller Hitch Weldment (3) to Side Bar Assembly (2) by inserting 3″ bolt (5) though Side Bars (2) and secure with Keps Nut(6).

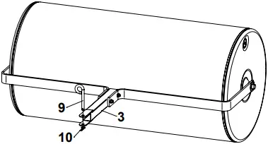
3 Add Hitch Pin (9) into clevis of Hitch Weldment (3) and secure with Hairpin Cotter (10).

Operating Instructions
Before Using Lawn Roller:
Read all Safety Rules found on page 1.
Though most rollers are filled with water, we recommend adding Ethylene Glycol Anti-Freeze with the water. This will protect the tank from damage during cold weather. It is also recommended that the anti-freeze used, contain a rust inhibitor to protect the inside of the tank against rust. If the roller is filled with water only, it must be drained whenever the temperature drops below 32 degrees F. (0 degrees C). The roller weighs approximately 920 pounds when filled. Safe disposal of the antifreeze is recommended. Please follow the Anti-Freeze manufacturers warnings and disposal methods.
Antifreeze Protection for 24×48 Steel Lawn Roller (48T)

Repair Parts

ITEM | PART NO | DESCRIPTION | QTY |
1 | 504001-B2 | DRUM, ROLLER, 2448 (BLACK) | 1 |
2 | 6000571-B2 | BAR, SIDE, 2448 (BLACK)(BUSHING INCLUDED) | 2 |
3 | 6003900-B2 | HITCH, ROLLER (BLACK) | 1 |
4 | 50401 | PLUG, DRAIN, ROLLER | 2 |
5 | KIT 3040348 | HEX BOLT, 3/8-16 X 3″ (BLACK) | 2 |
6 | HEX NUT, 3/8-16 KEPS (BLACK) | 2 | |
7 | WASHER, 1″ SAE (ZINC) | 2 | |
8 | COTTER PIN, 3/16″ X 1-1/2″ (ZINC) | 1 | |
9 | KIT 6000770 | PIN, HITCH, 1/2″ X 3″ (ZINC) | 1 |
10 | COTTER HAIRPIN, 3/32″ X 2-5/16″ (ZINC) | 1 | |
11 | KIT 6004719 | KIT, ROLLER BUSHINGS (SET OF 2) | – |
ohiosteel.com/partsstore OHIO STEEL INDUSTRIES 1-800-652-2321

Proudly designed and tested in Columbus, Ohio.
Manufactured in the U.S.A. from domestic and imported components.

MODEL # 48T
2575 Ferris Road Columbus, OH 43224
(800) 652-2321
www.OHIOSTEEL.com
(800) 652-2321



















