Handy 48cm 19 Inch Garden Roller

Please read & understand this manual, paying particular attention to the safety instructions, before use.
The manufacturer reserves the right to change the product specification and livery according to continued product improvements.
Assembly Is Required
This product requires assembly before use. See the “Assembly” section for instructions.
Please check that all parts required for the assembly of this spreader are included. If for any reason you believe a part for the assembly is missing or damaged, please contact us.
If you require any assistance with regards to the contents or operation of your machine, please contact us:
TEL: 01793 333212
(MON – FRI 8.00AM TO 5.30PM EXCL. BANK HOLIDAYS)
EMAIL: [email protected]
SPECIFICATIONS
The manufacturer reserves the right to change the product specification and livery according to continued product improvements.
| Model Number | THGR |
| Product Number | 1938102001 |
| Working Width | 480mm |
| Drum Diameter | 420mm |
| Weight | G.W 15.7kg – N.W 14.5kg |
| Weight (Filled with Water) (kg) | 72kg |
| Weight (Filled with Sand) (kg) | 102kg |
IMPORTANT INFORMATION
INTENDED USE
The device is intended for the rolling soil, grass or and garden. It may not be filled with stones, glass, metal, bones, plastics or material scraps.
This product is not intended for commercial use. Generally acknowledged accident prevention regulations and enclosed safety instructions must be observed.
Only perform work described in these instructions for use. Any other use is incorrect. The manufacturer will not assume responsibility for damage resulting from such use.
GENERAL SAFETY INSTRUCTIONS
It is important that you read and understand the owner’s manual and labels affixed to the machine. Learn its application and limitations as well as the specific potential hazards. Retain these instructions for future reference. The operator is responsible for following the warnings & instructions in this manual and on the product.

Safety alert symbol. Used to alert you to potential personal injury hazards. Obey all safety messages that follow this symbol to avoid possible injury.
DANGER Indicates an imminently hazardous situation which, if not avoided, will result in serious injury.
WARNING Indicates a potentially hazardous situation which, if not avoided, could result in serious injury
CAUTION Indicates a potentially hazardous situation which, if not avoided, may result in minor or moderate injury.
CAUTION
Used without the safety alert symbol indicates a potentially hazardous situation which, if not avoided, may result in property damage.
STAY ALERT
Do not operate the machine while under the influence of drugs, alcohol, or any medication that could affect your ability to use it properly. Do not use this machine when you are tired or distracted from the job at hand. Be aware of what you are doing at all times. Use common sense.
AVOID DANGEROUS CONDITIONS
Make sure there is adequate surrounding workspace. Cluttered areas invite injuries. Keep your work area clean with sufficient light. Keep the area around the machine clear of obstructions, grease, oil, rubbish and other debris which could cause persons to fall onto moving parts.
INSPECT YOUR MACHINE
Check all bolts, nuts, and screws for tightness before each use, especially those securing guards and drive mechanisms. Vibration during use, may cause these to loosen. Form a habit of checking to see that all other tools/equipment are removed from the working area before using. Replace damaged, missing or failed parts before using it. Warning labels carry important information. Replace any missing or damaged warning labels.
DRESS PROPERLY
Do not wear loose clothing, gloves, scarfs, neckties or jewelry (rings, wrist watches), which can be caught in moving parts. Protective electrically non-conductive gloves and non-skid heavy duty footwear are highly recommended when working. Wear protective hair covering to contain long hair, preventing it from getting caught in machinery.
KEEP BYSTANDERS AND CHILDREN AWAY
Keep unauthorised persons away from the machine. If approached, stop the machine immediately. Do not allow children to handle or climb on the machine.
DO NOT OVERREACH
Keep proper footing and balance at all times when using the machine. Never stand on the machine. Serious injury could occur if the machine is tipped or if the moving parts are unintentionally contacted. Do not store anything above or near the machine, where anyone might stand on the machine to reach them.
AVOID INJURY FROM UNEXPECTED ACCIDENT
Keep hands & feet out of the way of all moving parts. Do n ot place any part of your body or any tool e.g. in the machine during operation.
DO NOT FORCE TOOL
Always work within the rated capacity. Do not use for a purpose for which it was not intended. NEVER LEAVE MACHINE UNATTENDED
Do not leave the machine unattended until it has come to a complete stop.
FILLING THE DRUM – WATER
When filling the drum with water, do not connect a hose pipe via a fixed coupling, which could cause a build-up of pressure within the drum. Always empty the roller drum after you have finished using it, in order to prevent it from rusting and also protect from sub-zero temperatures. Anti-freeze can be used for further protection.
FILLING THE DRUM – SAND
When filling the drum with sand, it is recommended a large funnel is used to ease the filling method.
MAINTAIN YOUR MACHINE WITH CARE
Clean the machine immediately after use. Keep the machine clean to ensure it operates to its full & safest performance. When maintaining this machine, only the manufacturer’s original replacement parts should be used. The use of non-original manufacturer parts may invalidate your warranty.
PROTECT THE ENVIRONMENT
Take left over materials to an authorised collection point or follow the stipulations in the country where the mixer is used. Do not discharge into drains, soil or water.
STORE IDLE EQUIPMENT
When not in use, the machine should be stored in a dry location. Keep the machine away from children and others not qualified to use it.
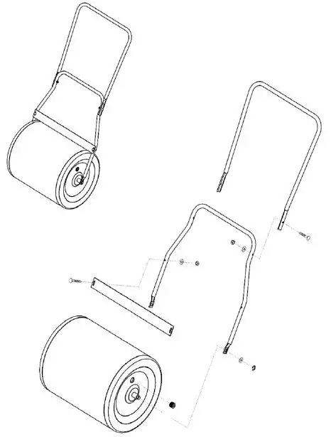
COMPONENTS
Contents: Top Handle, Lower Handle, Scraper Bar, Drum, Fill/Drain Plug with Seal, Fixing Kit (Incl. 6x Washer, 6x Bolt, 6x Nylon Nut, 2x E-Clip)

ASSEMBLY
![]() | Fit the Lower Handle to the Roller by placing one end of the Handle over the Roller Shaft. |
![]() | Then pull the other end of the Handle to place it over the other end of the Roller Shaft. You may need to bend the Handle slightly to stretch it over the Roller Shaft. |
![]() | Secure with the E-Clips and Washers supplied. The E-Clips will need to be squeezed onto the Roller Shaft usingpliers |
![]()
| Fit the Scraper to the Lower Handle using the supplied Bolts, Washers and Nuts as shown ensure that the Scraper is just clear of the Roller before fully tightening the Nuts. Fit the Upper Handle to the Lower Handle as shown using Bolts, Washers and Nuts. The Handle may be folded for storage by slackening the nuts. The Roller may be filled with water or sand by removing the Fill/Drain plug, filling with the required amount and replacing the plug. If using water in the Roller you may want to add anti-freeze during cold weather, however the roller still needs to be drained before winter storage, in order to avoid frost damage, even if you have used anti-freeze |
OPERATION
DANGER
The product must only be put into operation if no defects are found. It is crucial that an defective parts are replaced before the product is used again.
Check the safety equipment and the safe condition of the product:
- Check whether the drum is secure in it’s fixings.
- Check all parts to make sure that they fit tightly.
- Check whether there are any visible defects: broken parts, cracks, etc.
Never use the roller up and down slopes. Always work across a slope, ensuring you have a stable footing.
CLEANING
- Careful handling & regular cleaning, ensure that the device will remain functional and powerful for a long time.
- Brush off coarse dirt.
- Wipe down the device with a slightly damp cloth.
STORAGE & TRANSPORT
STORAGE
WARNING: Make sure that unauthorised persons do not have access to the device!
- Store the machine is a dry place
- Store away from direct sunlight
- Do not store anything above or near the machine, where anyone might stand on the machine to reach them.
- Keep the machine away from children and others not qualified to use it.
TRANSPORT
- Secure the device against slipping.
- When shipping, use the original packaging if possible.
PARTS DIAGRAM – THGR (1938102001)

| Item No | Part No | Description | Qty |
| 1 | TH225-1 | Top Handle (Gun Metal) | 1 |
| 2 | TH225-2 | Lower Handle (Gun Metal) | 1 |
| 3 | TH225-3 | Scraper Bar (Gun Metal) | 1 |
| 4 | THGR-PLUG | Plug | 1 |
| 5 | THGR-FIXING KIT | Fixing Kit | 1 |
| 6 | TH225-4 | Drum | 1 |
GJ HANDY & CO LTD USER WARRANTY POLICY
Users Statement of Warranty
Each new machine is warranted against defective material or assembly of material under normal usage. The warranty applies to the original purchaser and covers faulty parts and the labour involved in replacing and repairing those parts, which are of original manufacture.
Period of Warranty
All Webb, Handy Pro (Brushcutter & Long Handle Hedgecutter only) and Sanli domestic products. 2 years from the original date of sale to the first domestic user.
90 days from the original date of sale to the professional/commercial user.
90 days from the original date of sale when used for hire.
A reduced warranty period of 90 days applies to those items which are subject to normal wear and tear (e.g. wheels, tyres, cutter bars, cylinders, bottom blades, belts, cables, grass bags, spark plugs).
Engines as per the manufacturer’s warranty statement which will be supplied with the machine.
90 days from the original date of purchase for Replacement Spare Parts (unless normal wear & tear component, which are covered for 30 days).
All machines’ must be serviced within the first 12 months from the original date of purchase to comply with the warranty, failure to do so will invalidate the 2nd year of the warranty.
All Handy, Handy Pro (All others), Mowerland and Q-Garden domestic products.
1 year from the original date of sale to the first domestic user.
90 days from the original date of sale to the professional/commercial user.
90 days from the original date of sale when used for hire.
A reduced warranty period of 90 days applies to those items which are subject to normal wear and tear (e.g. wheels, tyres, cutter bars, cylinders, bottom blades, belts, cables, collection bags, spark plugs).
Engines as per the manufacturer’s warranty statement which will be supplied with the machine.
90 days from the original date of purchase for Replacement Spare Parts (unless normal wear & tear component, which are covered for 30 days).
All warranty repairs must be undertaken by an authorised service dealer. These dealers have been accredited by GJ Handy & Co Ltd and agree to only use genuine parts and follow our repair procedures.
Not covered by this warranty
- The warranty policy does not cover any depreciation or damages caused by ordinary wear, rusting or corrosion, lack of correct maintenance or operation, misuse, abuse, lack of transportation or accident.
- The warranty policy does not cover any costs necessary for the standard periodic maintenance services instructed by the operators manual, or service parts replacement which would include oil, filters, tyres, belts, brake linings, fuses, blades, seals and other service parts unless it can be proven that the item has evidence of faulty manufacture.
- The warranty policy will not cover failure or damage caused as a result of parts or accessories being modified without the written approval of GJ Handy & Co Ltd.
- The warranty policy will not cover the unit if non-genuine parts have been fitted and as a result damage has occurred to the unit.
- The warranty policy is non-transferable and is only applicable to the original purchaser.
Disclaimer
- This warranty is only a remedy for defect of products. GJ Handy & Co Ltd will never warranty in terms of the merchantability or the fitness for a particular purpose.
- No person is authorised to make any warranties, representations or promises, expressed or implied, on behalf of GJ Handy & Co Ltd, or to modify the terms conditions or limitation of this warranty policy in any way.
- Neither GJ Handy & Co Ltd nor any company affiliated with GJ Handy & Co Ltd shall be liable in any event or manner whatsoever for incidental or consequential damages or injuries, including, but not limited to, loss of crops, loss of profit, out of pocket expenses or profits, rental of substitute equipment or other commercial losses.
General
- Most warrantable failures show up within the first few weeks of use. These failures are usually straightforward and warranty assessment is relatively easy.
- Failures relating to cutter decks and belts need careful investigation, as the cause may not always be straightforward. Look for damage to blades and pulleys especially when the cutter belt or blade boss have snapped or cracked as this could be due to impact damage.
- Customers should always refer to the operator/instruction manual when any disputed problem arises, you will find most areas covered within the manual.
FOR SPARES OR SUPPORT OF YOUR HANDY PRODUCT, PLEASE CONTACT US:
TEL: 01793 333212
(MON – FRI 8.00AM TO 5.30PM EXCL. BANK HOLIDAYS)
EMAIL: [email protected]
To see our complete range of garden machinery and equipment visit: www.thehandy.co.uk
Distributed by Handy Distribution, Murdock Road, Dorcan, Swindon, SN3 5HY






















