Commercial Push and Tow Lawn Roller
Owner’s Manual
R76 2436 Commercial Push and Tow Lawn Roller

Spyker Spreaders
Contact us at 800.972.6130
www.spyker.com
IMPORTANT
This manual contains information for the safety of persons and property. Read it carefully before assembly and operation of the equipment!
SAFETY
PREPARATION:
- Know controls and how to stop safely.
- READ THE OWNER’S MANUAL before operating.
- Do not fill roller to a weight greater than you can handle and control comfortably.
- Keep the vehicle & attachment in good operating condition & keep safety devices in place.
- Keep all nuts, bolts & screws tight to be sure the equipment is in safe working condition.
- See tractor equipment owner’s manual for safe operation of the equipment and be sure that the tractor you are usingis capable of towing the roller.
WHILE IN USE:
- Model R76-2436 handle for transport only, do not push when full.
- Never use roller up and down hills; always work across hills and slopes.
- Use caution while turning, slowing or stopping.
- Avoid crossing rocky areas, gravel driveways or paved areas to prevent denting or puncturing the roller.
- Stay alert for holes in the terrain and other hidden hazards.
- Do not drive close to creeks,ditches and public highways.
- Watch out for traffic when crossing or near roadways.
- After striking a foreign object: The vehicle and attachment should be stopped and inspected for damage.
NOTE: The damage should be repaired before restarting and operating the equipment.
PROTECT YOURSELF AND OTHERS:
- Do not allow children to operate the vehicle.
- Do not allow adults to operate without proper instruction or without having read the owner’s manual.
- Do not carry passengers.
- Be sure the area is clear of pets and people, especially young children. Never assume they will remain where you last saw them. Stop using the roller if any enter the area.
- Always wear substantial footwear.
- Do not wear loose fitting clothing that can get caught in moving parts.
- Keep your eyes and mind on your tractor / attachment and area being covered. Do not let other interests distract you.
- To avoid accidents and / or injuries, please make sure there is no person around or behind the roller when use.
TO PREVENT INJURY, USE WITH CAUTION!
LIFTING HAZARD: When the roller is fully loaded with water, it weighs:
R28-1824 = 273 lbs R76-2436 = 704 lbs
MODEL R76-2436 HANDLE FORTRANSPORT ONLY, DO NOT PUSH WHEN FULL.
| Model | Capacity (gal.) | Weight Empty (lbs.) | Weight of water at Capacity (lbs.) | Combined Weight with Water (lbs.) | Max Combined Weight Rating (lbs.) |
| R28-1824 | 28 | 39 | 234 | 273 | 300 |
| R76-2436 | 76 | 70 | 634 | 704 | 770 |
| Materials other than water can be used to fill roller. DO NOT EXCEED THE MAX COMBINED WEIGHT RATING | |||||
DO NOT FILL ROLLER TO A WEIGHT GREATER THAN YOU CAN HANDLE AND CONTROL. DO NOT EXCEED TOWING CAPACITY.
Part List

Tools Required for Assembly
Wrenches or Deep Sockets:
- (x1) 1/4″
- (x1) 5/16″
- (x1) 7/16″
- (x2) 1/2″
- (x2) 9/16″
| Ref. | Description | Qty. | Part No. | |
| models > | R28-1824 | R76-2436 | ||
| 1 | Handle Weldment | 1 | 1019542-10 | |
| 2 | Frame Tubes | 2 | 1019540-10 | 1019541-10 |
| 3 | Plug, Tube End | 3 | 1019551 | |
| 5 | Hitch Plate, Top | 1 | 1019539-10 | |
| 6 | Hitch Plate, Bottom | 1 | 1019536-10 | |
| 7 | Roller Drum | 1 | 1019545 | 1019546 |
| 8 | Scraper Bar | 1 | 1019599 | 1019600 |
| 9 | D-Ring | 1 | 1019547-10 | |
| 10 | Handle Grip | 2 | 1019525 | |
| 11 | Tethered Plug | 1 | 1019524 | |
| 12 | Pillow Block Bearing | 2 | 1019534 | |
| 13 | Washer; Flat, 5/8″ | 4 | 45M2121P | |
| Ref. | Description | Qty. | Part No. |
| Bag, Hardware | 1 | 1019535 | |
| 4 | Spring Clip | 1 | 1019526 |
| 14 | Bolt; Hex, #6-32 x 5/8″ | 1 | 1019567 |
| 15 | Bolt; Carriage, 5/16″ x 2 | 2 | 11M1032P |
| 16 | Bolt; Hex Head, 5/16″ x 3 | 2 | 2M1048P |
| 17 | Bolt; Hex, 3/8-16 x 2-1/4″ | 1 | 1019565 |
| 18 | Bolt; Hex, 3/8-16 x 1-1/2″ | 4 | 1019566 |
| 19 | U-Bolt; 1/4″-20, 1-1/8″ | 2 | 1019569 |
| 20 | Washer; Flat, 1/4″ | 4 | 45M0909P |
| 21 | Washer; Flat, 5/16″ | 4 | 45M1111P |
| 22 | Washer; Flat, 3/8″ | 6 | 45M1313P |
| 23 | Nut; Nylon Lock, #6-32 | 1 | 1019568 |
| 24 | Nut; Nylon Lock, 1/4″-20 | 4 | B-4785 |
| 25 | Nut; Nylon Lock, 5/16″-18 | 4 | B-4786 |
| 26 | Nut; Nylon Lock, 3/8″-16 | 5 | B-4820 |
| 27 | Pin; Hitch, 1/2″ x 2-1/2″ | 1 | B-3861 |
| 28 | Cotter; Hairpin, 1/8″, #211 | 1 | D-146P |
| 29 | Spacer; Frame | 1 | R-1141-01 |
Hardware Identifier
DO NOT RETURN PRODUCT IF YOU ARE MISSING PARTS. 1 (800) 972-6130

Exterior circumference of washers can vary. These dimensions are a measurement of the internal diameter of the washer.
Assembly
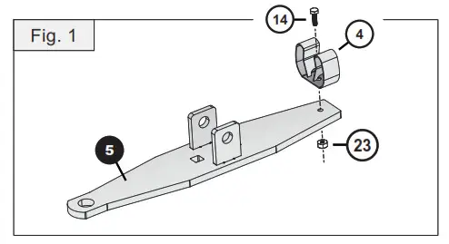
- On the end of the top hitch plate (5), align the spring clip (4) as illustrated below. Run the #6 Hex Bolt (14) through the spring clip and secure beneath the hitch plate with the #6 Nylon Lock Nut (23).
NOTE: After this point, do NOT tighten bolts fully until Step 7. You will need the ability to shift parts a little during the assembly. - Align the frame tubes (2) together and place the frame spacer (29) between them at the second set of bolt holes. See illustration. Add a flat washer (21) to each of the 5/16″ x 3″ bolts (16). Run these bolts through the frame tubes (2) and add an additional flat washer (21) to each bolt. Add a 5/16″ Nylon Lock Nut (25) on each bolt and loosely tighten until both frame tubes contact the spacer, leaving a gap for Step 3.

- Align the hitch plates (5 and 6) at the end of the frame tubes.
Run two 5/16 x 2″ carriage bolts (15) through the hitch plates as illustrated, straddling Bolt A. Loosely add two 5/16″ Nylon Lock Nuts (25) on each bolt.
NOTE: Bolts to be added will straddle the first bolt at the end of the tubes. (Noted here as Bolt “A”) - Align the tow tube (2) against the flat base of the roller bearing (12) as illustrated here.
Add a 3/8″ Flat Washer (22) to each of the 3/8″-16 x 1-1/2″ Hex Head Bolts (18) and run them through these two parts. Beneath the tow tube, loosely add a 3/8″ Nylon Lock Nut (26) to each.
- Align the scraper bar (8) parallel with the roller drum (but not touching), and across the frame tubes (2) as illustrated. The logo panel faces away from the roller drum. Slide the two U-Bolts (19) in place, straddling the frame tubes (2), running through the scraper bar (8).
Addd a 1/4″ flat washer (20) and add a 1/4″ nylon lock nut (24) to each end of the U-Bolt, but don’t tighten fully yet.
NOTE: Alternate tightening the nuts to ensure u-bolts are straight.
NOTE: Leave a small gap between the bar (8) and roller (7) ensuring the scraper bar does not touch the roller at any point in one full revolution.
- Insert the clevis pin (27) through the end of both hitch plates (5 and 6). Secure with a hairpin cotter (28). Secure the two carriage bolts (15) beneath the lower hitch plate.
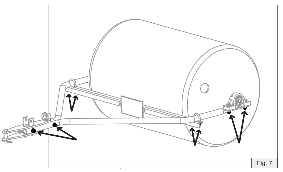
NOTE: The hitch pin can be stored upside own in the bottom hitch plate when using thepush handle. - Securing the Hardware
Fully secure all of the nuts and bolts that were added on Steps 3, 5 and 6. - Insert the handle (1) through D-ring (9) and then slide the handle through the upper hitch plate (5) tabs. Slide a 3/8″ washer (22) between the handle and hitchtabs. Run the 3/8″ x 2-1/4″ hex head bolt (17) throughand secure in place with a 3/8″ nylon lock nut (26).
NOTE: Tighten firmly to reduce play but do not overtighten as handle needs to rotate.
NOTE: Resting the handle in the spring clip may help.
- Attach the roller plug (11) by squeezing tether spring and insert into roller, rotating the plug in place.

Use and Care
OPERATION
- Refer to tractor manual to determine proper towing capacity of your Tractor / Rider.
- GROUND CONDITION IS VITAL TO GOOD LEVELING. Soil should be moist, but not muddy.
- Refer to your Tractor or Riding Mower owner’s manual for proper towing capacity and safe operation of your towing equipment. Towing / Stopping distances will be greatly affected by added weight of roller.
- The plug has an o-ring to create a seal and prevents the drum contents from leaking out.
- Fill the roller with the amount of water recommended for your tractor/rider. Screw in the plug andtighten securely.

- Please note that sand may be used in place of water with no risk of freezing.
TO PREVENT INJURY, USE WITH CAUTION: LIFTING HAZARD
When the roller is fully loaded with water, it weighs: R28-1824 = 273 lbs R76-2436 = 704 lbs
MODEL R76-2436 HANDLE FOR TRANSPORT ONLY, DO NOT PUSH WHENFULL.
| Model | Capacity (gal.) | Weight Empty (lbs.) | Weight of water at Capacity (lbs.) | Combined Weight with Water (lbs.) | Max Combined Weight Rating (lbs.) |
| R28-1824 | 28 | 39 | 234 | 273 | 300 |
| R76-2436 | 76 | 70 | 634 | 704 | 770 |
| Materials other than water can be used to fill roller. DO NOT EXCEED THE MAX COMBINED WEIGHT RATING | |||||
DO NOT FILL ROLLER TO A WEIGHT GREATER THAN YOU CAN HANDLE AND CONTROL.
DO NOT EXCEED TOWING CAPACITY.
Using the Handle:

MAINTENANCE
- The key to years of trouble-free service is to keep your Lawn Roller clean and dry.
- Should any rust develop, sand lightly and then paint the area with enamel.
- Periodically check all fasteners for tightness.
- Lubricate bearings monthly with general purpose lithium grease. Using the grease fittings on the bearings, ensure grease fitting is clean prior to lubricating. If used in a very dirty /wet environment, lubricate bearings weekly.
NOTE: It’s best to rotate axle while lubricating. Bearings are fully greased when grease comes out the bearing seals on the sides.
CAUTION! Avoid Damage.
Do not overload your tractor/rider. Roller fully loaded with water weighs:
R28-1824 = 273 lbs R76-2436 = 704 lbs
Do not fill roller to a weight greater than you can handle and control. Model R76-2436 Handle for transport only, do not push when full.
TRACTOR / RIDING MOWER SPEED
Rollers yield the best results when ground conditions are correct, and equipment is operating at less than 3 mph.
CALIBRATING YOUR TRACTOR TO 3 MPH: Measure a distance of 20 feet on a flat, level surface. Adjust tractor throttle and select a gear to cover this distance in 4.5 seconds.
WARNING: PINCH POINTS
Use caution between the scraper bar and roller, as well as the handle.
STORAGE

For longest life:
Drain the roller
Leave the plug out
Grease bearings prior to long term storage.
Refer to maintenance section.
If possible, hang the roller when not in use to prevent possibility of developing a flat spot. If a flat spot develops on the roller during storage, ensure that the roller is empty then leave out in the sun to warm and roll around to reduce flat area.
WARRANTY
1 YEAR LIMITED WARRANTY
This is warranted to the original purchaser only. Spyker will replace parts with defects in materials and workmanship, for a period of one year from the date of purchase. Spyker Spreaders will not be liable for any loss, damage or expense including, but not limited to, consequential or incidental damages, arising from the operation, condition or use of the item. The sole and exclusive remedy against Spyker Spreaders being thereplacement of the defective parts. This warranty gives you specific legal rights, and you
may also have other rights which vary from state to state.
This express warranty, which is applicable only to the original purchase, is in lieu of and excludes all other warranties, whether expressed or implied by operation of law or therwise, including any warranty of merchantability or fitness for particular purpose.
SPYKER SPREADERS
Jeffersonville, IN 47130 USA
Phone: 800.972.6130
www.spyker.com
If you have installation questions, are missing parts or need replacement parts, don’t go back to the store!
Please find your product serial number and model number, then contact our Customer Service department:

In North America and Canada
call Toll-Free: 800-972-6130
Chat online: www.spyker.com
Spyker Spreaders/A Brinly-Hardy Co.
NOTE: After this point, do NOT tighten bolts fully until Step 7. You will need the ability to shift parts a little during the assembly.
Run two 5/16 x 2″ carriage bolts (15) through the hitch plates as illustrated, straddling Bolt A. Loosely add two 5/16″ Nylon Lock Nuts (25) on each bolt.

NOTE: The hitch pin can be stored upside own in the bottom hitch plate when using thepush handle.
Fully secure all of the nuts and bolts that were added on Steps 3, 5 and 6.



















