TORO 22235 30in TurfMaster HDX Walk-Behind Lawn Mower

Ordering Replacement Parts
To order replacement parts, please supply the part number, the quantity, and the description of each part desired.
Understanding Reference Numbers
Each identified part in an illustration has a reference number. The reference number for a part also appears in the parts list, along with other information about the part.
This catalog uses two special reference number formats, one to indicate parts in a service assembly and another to indicate the quantity of a given part in an illustration.
Service Assembly Reference Numbers
Parts in service assemblies have reference numbers in the form a:b. The a represents the reference number of the entire service assembly and the b represents a sequential number unique to each part within the service assembly.
For example, a wheel assembly might be identified by reference number 6, the tire by 6:1, the valve by 6:2, and the wheel by 6:3. When you order the assembly identified by reference number 6, you receive all parts identified by reference numbers 6:1,6:2, and 6:3. However, you may also order any part individually. Reference numbers of this type appear in illustration and in parts lists.
Reference Numbers Indicating Quantity
In an illustration, if a reference number indicates more than one part, the reference number has the form nX y. The n represents the quantity of the part, the X is the multiplication symbol, and the y represents the reference number.
For example, in an illustration, the reference number 2X 37 means that two of the parts identified by reference number 37 are indicated.
Deck, Frame, and Chute Assembly
| Ref. | Part Number | Qty. | Description | Ref. | Part Number | Qty. | Description | |
| 1 | 136-5900 | 1 | Deck ASM | 21 | 116-6933 | 1 | Pin-Hinge | |
| 1:2 | 94-8072 | 1 | Decal-Danger | 22 | 116-6229 | 1 | Seal-Door | |
| 1:3 | 93-7009 | 1 | Decal-Danger | 23 | 32151-72 | 1 | Ring-Retaining | |
| 1:4 | 116-8528 | 1 | Decal | 24 | 116-7573 | 1 | Spring-Torsion, Cover | |
| 1:5 | 120-9570 | 2 | Decal-Warning | 25 | 116-8355 | 1 | Rear Door ASM | |
| 3 | 133-8107-01 | 1 | Frame | 25:2 | 116-7583 | 1 | Decal-Warning | |
| 4 | 133-8177 | 1 | Chute | 28 | 116-6966 | 1 | Clip-Seal | |
| 5 | 3230-5 | 2 | Bolt-CARR | 29 | 121-5793-03 | 1 | Door-Access | |
| 6 | 139-1674 | 1 | Decal | 30 | 121-5840 | 2 | Fastener | |
| 8 | 3296-29 | 2 | Nut-Lock, NI | 31 | 130-2352-01 | 1 | Baffle-Control | |
| 10 | 139-5406 | 1 | Cover-Belt | 32 | 104-8300 | 4 | Nut-HF, NI | |
| 11 | 126-4345 | 1 | Decal-Patent | 33 | 3230-23 | 4 | Bolt-CARR | |
| 12 | 46-8091 | 4 | Screw-HWH | 37 | 138-5332-01 | 1 | Cover-Frame | |
| 13 | 138-3224 | 1 | Bracket-Cable, Traction | 38 | 107069 | 1 | Clip | |
| 14 | 120-5225 | 1 | Plug-Mulch | 40 | 126-7151 | 1 | Plug-Button | |
| 15 | 121-5841 | 1 | Shield-Trailing | 42 | 140-1341 | 1 | Clip-Xmas Tree | |
| 16 | 49-2040 | 9 | Screw-HWHTF | 99 | 125-5072 | 1 | Frame Plate Kit | |
| 17 | 1-513658 | 2 | Bumper | 99:1 | 125-2542 | 1 | Plate-Frame | |
| 18 | 65-5100 | 1 | Handle-Door | 99:2 | 3229-3 | 3 | Screw-CARR | |
| 19 | 117-1092 | 2 | Screw-PTH | 99:3 | 3296-42 | 3 | Nut-Lock, NI | |
| 20 | 116-6351-03 | 1 | Bracket-Hinge |
Spindle and Blade Assembly
| Ref. | Part Number | Qty. | Description | Ref. | Part Number | Qty. | Description | |
| 1 | 121-9107 | 2 | Spindle ASM | 17 | 126-6453 | 1 | Bracket-Idler | |
| 1:2 | 120-7935 | 2 | Spacer | 18 | 120-7024 | 2 | Screw-Shoulder, HWH | |
| 1:3 | 136-5441 | 2 | Bearing-Ball | 19 | 120-3335 | 1 | Belt-Synchronous | |
| 2 | 139-1731 | 8 | Screw-Thd Roll, HWH | 20 | 120-5245-03 | 1 | Guide-Belt, Spindle | |
| 3 | 139-6612 | 1 | Shaft-Spindle | 21 | 120-5236 | 2 | Adapter-Blade | |
| 4 | 139-6613 | 1 | Shaft-Spindle | 22 | 121-5808 | 1 | Spring-Extension, Brake | |
| 5 | 121-9100 | 2 | Sprocket | 23 | 125-2466 | 2 | Bolt-Blade | |
| 6 | 130-6664 | 1 | Pulley-Brake, Spindle | 24 | 49-2040 | 2 | Screw-HWHTF | |
| 7 | 109-9505 | 2 | Washer-Spring | 25 | 120-7082 | 1 | Pulley-Idler | |
| 8 | 3296-19 | 2 | Nut-Hex | 26 | 322-6 | 1 | Screw-HH | |
| 9 | 322-13 | 1 | Screw-HH | 27 | 3296-47 | 1 | Nut-Lock,NI | |
| 10 | 136-5903 | 1 | Brake Arm ASM | 28 | 116-6358-03 | 2 | Blade-Rotary | |
| 10:4 | 131-0819 | 2 | Bushing-Sleeve | 29 | 121-2336 | 1 | Spring-Flat | |
| 11 | 5-4460 | 2 | Washer-Pivot | 30 | 131-0823 | 1 | Spacer-Brake | |
| 13 | 9114524 | 1 | Bolt-TAP, HH | 31 | 126-7151 | 2 | Plug-Button | |
| 14 | 3256-3 | 4 | Washer-Flat | 32 | 131-4504 | 1 | Adapter-Bore | |
| 15 | 3296-29 | 2 | Nut-Lock, NI | 33 | 133-1964 | 1 | Spacer | |
| 16 | 126-7890 | 1 | Pulleys And Idler Kit | 34 | 32144-57 | 2 | Screw |
Pulleys and Idler Assembly No. 126-7890
Ref. Part Number Qty. Description Ref. Part Number Qty. Description
| 1 | 126-5880 | 2 | Pulley-Idler, Flat | 6 | 126-6453 | 1 | Bracket-Idler | |
| 2 | 126-7151 | 2 | Plug-Button | 7 | 120-7024 | 2 | Screw-Shoulder, HWH | |
| 3 | 131-4504 | 1 | Adapter-Bore | 8 | 9114524 | 1 | Bolt-TAP, HH | |
| 4 | 3256-3 | 3 | Washer-Flat | 9 | 3296-29 | 1 | Nut-Lock, NI | |
| 5 | 32144-57 | 2 | Screw | 10 | 121-2336 | 1 | Spring-Flat |
Side Discharge Chute Assembly
| Ref. | Part Number | Qty. | Description | Ref. | Part Number | Qty. | Description | |
| 1 | 322-38 | 1 | Screw-HH 5/16-18 X 4 1/2 | 7:3 | 121-9196 | 1 | Bracket-Chute | |
| 2 | 121-9195 | 1 | Hinge | 7:4 | 46-8560 | 2 | Screw-HHF 1/4-20 X 1/2 | |
| 3 | 137-4795 | 2 | Screw | 7:5 | 112-6416 | 1 | Bracket-Cover | |
| 4 | 125-2478 | 1 | Spacer | 7:6 | 94-4496 | 2 | Screw-PPH | |
| 5 | 121-9193 | 1 | Spring-Torsion | 7:7 | 3230-18 | 2 | Bolt-Carriage 5/16-18 X 5/8 | |
| 6 | 125-5093-01 | 1 | Cover-Discharge | 7:8 | 104-8300 | 2 | Nut-Nyloc 5/16-18 Flag | |
| 7 | 116-9754 | 1 | Side Discharge Chute ASM | 8 | 104-8300 | 1 | Nut-Nyloc 5/16-18 Flag | |
| 7:2 | 116-9752-03 | 1 | Guard-Chute |
Grass Bag Assembly
- Ref. Part Number Qty. Description
- 121-5775
- 116-5596-03
- 1 Grass Bag ASM
- 1 Frame-Bag
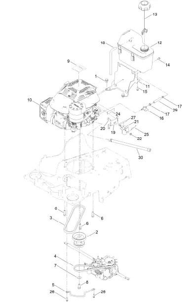
Engine and Fuel Tank Assembly
| Ref. | Part Number | Qty. | Description | Ref. | Part Number | Qty. | Description | |
| 1 | 110-9380 | 2 | Screw-HWH | 15 | 46-8091 | 2 | Screw-HWH | |
| 2 | 137-9181 | 1 | Pulley-Engine | 16 | 1-603770 | 1 | Valve-Fuel | |
| 3 | 121-5765 | 1 | V-Belt | 17 | 2412-98 | 2 | Clamp-Hose | |
| 4 | 133-8151 | 1 | Belt-V | 18 | 115-0962 | 1 | Hose-Vent, Canister | |
| 5 | 138-5331-03 | 1 | Rod-Guide, Belt | 19 | 138-5386-03 | 1 | Bracket-Throttle | |
| 6 | 95-1727 | 3 | Screw-Taptite | 20 | 3229-30 | 1 | Screw-CARR | |
| 7 | 3290-465 | 1 | Washer-Belleville | 21 | 130-9655 | 1 | Control-Throttle | |
| 8 | 3212-4 | 1 | Screw-HH | 22 | 104-7201 | 1 | Nut-HF, NI | |
| 9 | 139-1807 | 1 | Decal-Toro | 24 | 116-9313 | 1 | Decal-Warning, Engine | |
| 10 | 1 | Engine-Kohler Cv224 ● ■ | 25 | 138-5387 | 1 | Wire-Link | ||
| 11 | 137-9180-03 | 1 | Tank Mount ASM | 26 | 49-2040 | 2 | Screw-HWHTF | |
| 12 | 114-0280 | 1 | Tank-Fuel | 27 | 130-9656 | 1 | Decal-Throttle, Choke | |
| 13 | 137-4127 | 1 | Cap-Fuel | 29 | 109-0304 | 1 | Hose-Fuel | |
| 14 | 116-8929 | 1 | Screw-HWH | 30 | 117-1261 | 1 | Hose-Drain, Oil |
Front Bumper and Wheel Assembly
| Ref. | Part Number | Qty. | Description | Ref. | Part Number | Qty. | Description | |
| 1 | 104-8300 | 11 | Nut-HF, NI | 12 | 120-9465 | 1 | Spring-Torsion | |
| 2 | 121-5781 | 4 | Bushing-Front | 13 | 3274-55 | 1 | Screw-HSBH | |
| 3 | 321-7 | 4 | Screw-HH | 14 | 3296-42 | 4 | Nut-Lock, NI | |
| 4 | 104-8301 | 2 | Nut-HF, NI | 15 | 3230-23 | 10 | Bolt-CARR | |
| 5 | 139-8968 | 1 | Front Axle ASM | 16 | 94-2413 | 1 | Nut-U | |
| 6 | 133-2639 | 2 | Wheel | 17 | 121-2337 | 1 | Spring-Torsion | |
| 6:2 | 133-2603 | 2 | Bearing-Ball | 18 | 136-9077 | 1 | Decal-HOC, Front | |
| 6:3 | 125-1077 | 1 | Spacer | 19 | 125-2486 | 1 | Spacer | |
| 7 | 139-6616 | 1 | Front Bumper ASM | 20 | 121-9187-03 | 1 | Shield | |
| 7:2 | 139-1675 | 1 | Decal-Turfmaster HDX | 21 | 117-0871 | 1 | Decal | |
| 7:3 | 116-7581 | 1 | Decal-Warning | 22 | 3256-22 | 2 | Washer-Flat | |
| 8 | 121-9168-03 | 2 | Brace | 23 | 321-8 | 2 | Screw-HH | |
| 9 | 131-9690 | 1 | Mandrell-Spring | 24 | 104-7201 | 2 | Nut-HF, NI | |
| 10 | 94-5780 | 1 | Screw-HWH | 25 | 323-13 | 2 | Screw-HH | |
| 11 | 139-1744 | 1 | Lock-Height, Adj | 26 | 74-1671 | 2 | Spacer-Cover, Wheel |
Transmission and HOC Assembly
| Ref. | Part Number | Qty. | Description | Ref. | Part Number | Qty. | Description | |
| 1 | 137-9172-03 | 1 | HOC Plate Assembly | 25 | 104-8300 | 4 | Nut-HF, NI | |
| 2 | 137-9173-03 | 1 | HOC Plate Assembly | 26 | 3230-2 | 1 | Bolt-CARR | |
| 3 | 701243 | 7 | Screw-Thd Roll, HWH | 27 | 137-9185 | 2 | Cover-Bearing | |
| 4 | 137-9183 | 2 | Bearing Retainer ASM | 28 | 133-2670 | 1 | Transmission-Mv702 | |
| 5 | 137-4779 | 4 | Bearing-Ball, Custom | 28:1 | 139-1837 | 1 | Pulley & Fan Repair Kit | |
| 6 | 136-9111 | 2 | Gear-Pinion, 15T | 28:2 | 139-1842 | 1 | Idler Pulley Repair Kit | |
| 7 | 32151-61 | 2 | Ring-Retaining | 28:2:3 | 139-1845 | 1 | Spring-Tension, Belt | |
| 8 | 3230-23 | 1 | Bolt-CARR | 28:3 | 139-8974 | 1 | Clutch Lever Repair Kit | |
| 9 | 136-7095 | 2 | Cover-Wheel | 29 | 120-7950 | 2 | Screw-Torx | |
| 10 | 133-8104-03 | 1 | Bracket-Transmission, Front | 30 | 36-4780 | 2 | Washer-Plain | |
| 11 | 3230-4 | 2 | Bolt-CARR | 31 | 3296-47 | 1 | Nut-Lock,NI | |
| 12 | 121-2368 | 1 | Spring-Torsion | 32 | 138-5394-03 | 1 | Bracket-Mount, Brake | |
| 13 | 104-8301 | 2 | Nut-HF, NI | 33 | 138-5398 | 1 | Caliper-Brake, Disc | |
| 14 | 125-2540 | 1 | Washer-Plain | 33:1 | 139-8999 | 2 | Pad-Brake, Disc ● | |
| 15 | 137-9174 | 2 | 10.5 In. Wheel ASM | 34 | 32144-4 | 2 | Screw-HWH | |
| 17 | 121-2397 | 1 | Bracket | 35 | 139-8990 | 1 | Hub-Rotor | |
| 18 | 139-8967 | 1 | Rear Axle ASM | 36 | 933156 | 1 | Pin-Roll | |
| 19 | 116-7127 | 1 | Decal-HOC, Rear | 37 | 138-5396 | 1 | Disc-Rotor | |
| 20 | 52-2860 | 1 | Washer | 38 | 139-8960 | 3 | Screw-Torx PH Thd Roll | |
| 21 | 119-2267 | 1 | Screw-Shoulder, BHTF | 39 | 609471 | 1 | Screw | |
| 22 | 120-9471 | 1 | Bolt-Shoulder | 40 | 49-2040 | 2 | Screw-HWHTF | |
| 23 | 139-1737 | 1 | Lock-Height, Adj | 41 | 140-1262-01 | 1 | Bracket-Support, Cable | |
| 24 | 138-5393 | 1 | Spring-Extension |
Handle Assembly
| Ref. | Part Number | Qty. | Description | Ref. | Part Number | Qty. | Description | |
| 1 | 137-4767-03 | 1 | Handle | 18 | 139-1817 | 1 | Washer-Stepped | |
| 2 | 116-8208-03 | 2 | Support-Handle | 19 | 139-1819 | 1 | Lever-Brake | |
| 3 | 116-7230 | 4 | Screw-HHF | 20 | 117-9965 | 1 | Spacer | |
| 4 | 3230-4 | 2 | Bolt-Carriage 5/16-18 X 1 | 21 | 32144-1 | 1 | Screw-HWH #10-24 X 1/2 | |
| 1/2 | Taptite | |||||||
| 5 | 104-8300 | 3 | Nut-Nyloc 5/16-18 Flg | 22 | 1-807512 | 2 | Bolt-Carriage 1/4-20 X 3/4 | |
| 6 | 139-1815 | 1 | Bail-Traction, Coated | Short Neck | ||||
| 7 | 137-4810 | 1 | Bail-BBC, Coated | 23 | 3230-7 | 1 | Bolt-Carriage 5/16-18 X 2 | |
| 8 | 42-3560 | 3 | Bolt-Shoulder | 1/4 | ||||
| 9 | 104-7201 | 8 | Nut-Nyloc 1/4-20 Flg | 24 | 116-2690 | 1 | Bushing-Stepped | |
| 10 | 140-3985 | 1 | Screw-Handle | 25 | 109-9318 | 1 | Spring-Lever, BBC | |
| 11 | 137-4759 | 1 | Cable-BBC | 26 | 116-2998 | 1 | Lever-BBC | |
| 12 | 137-4807 | 1 | Cable-Traction | 27 | 3229-5 | 2 | Screw-CARR | |
| 13 | 3256-1 | 1 | Washer-Flat | 28 | 106-6801 | 1 | Anchor-Cable | |
| 14 | 106-7260 | 2 | Washer-Curved | 29 | 138-5399 | 1 | Cable-Brake, Parking | |
| 15 | 139-1818-03 | 1 | Mount-Lever, Brake | 30 | 139-5405 | 1 | Decal-Brake, Parking | |
| 16 | 139-1813 | 1 | Link-Actuation, Brake | 99 | 614249 | 4 | Tie-Cable ● | |
| 17 | 138-5368 | 1 | Spacer |
Attachments and Accessories
For 22235 30in TurfMaster HDX Walk-Behind Lawn Mower
- Product Name
- Model/Part
- Mulching Kit.…………………………………………………………………………………………………………………………………………………. 125-5064
- Atomic Blade 15.4in..…………………………………………………………………………………………………………………………….. 120-9500-03
- Idler Pulley Kit………………………………………………………………………………………………………………………………………………. 126-7890


























