TORO 21356 21-Inch Smartstow Self-Propel High Wheel Mower Owner’s Manual
For assistance, please see www.Toro.com/support for instructional videos or contact 1-888-384-9939 before returning this product.
WARNING
CALIFORNIA Proposition 65 Warning
The power cord on this product contains lead, a chemical known to the State of California to cause birth defects or other reproductive harm. Wash hands after handling.
Use of this product may cause exposure to chemicals known to the State of California to cause cancer, birth defects, or other reproductive harm.
Introduction
This rotary-blade, walk-behind lawn mower is intended to be used by residential homeowners. It is designed primarily for cutting grass on well-maintained lawns on residential properties. It is not designed for cutting brush or for agricultural uses.
It is designed to use Toro Flex-Force lithium-ion battery pack Models 88660 (provided with Model 21356); it can also use battery pack Models 88620, 88625, 88640, 88650, or 88675. These battery packs are designed to be charged only by battery charger Models 88602 (provided with Model 21356), 88605, or 88610. Using these products for purposes other than their intended use could prove dangerous to you and bystanders.
Model 21356T does not include a battery or a charger.
Read this information carefully to learn how to operate and maintain your product properly and to avoid injury and product damage. You are responsible for operating the product properly and safely.
Visit www.Toro.com for more information, including safety tips, training materials, accessory information, help finding a dealer, or to register your product.
Whenever you need service, genuine the manufacturer parts, or additional information, contact an Authorized Service Dealer or the manufacturer Customer Service and have the model and serial numbers of your product ready. Figure 1 identifies the location of the model and serial numbers on the product. Write the numbers in the space provided.
Important: With your mobile device, you can scan the QR code on the serial number decal (if equipped) to access warranty, parts, and other product information.
- Model and serial number location.

Model No. _______________________
Serial No. ________________________
This manual identifies potential hazards and has safety messages identified by the safety-alert symbol (Figure 2), which signals a hazard that may cause serious injury or death if you do not follow the recommended precautions.
Figure 2
Safety-alert symbol
This manual uses 2 words to highlight information. Important calls attention to special mechanical information and Note emphasizes general information worthy of special attention.
IMPORTANT SAFETY INSTRUCTIONS
WARNING—When using an electric machine, always read and follow basic safety warnings and instructions to reduce the risk of fire, electric shock, or injury, including the following:
Training
- The operator of the machine is responsible for any accidents or hazards occurring to others or their property.
- Do not allow children to use or play with the machine, battery pack, or the battery charger; local regulations may restrict the age of the operator.
- Do not allow children or untrained people to operate or service this device. Allow only people who are responsible, trained, familiar with the instructions, and physically capable to operate or service the device.
- Before using the machine, battery pack, and battery charger, read all the instructions and cautionary markings on these products.
- Become familiar with the controls and proper use of the machine, battery pack, and battery charger.
Preparation
- Keep bystanders, especially children and pets, out of the operating area.
- Do not operate the machine without all guards and safety devices, such as deflectors and grass catchers, in place and functioning properly on the machine.
- Inspect the area where you will use the machine and remove all objects that could interfere with the operation of the machine or that the machine could throw.
- Before using the machine, ensure that the blade, blade bolt, and blade assembly are not worn or damaged. Replace any damaged or unreadable labels.
- Use only the battery pack specified by Toro. Using other accessories and attachments may increase the risk of injury and fire.
- Plugging the battery charger into an outlet that is not 120 V can cause a fire or electric shock. Do not plug the battery charger into an outlet other than 120 V. For a different style of connection, use an attachment plug adapter of the proper configuration for the power outlet if needed.
- Do not use a damaged or modified battery pack or battery charger, which may exhibit unpredictable behavior that results in fire, explosion, or risk of injury.
- If the supply cord to the battery charger is damaged, contact an Authorized Service Dealer to replace it.
- Do not use non-rechargeable batteries.
- Charge the battery pack with only the battery charger specified by Toro. A charger suitable for 1 type of battery pack may create a risk of fire when used with another battery pack.
- Charge the battery pack in a well-ventilated area only.
- Do not expose a battery pack or battery charger to fire or to temperatures higher than 68°C (154°F).
- Follow all charging instructions and do not charge the battery pack outside of the temperature range specified in the instructions. Otherwise, you may damage the battery pack and increase the risk of fire.
- Dress properly—Wear appropriate clothing, including eye protection; long pants; substantial, slip-resistant footwear (not barefoot or wearing sandals); and hearing protection. Tie back long hair and do not wear loose clothing or loose jewelry that can get caught in moving parts. Wear a dust mask in dusty operating conditions. Use of rubber gloves is recommended.
Operation
- Contact with the moving blade will cause serious injury. Keep your hands and feet away from the cutting area and all moving parts of the machine. Keep clear of any discharge opening.
- Using this machine for purposes other than its intended use could prove dangerous to you and bystanders.
- Disengage the self-propel drive (if equipped) before starting the machine.
- Do not tilt the appliance when starting the motor.
- Prevent unintentional starting—Ensure that the electric-start button is removed from the ignition before connecting the battery pack and handling the machine.
- Use your full attention while operating the machine. Do not engage in any activity that causes distractions; otherwise, injury or property damage may occur.
- When you release the blade-control bar, the motor should shut off and the blade should stop within 3 seconds. If not, stop using your machine immediately and contact an Authorized Service Dealer.
- Stop the machine, remove the electric-start button, remove the battery pack from the machine, and wait for all movement to stop before adjusting, servicing, cleaning, or storing the machine.
- Remove the battery pack and electric-start button from the machine whenever you leave it unattended or before changing accessories.
- Do not force the machine—Allow the machine to do the job better and safer at the rate for which it was designed.
- Stay alert—Watch what you are doing and use common sense when operating the machine. Do not use the machine while ill, tired, or under the influence of alcohol or drugs.
- Operate the machine only in good visibility and appropriate weather conditions. Do not operate the machine when there is the risk of lightning.
- Use extreme caution when reversing or pulling the machine toward you.
- Keep proper footing and balance at all times, especially on slopes. Mow across the face of slopes, never up and down. Use extreme caution when changing directions on slopes. Do not mow exceedingly steep slopes. Walk, never run with the machine.
- Do not direct the discharge material toward anyone. Avoid discharging material against a wall or obstruction; material may ricochet toward you. Stop the blade(s) when crossing surfaces other than grass.
- Watch for holes, ruts, bumps, rocks, or other hidden objects. Uneven terrain could cause you to lose your balance or footing.
- Wet grass or leaves can cause serious injury if you slip and contact the blade. Avoid mowing in wet conditions or when it is raining.
- If the machine strikes an object or starts to vibrate, immediately shut off the machine, remove the electric-start button, remove the battery pack, and wait for all movement to stop before examining the machine for damage. Make all necessary repairs before resuming operation.
- Stop the machine and remove the electric-start button before loading the machine for hauling.
- Under abusive conditions, the battery pack may eject liquid; avoid contact. If you accidently come into contact with the liquid, flush with water. If the liquid contacts your eyes, seek medical help. Liquid ejected from the battery pack may cause irritation or burns.
Maintenance and Storage
- Stop the machine, remove the electric-start button, remove the battery pack from the machine, and wait for all movement to stop before adjusting, servicing, cleaning, or storing the machine.
- Do not attempt to repair the machine except as indicated in the instructions. Have an Authorized Service Dealer perform service on the machine using identical replacement parts.
- Wear gloves and eye protection when servicing the machine.
- Sharpen a dull blade on both edges to maintain balance. Clean the blade and ensure that it is balanced.
- Replace the blade if it is bent, worn, or cracked. An unbalanced blade causes vibration, which could damage the motor or cause personal injury.
- When servicing the blade, be aware that the blade can still move even though the power source is off.
- Check the grass collection bag frequently for deterioration or wear, and replace a worn bag with a Toro [replacement] bag.
- For best performance, use only genuine Toro replacement parts and accessories. Other replacement parts and accessories could be dangerous, and such use could void the product warranty.
- Maintain the machine—Keep cutting edges sharp and clean for the best and safest performance. Keep handles dry, clean, and free from oil and grease. Keep guards in place and in working order. Keep blades sharp. Use identical replacement blades only.
- Check the machine for damaged parts—If there are damaged guards or other parts, determine whether the machine will operate properly. Check for misaligned and binding moving parts, broken parts, mounting, and any other condition that may affect its operation. Unless indicated in the instructions, have an Authorized Service Dealer repair or replace a damaged guard or part.
- When the battery pack is not in use, keep it away from metal objects such as paper clips, coins, keys, nails, and screws that can make a connection from 1 terminal to another. Shorting the battery terminals may cause burns or a fire.
- Check the blade and motor mounting bolts frequently for tightness.
- When you are not using the machine, store it indoors in a dry, secure place out of the reach of children.
- CAUTION— A mistreated battery pack may present a risk of fire or chemical burn. Do not disassemble the battery pack. Do not heat the battery pack above 68°C (154°F) or incinerate it. Replace the battery pack with a genuine Toro battery pack only; using another type of battery pack may cause a fire or explosion. Keep battery packs out of the reach of children and in the original packaging until you are ready to use them.
- Do not dispose of the battery in a fire. The cell may explode. Check with local codes for possible special disposal instructions.
Safety and Instructional Decals
Safety decals and instructions are easily visible to the operator and are located near any area of potential danger. Replace any decal that is damaged or missing.
- Warning—read the Operator’s Manual.
- Thrown object hazard—keep bystanders away.
- Cutting/dismember hazard, mower blade—remove the key and read the Operator’s Manual before performing maintenance.
- Cutting/dismember hazard, mower blade—stay away from moving parts; keep all guards and shields in place.
- Cutting/dismember hazard, mower blade—do not mow up or down slopes; only mow across slopes; shut off the engine, wait for moving parts to stop, and pick up debris before mowing; look behind you when mowing in reverse.

Model 88660
- Read the Operator’s Manual.
- Keep away from open fire or flames.
- Do not expose to rain.
WARNING: Cancer and Reproductive Harm – www.P65Warnings.ca.gov. For more information, please visit www.ttcoCAProp65.com
- The battery pack is charging.
- The battery pack is fully charged.
- The battery pack is over or under the appropriate temperature range.
- Battery pack charging fault.

Battery Status
- Read the Operator’s Manual.
- To start the machine, squeeze the bar to the handle and press the button.
- To shut off the machine, release the bar.
Setup
Important: The battery pack is not fully charged when it is purchased. Before using the machine for the first time, refer to Charging the Battery Pack.
Mounting the Battery Charger (Optional)
Parts needed for this procedure
Procedure
If desired, mount the battery charger securely on a wall using the wall-mount key holes on the back of the charger.
Mount it indoors (such as a garage or other dry place), near a power outlet, and out of the reach of children.
Refer to Figure 3 for assistance in mounting the charger.
Slide the charger over the appropriately positioned hardware to secure the charger in place (hardware not included).
Assembling the Grass Bag
No Parts Required
Procedure
Unfolding the Handle
No Parts Required
Procedure
WARNING
Unfolding the handle improperly can damage the cables, causing an unsafe operating condition.
- Do not damage the cable(s) when folding or unfolding the handle.
- Ensure that the cable(s) are routed to the outside of the handle.
- If a cable is damaged, contact an Authorized Service Dealer.
Important: Remove and discard the protective plastic sheet that covers the motor and any other plastic or wrapping on the machine.
- Unlock the handle locks (A of Figure 5).
- Move the handle rearward to the operating position (B of Figure 5).
- Hold the handle while engaging the handle locks to avoid pinching your hands.
- Engage the handle lock until the pin clicks in place to lock the handle into the operating position (C of Figure 5).

Product Overview

- Blade-control bar
- Electric-start button
- Handle lock (2)
- Rear deflector
- Battery compartment
- Self-propel drive bar
- Grass bag
- Cutting-height lever (2)

Specifications
Battery Pack
| Model | 88660 | 88675 |
| Battery pack capacity | 6.0 Ah 324 Wh | 7.5 Ah 405 Wh |
| Battery manufacturer rating = 60V maximum and 54V nominal. Actual voltage varies with load. | ||
Battery Charger
| Model | 88602 |
| Type | 60V MAX Lithium-Ion Battery Charger |
| Input | 120V AC 50/60Hz Max 2.0A |
| Output | 60V MAX DC 2.0A |
Appropriate Temperature Ranges
| Charge/store the battery pack at | 5°C (41°F) to 40°C (104°F)* |
| Use the battery pack at | -30°C (-22°F) to 49°C (120°F)* |
| Use the machine at | 0°C (32°F) to 49°C (120°F)* |
*Charging time will increase if you do not charge the battery pack within this range.
Store the machine, battery pack, and battery charger in an enclosed clean, dry area.
Attachments/Accessories
A selection of Toro approved attachments and accessories may be available for use with the machine to enhance and expand its capabilities. Contact your Authorized Service Dealer or authorized Toro distributor or go to www.Toro.com for a list of all approved attachments and accessories. To ensure optimum performance and continued safety certification of the machine, use only genuine Toro replacement parts and accessories. Replacement parts and accessories made by other manufacturers could be dangerous, and such use could void the product warranty.
Operation
Note: Determine the left and right sides of the machine from the normal operating position.
Before Operation
Installing the Battery Pack
Important: Use the battery pack only in temperatures that are within the appropriate range; refer to Specifications.
- Make sure that the vents on the battery are clear of any dust and debris.
- Lift up the battery-compartment lid (A of Figure 8).
- Line up the cavity in the battery pack with the tongue on the machine and slide the battery pack into the compartment until it locks into place (B of Figure 8).
- Close the battery-compartment lid (C of Figure 8).

Note: If the battery-compartment lid does not close completely, the battery is not fully installed.
Adjusting the Cutting Height
WARNING
Adjusting the height-of-cut could bring your hands into contact with a moving blade and result in serious injury.
- Shut off the motor, remove the battery, and wait for all moving parts to stop before adjusting the cutting height.
- Do not put your fingers under the housing when adjusting the cutting height.
Adjust the cutting height as desired. Set all wheels to the same cutting height (Figure 9)
During Operation
Starting the Machine
- Ensure that the battery pack is charged and installed in the machine; refer to Installing the Battery Pack
- Insert the electric-start button into the electric starter switch (A of Figure 10).
- Squeeze the blade-control bar and hold it to the handle (B of Figure 10).
- Press the electric-start button and keep it pressed until the motor starts (C of Figure 10).

Using the Self-Propel Drive
- To engage the self-propel drive, pull the self-propel-drive bar to the handle and hold it (Figure 11).

Note: The maximum self-propel-drive speed is fixed. To reduce the speed, increase the space between the self-propel-drive bar and the handle. - To disengage the self-propel-drive, release the self-propel drive bar.
Note: To reduce the ground speed, increase the space between the self-propel drive bar and the handle.
Recycling the Clippings
Your machine comes from the factory ready to recycle the grass and leaf clippings back into the lawn.
If the grass bag is on the machine, remove it before recycling the clippings. Refer to Removing the Grass Bag.
Bagging the Clippings
Use the grass bag when you want to collect grass and leaf clippings from the lawn.
Installing the Grass Bag
- Lift up the rear deflector (A of Figure 12).
- Insert the rod ends of the grass bag into the notches in the handle brackets (B of Figure 12).
- Allow the rear deflector to rest on the bag.

Removing the Grass Bag
To remove the bag, reverse the steps in Installing the Grass Bag.
Shutting Off the Machine
- Release the blade-control bar (A of Figure 13).
- Remove the electric-start button from the electric starter (B of Figure 13).
- Remove the battery pack; refer to Removing the Battery Pack from the Machine.

Note: Whenever you are not using the machine, remove the battery pack.
Removing the Battery Pack from the Machine
- Lift up the battery-compartment lid.
- Press the battery-pack latch to release the battery pack and remove the battery pack.
- Close the battery-compartment lid.
Operating Tips
General Mowing Tips
- Inspect the area where you will use the machine and remove all objects that the machine could throw.
- Avoid striking solid objects with the blade. Never deliberately mow over any object.
- If the machine strikes an object or starts to vibrate, immediately shut off the engine, wait for all moving parts to stop, disconnect the wire from the spark plug, and examine the machine for damage.
- For best performance, install a new Toro blade before the cutting season begins or when necessary.
Cutting Grass
- Cut only about a third of the grass blade at a time. For improved quality of cut, runtime, and bagging, cut grass at a higher height of cut.
- Do not cut below 51 mm (2 inches) unless the grass is sparse or it is late fall when grass growth begins to slow down.
- When cutting grass over 15 cm (6 inches) tall, mow at the highest cutting height setting and walk slower; then mow again at a lower setting for the best lawn appearance. If the grass is too long, the machine may plug and cause the motor to stall.
- Wet grass and leaves tend to clump on the yard and can cause the machine to plug or the motor to stall. Avoid mowing in wet conditions.
- Be aware of a potential fire hazard in very dry conditions, follow all local fire warnings, and keep the machine free of dry grass and leaf debris.
- Alternate the mowing direction. This helps disperse the clippings over the lawn for even fertilization.
- If the finished lawn appearance is unsatisfactory, try 1 or more of the following:
- Replace the blade or have it sharpened.
- Walk at a slower pace while mowing.
- Raise the cutting height on your machine.
- Cut the grass more frequently.
- Overlap cutting swaths instead of cutting a full swath with each pass.
Cutting Leaves
- After cutting the lawn, ensure that half of the lawn shows through the cut leaf cover. You may need to make more than a single pass over the leaves.
- If there are more than 13 cm (5 inches) of leaves on the lawn, mow at a higher cutting height and then again at the desired cutting height.
- Slow down your mowing speed if the machine does not cut the leaves finely enough.
After Operation
Charging the Battery Pack
Important: The battery pack is not fully charged when you purchase it. Before using the tool for the first time, place the battery pack in the charger and charge it until the LED display indicates the battery pack is fully charged. Read all safety precautions.
Important: Charge the battery pack only in temperatures that are within the appropriate range; refer to Specifications.
Note: At any time, press the battery-charge-indicator button on the battery pack to display the current charge (LED indicators).
- Ensure that the vents on the battery and charger are clear of any dust and debris.

- Battery pack cavity.
- Battery pack venting areas.
- Battery pack terminals
- Battery-charge-indicator button
- LED indicators (current charge)
- Handle
- Charger LED indicator light
- Charger venting area
- Line up the cavity in the battery pack (Figure 14) with the tongue on the charger.
- Slide the battery pack into the charger until it is fully seated (Figure 14).
- To remove the battery pack, slide the battery backward out of the charger.
- Refer to the following table to interpret the LED indicator light on the battery charger.
Indicator light | Indicates |
| Off | No battery pack inserted |
Green blinking | Battery pack is charging |
| Green | Battery pack is charged |
Red | Battery pack and/or battery charger is over or under the appropriate temperature range |
| Red blinking | Battery pack charging fault* |
Important: The battery can be left on the charger for short periods between uses.
If the battery will not be used for longer periods, remove the battery from the charger; refer to Storage.
Cleaning under the Machine
Service Interval: After each use
For best results, clean under the machine soon after you have completed mowing.
- Lower the machine to its lowest cutting-height setting.
- Move the machine onto a paved level surface.
- With the motor running and the blade engaged, spray a stream of water in front of the right, rear wheel (Figure 15).

Note: The water will splash into the path of the blade, cleaning out the clippings. - When no more clippings come out, stop the water and move the machine to a dry area.
- Run the motor for a few minutes to dry the underside of the machine.
Cleaning under the Machine in the Vertical-Stow Position
- Set the machine in the vertical-stow position; refer to Storing the Machine in the Vertical-Stow Position.
- Wash out the clippings from under the machine.
Folding the Handle
WARNING
Folding or unfolding the handle improperly can damage the cables, causing an unsafe operating condition.
- Do not damage the cables when folding or unfolding the handle.
- If a cable is damaged, contact an Authorized Service Dealer.
- Remove the electric-start button (Figure 16).

- Remove the battery from the machine.
- Hold the handle while disengaging the handle locks to avoid pinching your hands.
- Disengage the handle locks until you can move the upper handle freely.
- Fold the handle forward to the fully forward position as shown in Figure 18.

Important: Route the cables to the outside of the handle locks as you fold the handle. - To unfold the handle, refer to 3 Unfolding the Handle.
Storing the Machine in the Vertical-Stow Position
You can store your machine in the vertical position to minimize storage space.
WARNING
Folding or unfolding the handle improperly can damage the cables, causing an unsafe operating condition.
- Do not damage the cables when folding or unfolding the handle.
- If a cable is damaged, contact an Authorized Service Dealer.
- Remove the electric-start button and battery from the machine.
- Ensure that the cutting-height setting on the machine is 44 mm (1-3/4 inches) or higher; if it is not, raise it; refer to Adjusting the Cutting Height.
- Disengage the handle locks (Figure 17).

- Fold the handle fully forward.
Important: Route the cables to the outside of the handle locks as you fold the handle. - Engage the handle locks.
- Lift the front of the machine by the handle and move it into a storage space (Figure 18).
Maintenance
Remove the electric-start button and battery pack from the machine before maintaining or cleaning the machine.
Use only the manufacturer’s recommended replacement parts and accessories.
Inspect and maintain the machine regularly. Have the machine repaired only by an Authorized Service Dealer.
Lubricating the Machine
You do not need to lubricate the machine; all the bearings have been lubricated at the factory for the life of the machine.
Replacing the Blade
Service Interval: Yearly
Important: You will need a torque wrench to install the blade properly. If you do not have a torque wrench or are uncomfortable performing this procedure, contact an Authorized Service Dealer.
If the blade is damaged or cracked, replace it immediately. If the blade edge is dull or nicked, have it sharpened and balanced, or replace it.
WARNING
When servicing the blade, be aware that the blade can still move even though the power source is off. The blade is sharp; contacting the blade can result in serious personal injury.
Wear gloves when servicing the blade.
- Remove the electric-start button and battery pack from the machine.
- Use a block of wood to hold the blade steady (Figure 19).
- Remove the blade bolt, bracket, and blade; save the bracket and blade bolt (Figure 19).

- Install the new blade, bracket, and blade bolt (Figure 20).

Important: Position the curved ends of the blade facing up toward the machine housing. - Use a torque wrench to tighten the blade bolt to 68 N∙m (50 ft-lb).
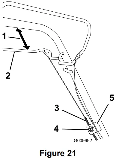
Adjusting the Self-Propel Drive
Whenever you install a new self-propel cable or if the self-propel drive is out of adjustment, adjust the self-propel drive cable.
- Loosen the cable-support nut (Figure 21).

- 25 to 38 mm (1 to 1-1/2 inches)
- Self-propel-drive bar.
- Cable jacket.
- Cable-support nut.
- Cable support.
- Hold the self-propel-drive bar 25 to 38 mm (1 to 1-1/2 inches) from the handle (Figure 21).
- Pull down the cable jacket (toward the machine) until there is no slack in the cable (Figure 21).
- Tighten the nut on the cable support.
- Release the self-propel-drive bar and ensure that the cable is loose.
Note: The cable must be loose with the self-propel drive bar in the released position; otherwise, the machine may creep when you disengage the bar.
Preparing the Battery Pack for Recycling
Important: Upon removal, cover the terminals of the battery pack with heavy-duty adhesive tape. Do not attempt to destroy or disassemble the battery pack or remove any of its components.
Lithium-ion battery packs labeled with the Call2Recycle seal can be recycled at any participating retailer or battery recycling facility in the Call2Recycle program (US and Canada only). To locate a participating retailer or facility closest to you, please call 1-800-822-8837 or visit www.call2recycle.org. If you cannot locate a participating retailer or facility nearby, or if your rechargeable battery is not labeled with the Call2Recycle seal, please contact your local municipality for more information on how to responsibly recycle the battery. If you are located outside of the US and Canada, please contact your authorized Toro distributor.
Storage
Important: Store the machine, battery pack, and charger only in temperatures that are within the appropriate range; refer to Specifications.
Important: If you are storing the battery pack for the off-season, charge it until 2 or 3 LED indicators turn green on the battery. Do not store a fully charged or fully depleted battery. When you are ready to use the machine again, charge the battery pack until the left indicator light turns green on the charger or all 4 LED indicators turn green on the battery.
- Disconnect the product from the power supply (i.e., remove the battery pack and electric-start button) and check for damage after use.
- Do not store the machine or charger with the battery pack installed.
- Clean all foreign material from the product.
- When not in use, store the machine, electric-start button, battery pack, and battery charger out of the reach of children.
- Keep the machine, battery pack, and battery charger away from corrosive agents, such as garden chemicals and de-icing salts.
- To reduce the risk of serious personal injury, do not store the battery pack outside or in vehicles.
- Store the machine, battery pack, and battery charger in an enclosed clean, dry area.
Troubleshooting
Perform only the steps described in these instructions. All further inspection, maintenance, and repair work must be performed by an authorized service center or a similarly qualified specialist if you cannot solve the problem yourself.
Problem | Possible Cause | Corrective Action |
| The machine does not start. |
|
|
| The machine does not run or does not run continuously. |
|
|
| The machine does not reach full power. |
|
|
| The battery pack loses charge quickly. |
|
|
| The battery charger is not working. |
|
|
| The machine does not self-propel. |
|
|
| The LED indicator light on the battery charger is red. |
|
|
| Problem | Possible Cause | Corrective Action |
| The LED indicator light on the battery charger is blinking red. |
|
|
| The machine is producing a beeping sound. |
|
|
| The quality of cut is decreased or unsatisfactory. |
|
|
| The bagging is decreased or unsatisfactory. |
|
|
| The machine is cutting unevenly. |
|
|
| The machine is vibrating. |
|
|
California Proposition 65 Warning Information
What is this warning?
You may see a product for sale that has a warning label like the following:
WARNING: Cancer and Reproductive Harm—www.p65Warnings.ca.gov
What is Prop 65?
Prop 65 applies to any company operating in California, selling products in California, or manufacturing products that may be sold in or brought into California. It mandates that the Governor of California maintain and publish a list of chemicals known to cause cancer, birth defects, and/or other reproductive harm. The list, which is updated annually, includes hundreds of chemicals found in many everyday items. The purpose of Prop 65 is to inform the public about exposure to these chemicals.
Prop 65 does not ban the sale of products containing these chemicals but instead requires warnings on any product, product packaging, or literature with the product. Moreover, a Prop 65 warning does not mean that a product is in violation of any product safety standards or requirements. In fact, the California government has clarified that a Prop 65 warning “is not the same as a regulatory decision that a product is ‘safe’ or ‘unsafe.’” Many of these chemicals have been used in everyday products for years without documented harm. For more information, go to https://oag.ca.gov/prop65/faqs-view-all.
A Prop 65 warning means that a company has either (1) evaluated the exposure and has concluded that it exceeds the “no significant risk level”; or (2) has chosen to provide a warning based on its understanding about the presence of a listed chemical without attempting to evaluate the exposure.
Does this law apply everywhere?
Prop 65 warnings are required under California law only. These warnings are seen throughout California in a wide range of settings, including but not limited to restaurants, grocery stores, hotels, schools, and hospitals, and on a wide variety of products. Additionally, some online and mail order retailers provide Prop 65 warnings on their websites or in catalogs.
How do the California warnings compare to federal limits?
Prop 65 standards are often more stringent than federal and international standards. There are various substances that require a Prop 65 warning at levels that are far lower than federal action limits. For example, the Prop 65 standard for warnings for lead is 0.5 μg/day, which is well below the federal and international standards.
Why don’t all similar products carry the warning?
- Products sold in California require Prop 65 labelling while similar products sold elsewhere do not.
- A company involved in a Prop 65 lawsuit reaching a settlement may be required to use Prop 65 warnings for its products, but other companies making similar products may have no such requirement.
- The enforcement of Prop 65 is inconsistent.
- Companies may elect not to provide warnings because they conclude that they are not required to do so under Prop 65; a lack of warnings for a product does not mean that the product is free of listed chemicals at similar levels.
Why does Toro include this warning?
Toro has chosen to provide consumers with as much information as possible so that they can make informed decisions about the products they buy and use. Toro provides warnings in certain cases based on its knowledge of the presence of one or more listed chemicals without evaluating the level of exposure, as not all the listed chemicals provide exposure limit requirements. While the exposure from Toro products may be negligible or well within the “no significant risk” range, out of an abundance of caution, Toro has elected to provide the Prop 65 warnings. Moreover, if Toro does not provide these warnings, it could be sued by the State of California or by private parties seeking to enforce Prop 65 and subject to substantial penalties.


































