TORO 21445 Lawn Mower with SmartStow

Ordering Replacement Parts
To order replacement parts, please supply the part number, the quantity, and the description of each part desired.
Understanding Reference Numbers
Each identified part in an illustration has a reference number. The reference number for a part also appears in the parts list, along with other information about the part.
This catalog uses two special reference number formats, one to indicate parts in a service assembly and another to indicate the quantity of a given part in an illustration.
Service Assembly Reference Numbers
Parts in service assemblies have reference numbers in the form a:b. The a represents the reference number of the entire service assembly and the b represents a sequential number unique to each part within the service assembly.
For example, a wheel assembly might be identified by reference number 6, the tire by 6:1, the valve by 6:2, and the wheel by 6:3. When you order the assembly identified by reference number 6, you receive all parts identified by reference numbers 6:1,6:2, and 6:3. However, you may also order any part individually. Reference numbers of this type appear in illustration and in parts lists.
Reference Numbers Indicating Quantity
In an illustration, if a reference number indicates more than one part, the reference number has the form nX y. The n represents the quantity of the part, the X is the multiplication symbol, and the y represents the reference number.
For example, in an illustration, the reference number 2X 37 means that two of the parts identified by reference number 37 are indicated.
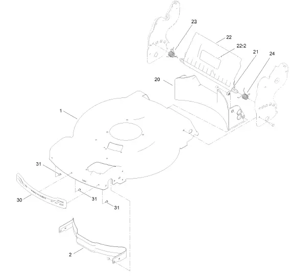
Housing Assembly

| Ref. | Part Number | Qty. | Description | Ref. | Part Number | Qty. | Description | |
| 1 | 144-3191 | 1 | Housing ASM | 22:2 | 131-4514 | 1 | Decal-Warning | |
| 2 | 114-7963-01 | 1 | Baffle-Front | 23 | 140-4197 | 1 | Spring-Torsion | |
| 20 | 140-3906 | 1 | Baffle-Rear, Fwd | 24 | 140-4198 | 1 | Spring-Torsion | |
| 21 | 117-5991 | 2 | Washer-Stepped, Baffle | 30 | 139-5457 | 1 | Bumper-Front | |
| 22 | 136-7003 | 1 | Rear Deflector ASM | 31 | 139-5467 | 3 | Screw-Plastic, HWH |
Rear Bag Assembly

Ref. Part Number Qty. Description
- 140-3931-03 1 Bag Frame ASM (Welded)
- 140-3933 1 Grass Bag ASM
Decal Assembly

Ref. Part Number Qty. Description
| 3 | 94-8072 | 1 | Decal-Danger |
| 10 | 140-4183 | 1 | Decal |
| 11 | 140-4184 | 2 | Decal |
Engine and Blade Assembly

| Ref. | Part Number | Qty. | Description | Ref. | Part Number | Qty. | Description | |
| 2 | 1 | Engine-Briggs, 625 Exi Zs | 24 | 125-2466 | 1 | Bolt-Blade | ||
| SS | 32 | 140-4247 | 1 | Decal-Briggs 625 Exi SS | ||||
| 10 | 95-1726 | 3 | Screw-Taptite | 34 | 133-8198 | 1 | Decal-Level, Fuel | |
| 13 | 140-3975 | 1 | Driver-Blade | 35 | 133-8062 | 1 | Decal-Arrestor, Spark | |
| 20 | 131-4547-03 | 1 | Blade-22 Inch | 36 | 2210-316 | 1 | Stop-Rope | |
| 22 | 108-3766-03 | 1 | Support-Blade |
Front Wheel and Height-of-Cut Assembly

| Ref. | Part Number | Qty. | Description | Ref. | Part Number | Qty. | Description | |
| 1 | 115-1956-05 | 2 | Plate-HOC,Front Fsvq | 16 | 32151-61 | 1 | Ring-Retaining | |
| Wednesday | 17 | 144-6389 | 1 | Spring-Extension | ||||
| 2 | 322-3 | 4 | Screw-HH | 18 | 140-2364 | 2 | ASM-Cover, Wheel (Dk | |
| 3 | 3296-29 | 4 | Nut-Lock, NI | Gray) | ||||
| 4 | 105-1809 | 2 | Arm-Spring | 19 | 140-2358 | 2 | ASM-8″ Wheel, Fwd | |
| 5 | 105-3042 | 2 | Knob-Lever, HOC | (Bushings) | ||||
| 6 | 137-9128 | 2 | Arm-Pivot, Front | 20 | 139-1789 | 2 | Wheel Bolt | |
| 7 | 104-8699 | 2 | Bearing-Ball | 21 | 144-0215 | 1 | ASM-Intake, Fwd | |
| 8 | 131-0836 | 2 | Retainer-Bearing, HOC | 22 | 46-8091 | 3 | Screw-HWH | |
| 9 | 32151-36 | 2 | Ring-Retaining | 23 | 140-2388 | 1 | Cover-Belt, Lower (Fwd) | |
| 10 | 139-6562 | 1 | Transmission-Fwd | 24 | 131-0837 | 2 | Screw-Shoulder, HHF | |
| 11 | 117-1018 | 1 | V-Belt | 25 | 144-6371 | 1 | Pad-Stop | |
| 12 | 144-6392 | 1 | Tab-Mount, Cable | 26 | 139-1679 | 1 | Screw-Plastic,PH | |
| 14 | 110-7191 | 2 | Washer-Thrust | 27 | 140-4186 | 1 | Decal | |
| 15 | 131-0896 | 2 | Gear-Pinion, 13T | 28 | 130-2369 | 1 | Pin-Snap |
Rear Wheel and Height-of-Cut Assembly

| Ref. | Part Number | Qty. | Description | Ref. | Part Number | Qty. | Description | |
| 1 | 140-3910-05 | 1 | Plate-HOC, Fwd LH [blk-Txt] | 10 | 131-0895 | 2 | Bushing-Mount, HOC | |
| 2 | 140-3911-05 | 1 | Plate-HOC, Fwd RH | 11 | 322-7 | 2 | Screw-HH | |
| [blk-Txt] | 12 | 105-3048 | 2 | Washer-Flat | ||||
| 3 | 322-5 | 2 | Screw-HH | 14 | 139-1789 | 2 | Wheel Bolt | |
| 4 | 3296-29 | 4 | Nut-Lock, NI | 15 | 140-2351 | 2 | ASM-9.65″ Wheel, Bushings | |
| 7 | 115-2899 | 2 | Arm-Spring, Rear | 17 | 139-5449 | 2 | Washer-Wheel Bolt | |
| 8 | 105-3042 | 2 | Knob-Lever, HOC | 18 | 144-6431 | 1 | Shield-Trailing | |
| 9 | 140-3878 | 2 | Arm-Pivot, Rear | 19 | 117-1092 | 2 | Screw-PTH |
Handle Assembly

| Ref. | Part Number | Qty. | Description | Ref. | Part Number | Qty. | Description | |
| 5 | 139-5458-05 | 1 | Handle-Curved | 14 | 144-0221 | 1 | Screw-CARR | |
| 6 | 139-6588 | 2 | Bolt-Shoulder, Handle | 15 | 140-3948 | 1 | Cable-Brake, Fwd | |
| 7 | 3296-29 | 2 | Nut-Lock, NI | 16 | 140-3947 | 1 | Cable-Traction, Fwd | |
| 9 | 117-5976 | 2 | Knob-Handle | 17 | 136-9075 | 1 | Washer-Curved | |
| 12 | 138-3249 | 2 | Quick Release ASM | 18 | 3296-73 | 2 | Nut-Lock, NI | |
| 12:1 | 140-4157 | 1 | Nut-Push | 19 | 140-3918-03 | 1 | Bail-Brake | |
| 12:2 | 138-3248 | 1 | Lever-Release | 20 | 140-3879 | 1 | Cover-Bail | |
| 12:3 | 138-3253 | 1 | Anchor-Spring | 21 | 140-4024-03 | 1 | Bail-Traction | |
| 12:4 | 115-2858 | 1 | Spring-Compression | 22 | 86-9671 | 1 | Guide-Rope | |
| 12:5 | 140-4158 | 1 | Rod-Release | 24 | 114-7988 | 1 | Guide-Cable | |
| 13 | 140-2369 | 2 | Pad-Smart Stow | 28 | 107-7461 | 2 | Screw-Plastite |
Attachments and Accessories
For 21445 22in Recycler Lawn Mower with SmartStow
- Product Name Model/Part
- SD Chute ASM ……………………………………………………………………………………………………………….. 145-1538
- 22 Inch Atomic Blade………………………………………………………………………………………………………….. 59534P
- Briggs Maint Kit……………………………………………………………………………………………………………….. 130-8148
- Smart Stow Walk Power Mower Cover ……………………………………………………………………………….. 490-2012
- Lawnmower Cover…………………………………………………………………………………………………………… 490-7462
- Lawn Striping Kit with 22in Roller……………………………………………………………………………………………. 20601
- Bag-Walk Behind (Toro)……………………………………………………………………………………………………. 490-7318
- Summer Oil-Case of 24 (20oz Bottles)…………………………………………………………………………………….. 38916
- Fuel Stabilizer .05 oz ……………………………………………………………………………………………………….. 130-2393
- Toro Premium Fuel Treatment 12 Oz Bottle …………………………………………………………………………. 131-6572
- 4-Cycle Fuel, Snow And Lawn 32oz Can …………………………………………………………………………….. 131-3823
- Oil-30/10W-30 Synthetic (Quart)………………………………………………………………………………………… 138-6053
- Toro 4-Cycle SAE 30 Oil (32oz Bottle) …………………………………………………………………………………….. 38903
Register at www.Toro.com
Contact us at www.Toro.com
Printed in the USA.
All Rights Reserved


















