OHISOTEEL 42SWP22 22 Cu Ft Lawn Sweeper

READ AND FOLLOW ALL SAFETY RULES AND OPERATING INSTRUCTIONS BEFORE USING THIS EQUIPMENT
Safety Rules
This is the safety alert symbol. It is used to alert you to potential personal injury hazards. Obey all safety messages that follow this symbol to avoid possible injury or death.
Read and understand all safety rules and operating instructions before using this tractor attachment.
Follow all safety rules and operating instructions provided by your tractor’s manufacturer when using attachment.
Never allow children or untrained persons to operate tractor or attachment.
Reduce tractor speed to slowest setting when towing or operating on slopes.
Operate up and down slopes, never across the face of slopes.
Do not carry passengers on tractor or attachment.
Avoid sudden turns or maneuvers.
Use caution when backing up to prevent damaging attachment.
Do not tow attachment on public roadways.
Do not remove warning decals from product.
Check product for worn, loose, or damaged parts before each use. If any damage is present, repair the product before using.
Check product for loose or missing fasteners before each use. Tighten or replace fasteners as needed before using.
Do not fasten rope to any part of your body or clothing.
Do not hold rope while tractor and Lawn Sweeper are in motion.
Do not use Lawn Sweeper near fire or smoldering debris.
Always fasten rope to tractor to avoid contact with wheels and brushes.
Always empty hopper before storing to avoid spontaneous combustion of contents.
Do not exceed tractor speed of 6 miles per hour when towing or operating Lawn Sweeper.
Warranty
IF YOU ARE MISSING PARTS DO NOT RETURN TO STORE
Email [email protected] or call 1-800-652-2321, ext. 212
Before you call, please email our customer service team at [email protected] with the following:
- A description of the issue you are having
- Photos of the issue that include an overall view and detailed view from multiple angles
- If applicable, a short video showing the issue
Replacement Parts:
You can place your parts order online at ohiosteel.com/partsstore
- You can also reach our Customer Service Department at 1-800-652-2321, ext. 212
- If you are ordering replacement part(s) for your product, please note that some parts are only available as a repair kit.
If this product fails due to a defect in material or workmanship within THREE YEARS from the date of purchase, we will at our option, only with receipt of purchase, repair or replace it free of charge. This warranty excludes tires, wheels, brushes and bag, which are expendable and become worn during normal use.
This warranty does not cover:
- Repairs necessary because of operator abuse or negligence.
- Equipment used for commercial or rental purposes.
- Paint that is worn or faded due to normal use or exposure.
To arrange for product repair visit ohiosteel.com/customer-support and fill out the warranty repair form. You can also call 1-800-652-2321, ext. 212 to speak to our Customer Service Team This warranty gives you specific legal rights, and you may also have other rights which may vary from state to state. This warranty applies only while this product is in use in the United States.
Carton Contents

TOOLS REQUIRED FOR ASSEMBLY:
- 9/16″ Wrench and Socket
Assembly Instructions
- Attach Hitch Mount Tubes (19) to Sweeper Assembly and tighten hardware.

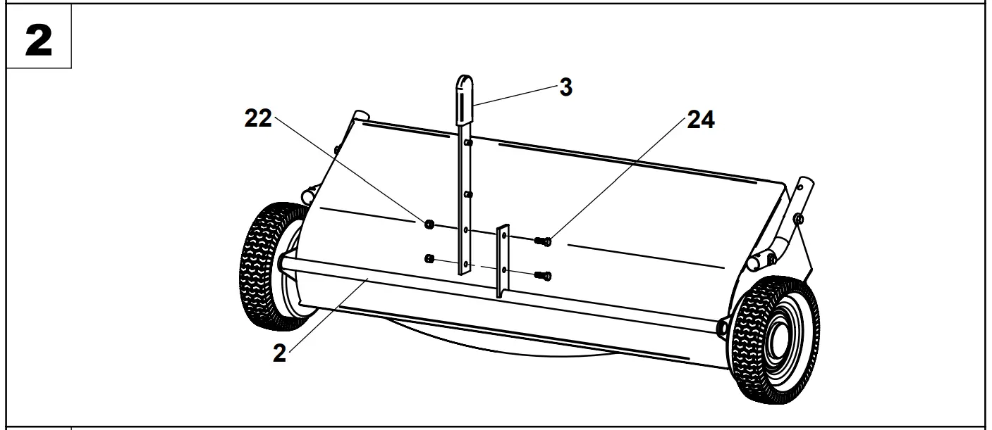
- Attach Handle (3) to Height Adjustment (2) and tighten hardware.

- Insert Hitch Tubes (18) into Hitch Mount Tubes (19) and snap into position.

- Install hardware through front two holes of Hitch Tubes as shown.

- Hold Adjustment Lever (4) in position and install third bolt through Lever as shown. Pin Adjustment Lever to Handle with Hair Pin (26).

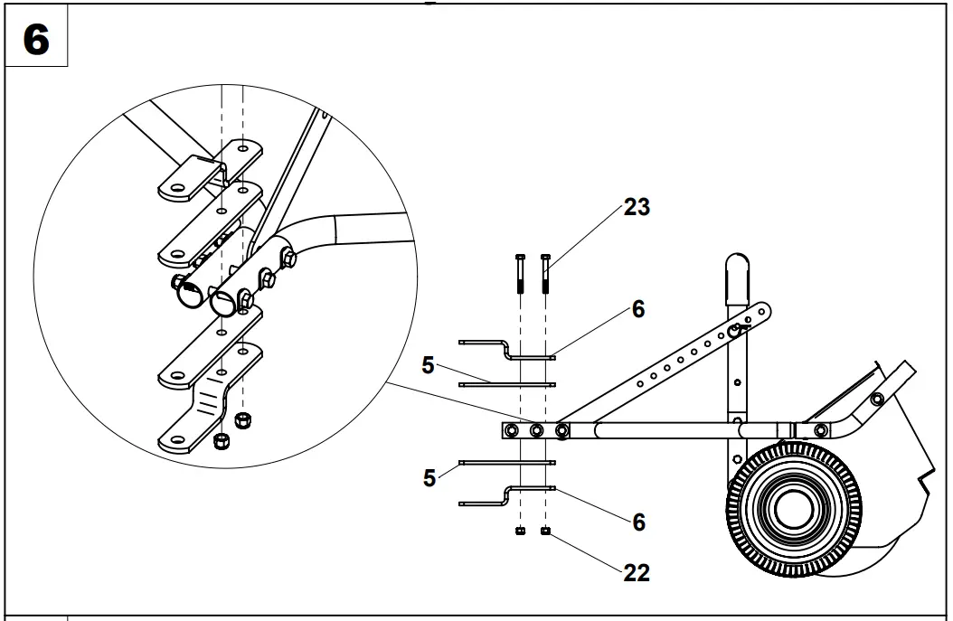
- Install Clevis Bars as shown (5 & 6); Clevis bolts (23) pass between Hitch Tube bolts. Tighten Hitch Tube hardware first, then tighten Clevis
hardware.
- Insert Bottom Frame Tubes (38) into Center Frame Tube (40) and snap into position. (Note that snap buttons are oriented up)

- Unroll and flatten hopper bag (37) from shipping state. Then, slide Hopper Stop Bar (43) into pocket of Hopper Bag as shown.

- First, place bottom frame assembly into bottom of Hopper Bag (37). Second, Install Clevis Pins (45) through Hopper Bag (37), Hopper Stop Bar (41), and Bottom Frame Tubes (38) then secure with Hairpins(48).

- Insert Top Frame Tubes (39) into Center Frame Tube (40) and snap into position. (Note that snap buttons are oriented down)

- First, Place top frame assembly into Hopper Bag (37). Second, Install Clevis Pins (44) through Top Frame Tubes (39) and Bottom Frame Tubes (38) and secure with Hairpins (48).

- Slide Hopper Pivot Rod (42) through Top Frame Tube (39) and Connecting Tube (36), then through pocket of Hopper Bag (37), and then through both Connecting Tube (36) and Top Frame Tube (39) on other side. Secure both ends with Washer (46) and Hairpin (48).

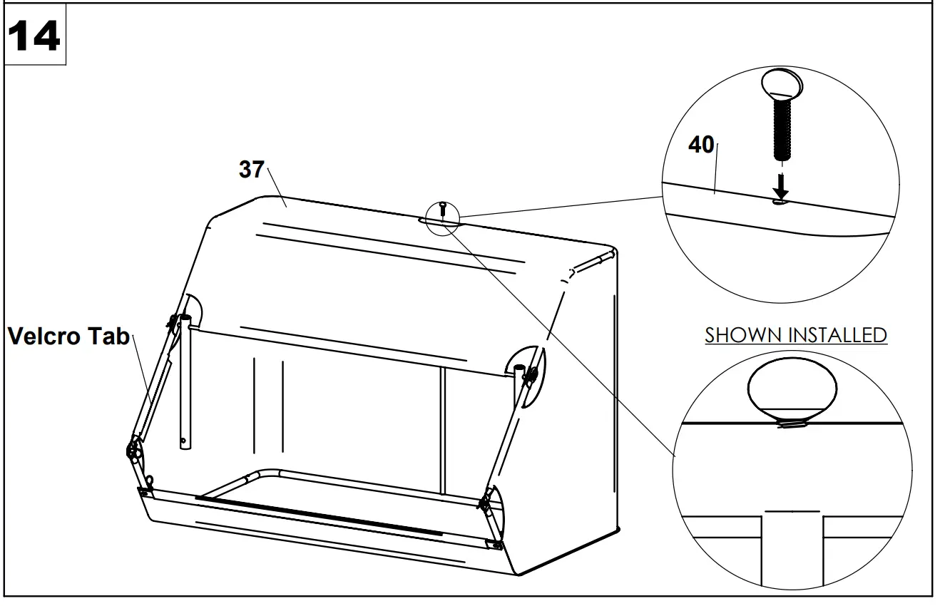
- First, unscrew Thumb Screw from Tension Tube Assembly (41). Next, Hold Hopper Bag (37) open and carefully insert Tension Tube Assembly (41) through opening in Hopper Bag and into hole in bottom Center Frame Tube (40). Pull top Center Frame Tube over tension tube and align holes.

- Insert thumb screw that came with Tension Tube Assembly through top Center Frame Tube (40) and screw into top of Tension Tube. Secure Hopper Bag around Top Frame Tubes with Velcro tabs.

- Insert Connecting Tubes (36) into Hitch Mount Tubes (19) and secure with Quick-Release Pins (47).
Install Hitch Pin (49) and secure with Hairpin (48).
- Tie Dump Rope (51) securely around exposed section of Center Frame Tube (40).

Operating Instructions
Before Using Lawn Sweeper:
- Read all Safety Rules found on page 1.
How to Sweep Lawn:
- Remove large debris from lawn.
- Do not sweep if conditions are too wet or muddy.
- Attach Lawn Sweeper to tractor using supplied hitch pin. The multi-pronged hitch allows the Lawn Sweeper to accomodate varying tractor hitch heights; choose the appropriate setting so that Lawn Sweeper hitch tubes are roughly level with the ground.
- Attach dump rope to tractor so that it cannot contact the brushes or wheels.
- Start tractor engine and tow Lawn Sweeper to lawn.
- Adjust brush height so that brushes extend roughly 1/2″ below the tips of the grass. For best performance, always set the brushes as high as possible to minimize resistance on brushes and wheels.
- Engage tractor drive at its slowest speed and begin sweeping. Increase tractor speed as required to throw material to the back of the hopper bag.
- Sweep in straight lines whenever possible and avoid sharp turns.
- Periodically check the sweeper while operating to ensure that wheels and brushes are rotating smoothly and that nothing is wrapped around the brushes or brush shaft.
- When filled, the hopper bag can be emptied by pulling the dump rope forward.
How to Adjust Brush Height:
- Remove hairpin and detach adjustment lever from handle.
- Move handle downwards to raise the brush height or upwards to lower the brush height.
- Align the handle pin with the nearest hole in the adjustment lever. Use the top or bottom pin on the handle, whichever provides the best alignment
- Secure adjustment lever to handle with hairpin.
Storing Lawn Sweeper:
- Empty hopper bag and thoroughly clean Lawn Sweeper before storing.
- Store Lawn Sweeper away from excessive heat to prevent damage.
- Brushes must not contact ground during storage to prevent damage.
- Remove quick-release pins to separate hopper bag from Lawn Sweeper.
- Carefully remove tension tube and collapse hopper bag for compact storage.
- Unpin and detach adjustment lever from handle and then depress snap buttons to remove hitch tubes from Lawn Sweeper for compact storage.

Periodic Maintenance:
- Tighten fasteners as needed before each use.
- Empty hopper and thoroughly clean Lawn Sweeper after each use.
- Remove any materials that have wrapped around brushes or brush shaft after each use.
- Lubricate wheel bearings and gears annually with a light coating of white lithium grease.
Repair Parts

| ITEM | PART NO. | DESCRIPTION | QTY |
| 1 | KIT 6000762-G2 | SWEEPER HOUSING | 1 |
| 2 | HEIGHT ADJUSTMENT | 1 | |
| 3 | 307181-B2 | HANDLE ASSEMBLY | 1 |
| 4 | 307113-B2 | ADJUSTMENT BAR | 1 |
| 5 | 307042-B2 | CLEVIS PLATE, FLAT | 2 |
| 6 | 307043-B2 | CLEVIS PLATE, BENT | 2 |
| 7 | 307011 | WHEEL ASSEMBLY | 2 |
| 8 | 6000539 | DUST COVER | 2 |
| 9 | 307241 | CAP, WHEEL | 2 |
| 10 | 307124-B2 | TUBE, 42″ BRUSH | 1 |
| 11 | 307122-ZC | BRACKET, STEEL | 6 |
| 12 | 307121-ZC | CLAMP, STEEL | 8 |
| 13 | 307321 | BRUSH | 4 |
| 14 | 3000721-ZC | WASHER, 3/4″ SAE | 2 |
| 15 | 3000539-ZC | 1/4″ -20 X 1-1/4″ BOLT | 8 |
| 16 | 3000716-ZC | WASHER, 1/4″ SAE | 4 |
| 17 | 300065-ZC | 1/4″ -20 LOCK NUT | 28 |
| 18 | 307033-B2 | TUBE, HITCH | 2 |
| 19 | 307034-B2 | HITCH MOUNT TUBE | 2 |
| 20 | KIT 307132 | 3/8″-16 x 2″ HEX BOLT | 4 |
| 21 | CURVED WASHER, 3/8″ USS | 10 | |
| 22 | NYLOCK NUT, 3/8-16 | 11 | |
| 23 | 3/8″-16 x 2-3/4″ HEX BOLT | 2 | |
| 24 | 3/8″-16 x 1″ HEX BOLT | 2 | |
| 25 | 3/8″-16 x 3-1/2″ HEX BOLT | 3 | |
| 26 | HAIR PIN | 1 | |
| 27 | WASHER, 3/8″ USS | 4 | |
| 28 | 6000733-ZC | 1/4″ -20 X 1″ CARRIAGE BOLT | 8 |
| 29 | 3000515-ZC | 1/4″-20 X 1″ BOLT | 12 |
| 30 | 300081-ZC | COTTER PIN, 1/8″ X 1-1/2″ | 2 |
| 31 | KIT 6000828 | PINION ASSEMBLY, RIGHT | 1 |
| 32 | PINION ASSEMBLY, LEFT | 1 | |
| 33 | BEARING ASSEMBLY | 2 | |
| 34 | 6000540 | WHEEL BUSHING | 4 |
| 35 | 6000222-ZC | SNAP BUTTON | 2 |

| ITEM | PART NO. | DESCRIPTION | QTY |
| 36 | 307032-B2 | CONNECTING TUBE | 2 |
| 37 | 307331 | HOPPER BAG | 1 |
| 38 | KIT 6004133-B2 | BOTTOM FRAME TUBE | 2 |
| 39 | TOP FRAME TUBE | 2 | |
| 40 | CENTER FRAME TUBE | 2 | |
| 41 | TENSION TUBE ASSEMBLY | 1 | |
| 42 | 307051-B2 | HOPPER PIVOT ROD | 1 |
| 43 | 307061-B2 | HOPPER STOP BAR | 1 |
| 44 | KIT 307133 | CLEVIS PIN, 3/8″ X 1/2″ | 2 |
| 45 | CLEVIS PIN, 1/4″ X 1-1/4″ | 2 | |
| 46 | 3/8″ USS FLAT WASHER | 2 | |
| 47 | QUICK-RELEASE PIN | 2 | |
| 48 | HAIRPIN | 7 | |
| 49 | HITCH PIN | 1 | |
| 50 | 6000208-ZC | SNAP BUTTON | 4 |
| 51 | 307361 | DUMP ROPE | 1 |

www.OHIOSTEEL.com
(800) 652-2321
































