45-05462 52 Inch Lawn Sweeper
Instruction Manual
Want more information or assembly tips?
Video Instruction Guide
youtube.com/c/agrifab
SAFETY
Any power equipment can cause injury if operated improperly or if the user does not understand how to operate the equipment.
Exercise caution at all times when using power equipment.
Look for this symbol to point out important safety precautions.
It means — Attention!! Become alert!! Your safety is involved.
CAUTION: Never attach the hopper rope to any part of your body or clothing! Never hold onto the rope while towing the sweeper! Attach the rope to the towing vehicle to keep it away from wheels and rotating parts.
- Read the vehicle and sweeper owners manuals and know how to operate your vehicle and sweeper before using this sweeper attachment. Always instruct other users before they operate the sweeper.
- Do not permit children to operate sweeper.
- Do not permit anyone to ride on sweeper.
- Never attach the hopper rope to any part of your body or clothing! Never hold onto the rope while towing the sweeper! Attach the rope to the towing vehicle to keep it away from wheels and rotating parts.
- Operate the sweeper at reduced speed on rough terrain, near ditches and on hillsides to prevent loss of control.
- Vehicle braking and stability may be affected with the attachment of this sweeper. Do not fill sweeper to maximum capacity without checking the capability of the towing vehicle to safely pull and stop with the sweeper attached. Stay off of steep slopes.
- Stop and inspect vehicle and sweeper for damage after striking an object. Repair any damage before continuing operation.
- Keep sweeper away from fire. Excessive heat can damage the brushes and hopper bag and could cause the bag and its contents to burn.
- Before storing the sweeper, always empty the hopper bag to avoid spontaneous combustion.
- Follow maintenance and lubrication instructions as outlined in the maintenance section of this manual.

ASSEMBLY
TOOLS REQUIRED FOR ASSEMBLY
(2) 7/16″ Open End or Box End Wrenches
(2) 1/2″ Open End or Box End Wrenches
(2) 9/16″ Open End or Box End Wrenches
Note: Right hand (R.H.) and left hand (L.H.) are determined from the operator’s position while seated on the tractor.
- Assemble the R.H. and L.H. hitch tubes to the sweeper housing using four 5/16″ x 1-3/4″ hex bolts (18) and 5/16″ nylock nuts (27). Do not tighten yet.

- Install two 5/16″ x 3″ hex bolts (16) and 5/16″ nylock nuts (27) in the ends of the hitch tubes. Do not tighten yet.

- Measure the height of your tractor’s drawbar. The height will determine the arrangement of the sweeper hitch brackets.
- Assemble the hitch brackets to the hitch tubes. using two 5/16″ x 2-1/4″ hex bolts (17) and 5/16″ nylock nuts (27). If your tractor drawbar has 10″ or more ground clearance, place the bent hitch bracket on top. If it has less than 10″ clearance, place the straight hitch bracket on top. Do not tighten yet.
- Tighten all loose bolts and nuts as follows:
Tighten the bolts and nuts assembled in figure 1.
Tighten the bolts and nuts assembled in figure 2. - Assemble the hitch pin (34), two spacers (38), and the large hairpin cotter (31) to the hitch brackets.

- Install the height adjustment handle grip (33). Assemble the height adjustment handle (2) to the inside of the bracket on the end of the height adjustment tube. Use two 5/16″ x 1″ carriage bolts (22) and 5/16″ nylock nuts (27). Tighten.

- Assemble onto a 5/16″ x 1-1/4″ hex bolt (19) in the order listed, a 5/16″ flat washer (21), a small spacer (29), the height adjustment strap (15) and another 5/16″ flat washer (21). Insert the bolt through the hole in the end of the sweeper housing and secure it with a 5/16″ nylock nut (27). Tighten. Note: Hole in end of sweeper may be obscured by the wheel.
- Insert a 5/16″ x 1″ carriage bolt (22) through the height adjustment handle (2) and the height adjustment strap (15). Assemble a 5/16″ flat washer (21) and the plastic knob (35) onto the end of the bolt.
Fit the ends of the two upper hopper tubes (11) into the ends of a rear hopper tube (10) . Align the holes in the ends of the tubes and secure them in place using two
1/4″ x 1-1/8″ clevis pins (25) and small hairpin cotters (32).
- Fit the ends of the two lower hopper tubes (12) into the ends of a rear hopper tube (10). Align the holes in the ends of the tubes and secure them in place using two 1/4″ x 1-1/8″ clevis pins (25) and small hairpin cotters (32).

- Unfold the hopper bag and lay the bag out with the wind screen on top.
- Place the assembled lower hopper tubes into the bottom of the hopper bag and then slide the tubes to the back of the bag.

- Insert the ends of the assembled upper hopper tubes down through the sleeves in the sides of the hopper bag.

- Slide the upper hopper tubes back underneath the mesh wind screen and attach the ends of the upper hopper tubes to the outside of the lower hopper tubes using two 3/8″ x 3/4″ hex bolts (23) and 3/8″ nylock nuts (28), inserting the bolt from the inside of the bag. Tighten and then loosen 1/4 to 1/2 turn.

- Insert the ends of the hopper support rods (14) into the holes in the upper and lower rear hopper tubes by flexing the rods just enough to fit into the holes.
IMPORTANT: Do not over-flex the rods. Over-flexing will cause the steel rods to lose supporting tension.
- Install the plugs (36) into the ends of the bag arm tubes (13).

- Insert a 3/8 x 3″ hex bolt (37) through a flat washer (21) and then through the upper hopper tube. Install a 5/8″ long spacer (30) and a bag arm tube (13) onto the end of the bolt. Secure with a 3/8″ nylock nut (28). Tighten and then loosen 1/2 a turn. Make sure the bag arm tube is able to rotate about the hex bolt. Repeat for the other side.
Insert the bag frame strap (8) through the stitched sleeve at the front edge of the bag bottom.

- Attach the bag frame strap to the lower hopper tubes (12) using two 1/4″ x 1-1/4″ hex bolts (20) and 1/4″ nylock nuts (26).
- Fold the bag flaps around the lower hopper tubes and attach to the snaps on the bag bottom.

- Tie the rope (7) to the center of the upper rear hopper tube.

- Attach the bag assembly to the sweeper housing, sliding the ends of the bag arm tubes (13) into the ends of the sweeper’s hitch tubes. Secure the tubes with two 1/4″ x 1-3/4″ clevis pins (24) and small hair cotter pins (32).

ATTACHING SWEEPER HITCH TO TRACTOR
- Place the tractor and sweeper on a flat level surface.
- Set the sweeper height adjustment handle to about the middle of its adjustment range.
- Adjust height until brushes are 1/2″ down into grass.
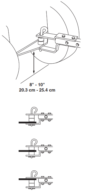
- Use the instructions on the next page to adjust the hitch height properly for your tractor.

GROUP “A” – For vehicles with hitches having 8″ to 10″ ground clearance.

GROUP “B” – For vehicles with hitches having 10″ to 13″ ground clearance.

OPERATION
KNOW YOUR SWEEPER

| Hopper Bag | Collects grass clippings, leaves and debris. |
| Rope | Permits dumping of hopper bag from the drivers seat. |
| Bag Arm Tubes | Connects the hopper bag to the sweeper housing. |
| Height Adjustment Handle | Adjusts the operating height of the sweeper. |
| Hitch Brackets | Connect the sweeper to the towing vehicle. Adjustable for various height tractor hitches. |
BRUSH HEIGHT ADJUSTMENT
To adjust your sweeper brushes to the best operating height, loosen the plastic knob and use the height adjustment lever to raise or lower the brush. Best adjustment is when the brush setting is 1/2″ down into the grass. Always mow the grass to an even height before sweeping. When desired height is set tighten the plastic knob.
SWEEPING SPEED
Try a starting speed of approximately 3 m.p.h. (third gear on most tractors). Depending on the conditions, it may be necessary to adjust the sweeping speed in order to achieve best results.
IMPORTANT: Do not exceed 6 mph. Excessive speed may damage wheels and gears.
DUMPING OF SWEEPER
Your sweeper can be dumped easily without getting off of the rider or tractor. Simply pull the rope forward to dump the hopper. Always empty hopper after each use.
CAUTION: Never attach the hopper rope to any part of your body or clothing! Never hold onto the rope while towing the sweeper! Attach the rope to the towing vehicle to keep it away from wheels and rotating parts.
CAUTION: Keep sweeper away from fire. Excessive heat can damage the brushes and hopper bag and could cause the bag and its contents to burn.
MAINTENANCE
| MAINTENANCE SCHEDULE Fill in dates as you complete regular service. | Before each use | After each use | Twice a year | Every season | Before Storage | Every two years |
| Check for loose fasteners | ||||||
| Check for worn or damaged parts | ||||||
| Lubricate wheel bearings Clean Sweeper | ||||||
| Clean/Lubricate gears |
SCHEDULED MAINTENANCE
- Clean the sweeper after each use. Check the height adjustment slot for packed debris
- Inspect for worn or damaged parts, such as brushes and wheels.

- Every two years, remove the wheels and clean the gears found inside the wheel housing. After cleaning, lubricate with an even coat of light grease. To remove the wheel, pop off the hub cap using a screwdriver. Use a 9/16″ open ended wrench on the lock nut inside the sweeper, and the other 9/16″ open ended wrench on the bolt through the wheel.

CLEANING
- Clean sweeper housing with a soft brush or cloth.
- Clean debris from hopper bag with a brush or broom.
- Remove any material which has wrapped around brushes or ends of brush shaft.
STORAGE
CAUTION: Before storing the sweeper, always empty the hopper bag to avoid spontaneous combustion.
- Clean the sweeper and hopper bag thoroughly to help prevent rust and mildew.
- To collapse the hopper bag for storage, remove the two hopper support rods from the rear of the hopper.
- Store in a dry area.
SERVICE AND ADJUSTMENTS
BRUSH REPLACEMENT
NOTE: Brush replacement should be done one brush at a time.
- Remove the hopper bag from the sweeper.
- Loosen the hex bolts and lock nuts on two single brush retainers which clamp one brush to the double brush retainers. Do Not loosen or remove the bolts which fasten the double brush retainers to the brush shaft. See figure 21.
- Slide the brush out of the retainers, noting on which side of the brush the bristles overlap. See figure 21.
- Install new brush, making sure the bristles overlap on the same side of the brush as before. See figure 21.

WHEEL GEAR AND PAWL SERVICE
IMPORTANT: Do not remove both wheels at the same time to avoid mixing of parts. (The R.H. and L.H. pinion gears are not interchangeable.) Make notes on the position
of washers and snap rings during disassembly.
- Remove one wheel from the sweeper.
- Remove the retaining rings and washers which hold the pinion gear onto the brush shaft.
- Remove the gear by sliding it off the brush shaft. (Look for the drive pin, which may fall out of the brush shaft when the ratchet gear is removed.) See figure 22.
- To reassemble, insert the drive pin into the hole in the brush shaft. Make sure the pin slides back and forth easily in the shaft.
- Lightly grease the shaft and fill the pinion gear with grease. Assemble the gear back onto the shaft.
- Lightly grease the axle and the wheel’s gear teeth and then reassemble the wheel. The brushes should rotate only during forward rotation of the wheel. If the brushes are driven (rotated) by both forward and reverse rotation of the wheel, the drive pin is jamming in the pinion gear. Disassemble to clean and lubricate the drive pin and the pinion gear.

TROUBLESHOOTING
| Wheels skid when sweeping. | 1. Brushes set too low. 2. Brushes are jammed 3. Wheels are jammed. | 1. Adjust height until brushes are 1/2″ down into grass. 2. Stop sweeper. Remove obstruction. 3. Remove one wheel at a time to check for obstruction or damage. Refer to Service and Adjustments section. |
REPAIR PARTS FOR MODEL 45-05462 – 52″ LAWNSWEEPER

| REF | PART NO. | QTY | DESCRIPTION |
| 1 | 69420BL3 | 1 | Housing Assembly |
| 2 | 26243BL1 | 1 | Height Adjustment Handle |
| 3 | 28184BL3 | 1 | Hitch Tube, R.H. |
| 4 | 28183BL3 | 1 | Hitch Tube, L.H. |
| 5 | 23687BL1 | 1 | Bracket, Hitch |
| 6 | 24192BL1 | 1 | Bracket, Hitch (Straight) |
| 7 | 43737 | 1 | Hopper Rope |
| 8 | 43080 | 4 | Bolt, Carr 5/16-18 x 3/4″ |
| 9 | 28193BL3 | 1 | Strap, Bag Frame |
| 10 | 45856 | 1 | Hopper Bag |
| 11 | 45406BL3 | 2 | Hopper Frame (Rear) |
| 12 | 49765 | 2 | Upper Hopper Frame (Front) |
| 13 | 48726 | 2 | Lower Hopper Frame (Front) |
| 14 | 28196BL1 | 2 | Tube, Bag Arm |
| 15 | 43938 | 2 | Rod, Hopper Support |
| 16 | 28610 | 1 | Height Adjustment Strap |
| 17 | 46782 | 2 | Bolt, Hex 5/16-18 x 3″ Lg. |
| 18 | 43224 | 2 | Bolt, Hex 5/16-18 x 2-1/4″ Lg. |
| 19 | 43084 | 4 | Bolt, Hex 5/16-18 x 1-3/4″ Lg. |
| 20 | 43840 | 1 | Bolt, Hex 5/16-18 x 1-1/4″ Lg. |
| 21 | 1509-90 | 2 | Bolt, Hex 1/4-20 x 1-1/4″ |
| 22 | 43081 | 5 | Washer, .375″ x .875″ x .083″ |
| 23 | 44326 | 3 | Bolt, Carriage 5/16-18 x 1″ |
| 24 | 43407 | 2 | Bolt, Hex 3/8-16 x 3/4″ |
| 25 | 46867 | 2 | Pin, Clevis 1/4″ x 1-3/4″ Lg. |
| 26 | 48365 | 4 | Clevis Pin, 1/4″ x 1-1/8″ |
| 27 | 47189 | 14 | Nut, Nylock 1/4-20 Thread |
| 28 | 47810 | 15 | Nut, Nylock 5/16-18 Thread |
| 29 | HA21362 | 4 | Nut, Hex 3/8-16″ |
| 30 | 23400 | 1 | Spacer, .410″ x .620″ x .15″ |
| 31 | 23658 | 2 | Spacer, .46″ x .56″ x .62″ (5/8″) |
| 32 | 2692-7 | 1 | Gear, Pinion L.H. |
| 33 | 43343 | 1 | Hairpin Cotter, 1/8″ |
| 34 | 43055 | 6 | Hairpin Cotter, 3/32″ |
| 35 | 43943 | 1 | Height Adjustment Grip |
| 36 | 23353 | 1 | Pin, Hitch |
| 37 | 43720 | 1 | Knob, Wing 5/16-18″ |
| 38 | 47674 | 2 | Plug |
| 39 | 2674-32 | 2 | Hub Cap |
| 40 | 43574 | 4 | Bolt, Hex 3/8-16 x 3″ Lg. |
| 41 | 141 | 4 | Washer, Flat 1-1/2″ x .375″ x .062″ |
| 42 | 47171 | 6 | Nut, Nylock 10-32 |
| 43 | 4 0113 | 2 | Wheel & Tire |
| 44 | 1650-21 | 2 | Ring, Retaining .594″ ID |
| 45 | 44006 | 2 | Washer, Flat .849″ x .598″ x .025″ |
| 46 | 40109 | 2 | Bushing, Bronze |
| 47 | 47046 | 2 | Dowel Pin (Drive) |
| 48 | 40001 | 2 | Washer, Shim 1.125″ x .595″ x .020″ |
| 49 | HA4143 | 2 | Washer, 1.04″ x 1.5″ x .145″ |
| 50 | 1540-31 | 2 | Washer, Flat .78″ x 1.25″ x .062″ |
| 51 | 23520 | 2 | Spacer, .660″ x .250″ x .250″ L |
| 52 | 68691BL3 | 2 | Ass’y, Dust Cover |
| 53 | 44232 | 2 | Ball Bearing |
| 54 | 1629-56 | 2 | Retainer, Dust Cover |
| 55 | C-9M5732 | 6 | Rivet, Pop |
| 56 | 2-202 | 1 | Brush Shaft |
| 57 | 48866 | 2 | Spacer, .38 “x .50″ x .53” |
| 58 | 23581 | 12 | Retainer, Brush (Single) |
| 59 | 42210 | 2 | Nut, Nylock Jam 3/8-16 |
| 60 | 69421BL3 | 1 | Ass’y, Ht Adjust |
| 61 | 49954 | 6 | Bolt, Hex 10-32 x 1″ Lg. |
| 62 | 43012 | 12 | Bolt, Hex 1/4-20 x 3/4″ Lg. |
| 63 | 23580 | 6 | Retainer, Brush (Double) |
| 64 | 45252 | 6 | Brush, 52″ |
| 65 | 48130 | 2 | Spacer, .795 x 1 x .65″ |
| 66 | 2692-6 | 1 | Gear, Pinion R.H. (not shown) |
| 67 | 3-100 | 1 | Owners Manual |
the fastest way to purchase parts
www.speedepart.com
REPAIR PARTS
Agri-Fab, Inc.
809 South Hamilton
Sullivan, IL. 61951
217-728-8388
www.agri-fab.com
© 2018 Agri-Fab, Inc.

Fit the ends of the two upper hopper tubes (11) into the ends of a rear hopper tube (10) . Align the holes in the ends of the tubes and secure them in place using two



Insert the bag frame strap (8) through the stitched sleeve at the front edge of the bag bottom.

















