

45-0570
30 inch Push Lawn sweePer
Want more information or assembly tips?
Video Instruction Guide youtube.com/c/agrifab
SAFETY RULES
Remember, any equipment can cause injury if operated improperly or if the user does not understand how to operate the equipment. Exercise caution at all times when using this equipment.
Look for this symbol to point out important safety precautions. It means —
ATTENTION! Become alert! Your safety is involved.
- NEVER allow anyone to operate the sweeper without proper instructions.
- NEVER permit children to operate the sweeper.
- NEVER push the sweeper too close to a fire.
- NEVER attempt to remove wire or string wrapped around the brush while the brush is rotating.
- ALWAYS wear eye protection while operating the sweeper.
- Operate the sweeper at reduced speed on rough terrain, in ditches, and on hillsides to prevent tipping and loss of control.
- Stay alert for holes or other hidden hazards.
- This sweeper is not meant for street or highway use. Watch for traffic when sweeping near roadways.
- Keep all nuts and bolts tight.
- The sweeper should be stopped and inspected for damage after striking a foreign object. Repair any damage before operating the equipment.
- Follow maintenance instructions as outlined in this manual.
CARTON CONTENTS

| REF | QTY | PART NO | DESCRIPTION |
| 1 | 1 | 45976 | Handle Tube |
| 2 | 2 | 45977 | Upper Kickstand Tube |
| 3 | 2 | 2-79 | Lower Kickstand Tube |
| 4 | 2 | 28675BL3 | Pivot Catch |
| 5 | 2 | 2-12BL3 | Cross Brace Tube |
| 6 | 1 | 28678BL3 | Left Side Brace |
| 7 | 1 | 28679BL3 | Right Side Brace |
| 8 | 1 | 45981 | Hopper Bag |
| 9 | 2 | 2-25BL3 | Wheel Brace |
| 10 | 1 | 2-26 | Axle |
| 11 | 1 | 28679BL3 | 30 in. Sweeper Housing Assembly |
SHOWN FULL SIZE
NOT SHOWN FULL SIZE
HARDWARE PACKAGE
| REF | QTY | PART NO | DESCRIPTION |
| A | 1 | 26243 | Height Adjustment Handle |
| B | 1 | 24979 | Height Adjustment Strap |
| C | 2 | 43866 | Hex Bolt, 1/4-20 x 5/8 GR5 |
| D | 2 | 41-42 | Clevis Pin, 1/4 x 1-1/2 |
| E | 2 | 43081 | Washer, .375 x .875 x .083 |
| F | 1 | 47810 | Nylock Hex Nut, .312-18 |
| G | 4 | 43085 | Hex Bolt, 5/16-18 x 1-1/2 G5 |
| H | 2 | 28243 | Hex Bolt, 3/8-16 x 2 GR2 |
| I | 2 | 43055 | Hair Pin, 3/32 x 1.8 |
| J | 1 | 23400 | Spacer, .410ID x .620OD x .15 |
| K | 1 | 44326 | Carriage Bolt, 5/16-18 x 1 GR5 |
| L | 2 | 43080 | Carriage Bolt, 5/16-18 x 3/4 GR5 |
| M | 2 | HA21362 | Nylock Hex Nut, 3/8-16 |
| N | 1 | 43720 | Wing Knob, 5/16 -18 |
| O | 1 | 43943 | Height Adjustment Grip |
| P | 5 | 43840 | Hex Bolt, 5/16-18 x 1-1/4 |
| Q | 1 | 25408 | Spacer, .380ID x .875OD x .38 |
| R | 2 | 42210 | Jam Nylock Hex Nut, 3/8-16 |
| S | 1 | 44732 | 3/8 External Tooth Washer |
| T | 6 | 47189 | Nylock Hex Nut, 1/4-20 |
| U | 2 | 48661 | Rubber Adhesive Bumper |
| V | 2 | 43021 | Wheel, 7″ x 1-3/8″ x 1/2″ I.D |
| W | 6 | R19171616 | Washer, .531 x 1 x .059 |
| X | 4 | 43093 | Cotter Pin, 1/8 x 1-1/2 |
| Y | 4 | 1509-90 | Hex Bolt, 1/4-20 x 1-1/4 GR5 |
ASSEMBLY INSTRUCTIONS
TOOLS REQUIRED FOR ASSEMBLY(1) Pliers
(2) 7/16″ Wrenches
(2) 1/2″ Wrenches
(2) 9/16″ Wrenches
Layout and identify parts and hardware using the illustrations on pages 2 and 3.
STEP 1: (SEE FIGURE 1)
- Attach the left and right side braces (6 and 7) to the cross brace tubes (5) using four 5/16-18 x 1-1/4 hex bolts (P) and .312-18 Nylock hex nuts (F).
- Attach the hopper bag (8) to the brace assembly by inserting the Velcro straps on the hopper bag (8) through the slots in the brake assembly.

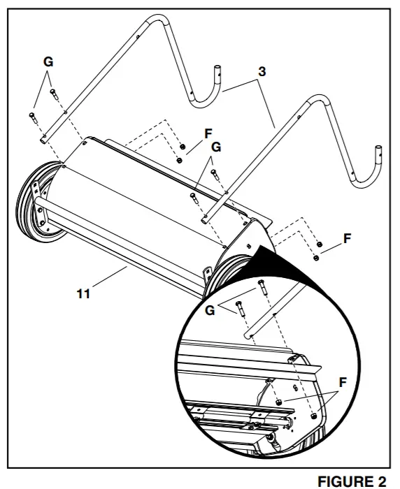
STEP 2: (SEE FIGURE 2)
- Attach the lower kickstand tubes (3) to the sweeper housing assembly (11) using four 5/16-18 x 1-1/2 G5 hex bolts (G) and .312-18 Nylock hex nuts (F).

STEP 3: (SEE FIGURE 3)
- Attach the height adjustment strap (B) to the right side of the sweeper housing (11) using a 5/16-18 x 1-1/4 hex bolt (P), 375 x .875 x .083 washer (E), .41OID x .620OD x .15 spacer (J), .380ID x .875OD x .38 spacer (Q), and .312-18 Nylock hex nut (F).

STEP 4: (SEE FIGURE 4)
- Attach the height adjustment handle (A and O) to the bracket on the sweeper housing (11) using two 5/16-18 x 3/4 GR5 carriage bolts (L) and two.312-18 Nylock hex nuts (F).

STEP 5: (SEE FIGURE 5)
- Connect the height adjustment strap (B) to the height adjustment handle (A) using the 5/16-18 wing knob (N), .375 x .875 x .083 washer (E), 3/8 tooth washer (S), and 5/16-18 x 1 carriage bolt (K).

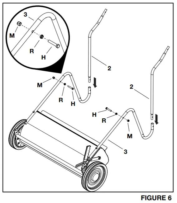
STEP 6: (SEE FIGURE 6)
- Attach a 3/8-16 x 2 GR2 bolt (H), 3/8-16 hex nut (R), and 3/8-16 Nylock hex nut (M) to each lower kickstand tube (3).
- Slide the upper kickstand tubes (2) into the lower kickstand tubes (3).

STEP 7: (SEE FIGURE 7)
- Attach a wheel brace (10) to each upper and lower kickstand tubes (2 and 3) using two 1/4-20 x 1-1/4 GR5 hex bolts (Y) and 1/4-20 Nylock hex nuts (T).

STEP 8: (SEE FIGURE 8)
- Place .531 x 1 x .059 washers (W) on each end of the axle (10) and then slide both ends of the axle (10) into the holes of the wheel braces (9).
- Secure in place using a 1/8 x 1-1/2 cotter pin (X). Use pliers to bend the ends of the 1/8 x 1-1/2 cotter pin (X) once inserted into the holes on the axle (10).

STEP 9: (SEE FIGURE 9)
• Place a .531 x 1 x .059 washer (W) followed by a wheel (V) and then another .531 x 1 x .059 washer (W) onto the end of each axle (10).
• Secure each wheel by inserting a 1/8 x 1-1/2 cotter pin (X) into the hole on the end of each axle (10). Use pliers to bend the ends of the 1/8 x 1-1/2 cotter pins (X) to secure them in place.
STEP 10: (SEE FIGURE 10)
- Slide the handle tube (1) into the ends of each upper kickstand tube (2). Secure the connections in place using a 1/4 x 1-1/2 clevis pin (D) and 3/32 x 1.8 hairpin (I) on each side.

STEP 11: (SEE FIGURE 11)
- Peel the adhesive backing off of the rubber bumpers (U) and adhere a bumper (U) to the underside of each of the two pivot catches (4).
- Attach the pivot catches (4) to the hopper bag assembly using 1/4-20 x 5/8 GR5 hex bolts (C) and 1/4-20 Nylock hex nuts (T).

STEP 12: (SEE FIGURE 12)
- Place the hopper bag assembly over the sweeper assembly and lock the bag into place by sliding over the bolts on the lower kickstand tubes (3).

OPERATION
CAUTION: Always wear eye protection when operating the sweeper.
Take care when operating your sweeper. Operating your sweeper according to these instructions will help prevent damage and prolong the life of your sweeper.
ADJUSTING THE BRUSH HEIGHT
NOTE: Always mow the grass to an even height before sweeping.
To adjust your sweeper brushes to the best operating height:
- Loosen the wing knob on the height adjustment lever.
- Use the height adjustment lever to raise or lower the brush. The ideal height is when the brushes are 1/2″ down into the grass.
- When the desired height is set, tighten the wing knob.
DUMPING THE SWEEPER
CAUTION: DO NOT DUMP THE SWEEPER TOO CLOSE TO A FIRE AS THE BRUSHES AND BAG CAN BE DESTROYED BY EXCESSIVE HEAT OR FLAME.
To dump the sweeper hopper bag, tip the sweeper forward or lift off the complete hopper bag frame. Always dump the hopper after each use. Damp or wet grass and leaves will cause damage to the hopper if stored for long periods of time.
STORAGE
You can hang the entire unit on a wall or remove the hopper bag frame for storage.
LUBRICATION/MAINTENANCE
The bearings in the sweeper have been pre-lubricated at the factory. It is recommended that a few drops of light oil be added to the brush shaft bearings twice a year.
Remove the wheels to clean gears every two years. After cleaning, apply an even coat of light grease.
To remove the wheel, pop off hub cap with a screwdriver and remove the retaining “E” ring and flat washer. See Figure 13.
WHEEL GEARS/DRIVE PIN SERVICE
IMPORTANT: Do not remove both wheels at the same time to avoid mixing parts. (The R.H. and L.H. ratchet gears are not interchangeable.) Make notes on the position of washers and snap rings during disassembly.
See Figure 14.
- Remove only one wheel from the sweeper.
- Remove the retaining rings and washers which hold the ratchet gear onto the brush shaft.
- Remove the gear by sliding it off the brush shaft.
(Look for the drive pin, which may fall out of the brush shaft when the ratchet gear is removed. - To reassemble, insert the drive pin through the hole near the end of the brush shaft. Make sure the pin slides back and forth easily in the shaft.
- Lightly grease the shaft and fill the ratchet gear with grease. Assemble the ratchet gear back onto the shaft.
- Lightly grease the axle and the gear teeth on the wheel and then reassemble the wheel. The brushes should rotate only during forwarding movement. If the brushes rotate by both forward and reverse movement, the drive pin is jamming in the ratchet gear. Disassemble, clean, and lubricate the drive pin and ratchet gear and then reassemble the wheel.
- Remove the other wheel and repeat steps 1-6.

REPLACING BRUSHES
NOTE: Brush replacement should be done one brush at a time.
See Figure 15.
- Remove the hopper bag from the lawn sweeper.
- Tip the sweeper forward on the sweeper housing for ease of brush replacement. Do not remove the hex bolt from the double brush retainers through the brush shaft.
- Loosen the hex bolts and hex lock nuts from the single brush retainers. Slide the brush out of the retainers. Ensure you do not overlap the position of the bristles.
- Install the new brush, making sure the over-lap bristles are positioned the same as before and as shown.

REPAIR PARTS FOR 45-0570 30 INCH PUSH LAWN SWEEPER

| REF | QTY | PART NO | DESCRIPTION |
| 1 | 1 | 6-45BL3 | ASS’Y, 30″ SWEEPER HOUSING (W |
| 2 | 1 | 68206BL3 | ASS’Y, TUBE HEIGHT ADJ |
| 3 | 6 | 43081 | WASHER, .375 X .875 X .083 |
| 4 | 4 | 43182 | BOLT, HEX 5/16-18 X 3/4 GR5 |
| 5 | 3 | 43080 | BOLT, CARRIAGE 5/16-18 X 3/4 GR5 |
| 6 | 15 | 47810 | NUT, HEX .312-18 NYLOC |
| 7 | 2 | 25102BL1 | DUST COVER |
| 8 | 2 | 44598 | AXLE |
| 9 | 2 | 44684 | NUT, HEX 3/8-24 JAM |
| 10 | 2 | R19131316 | WASHER, .406 X .812 X .062 |
| 11 | 2 | 1038 | NUT, HEX 3/8-24 JAM NYLOC |
| 12 | 4 | 141 | WASHER, .378 X 1.25 X .061 |
| 13 | 4 | 44125 | WASHER, .625 X 1 X .03 |
| 14 | 3 | 23400 | SPACER, .410ID X .620OD X .15 |
| 15 | 2 | 716-0106 | RING, RETAINING 5/8″ E |
| 16 | 2 | 44909 | BUSHING, BRUSH SHAFT (PM) |
| 17 | 2 | 714-0121 | PIN, COTTER 5/32 X 1 |
| 18 | 2 | 40001 | WASHER, SHIM .595 X 1.125 X . |
| 19 | 2 | 44008 | WASHER, .756 X 1.125 X .025 |
| 20 | 4 | 1650-21 | RING, RETAINING .594 ID |
| 21 | 2 | 47046 | PIN, DOWEL 1/4 X 3/4 |
| 22 | 1 | 43885 | PINION, L.H. 11 T. |
| 23 | 1 | 43886 | PINION, R.H. 11 T. |
| 24 | 2 | 44006 | WASHER, .849 X .598 X .025 |
| 25 | 4 | 741-0249 | BEARING, FLANGED PV80 .63 ID |
| 26 | 2 | 2674-32 | CAP, HUB BLACK |
| 27 | 1 | 23567 | SHAFT, BRUSH (30 IN) |
| 28 | 4 | 43902 | BRUSH, 30″ SWEEPER 15-3/8″ |
| 29 | 8 | 43012 | BOLT, HEX 1/4-20 X 3/4 GR5 |
| 30 | 18 | 47189 | NUT, HEX 1/4-20 NYLOC |
| 31 | 4 | 23580 | RETAINER, BRUSH (DOUBLE) |
| 32 | 8 | 23581 | BRACKET |
| 33 | 1 | 28680BL1 | BAR, CROSS |
| 34 | 3 | 41157 | RIVET, POP 3/16 SSD 64 BS LF |
| 35 | 3 | 43910 | WASHER, .219 X .5 X .049 |
| 36 | 1 | 45976 | TUBE, HANDLE |
| 37 | 2 | 45977 | TUBE, KICKSTAND – UPPER |
| 38 | 2 | 2-79 | TUBE, KICKSTAND – LOWER |
| 39 | 1 | 28675BL3 | PIVOT CATCH |
| 40 | 2 | 2-12BL3 | TUBE, CROSS BRACE |
| 41 | 1 | 28678BL3 | SIDE BRACE, (L) |
| 42 | 1 | 28679BL3 | SIDE BRACE, (R) |
| 43 | 1 | 45981 | BAG, HOPPER |
| 44 | 2 | 44930 | ASS’Y, WHEEL & TIRE (A-F) |
| 45 | 2 | 2-25BL3 | WHEEL BRACE |
| 46 | 1 | 2-26 | AXLE |
| 47 | 1 | 26243 | HANDLE, HEIGHT ADJ |
| 48 | 1 | 24979 | STRAP, HT ADJUST |
| 49 | 2 | 43866 | BOLT, HEX 1/4-20 X 5/8 GR5 |
| 50 | 2 | 41-42 | PIN, CLEVIS 1/4 X 1-1/2 |
| 51 | 4 | 43085 | BOLT, HEX 5/16-18 X 1-1/2 G5 |
| 52 | 2 | 28243 | BOLT, HEX 3/8-16 X 2 GR2 |
| 53 | 2 | 43055 | PIN, HAIR 3/32 X 1.8 |
| 54 | 1 | 44326 | BOLT, CARRIAGE 5/16-18 X 1 GR |
| 55 | 2 | HA21362 | NUT, HEX 3/8-16 NYLOC |
| 56 | 1 | 43720 | KNOB, WING 5/16 -18 (X-9966) |
| 57 | 1 | 43943 | GRIP HT. ADJ 32″/38″ |
| 58 | 5 | 43840 | BOLT, HEX 5/16-18 X 1-1/4 G5 |
| 59 | 1 | 25408 | SPACER, .380ID X .875OD X .38 |
| 60 | 2 | 42210 | NUT, HEX 3/8-16 JAM NYLOC |
| 61 | 1 | 44732 | WASHER, 3/8 EXTERNAL TOOTH |
| 62 | 4 | 43661 | BOLT, HEX .25-20 X 1 GR5 |
| 63 | 2 | 48661 | BUMPER, RUBBER (ADHESIVE BACK) |
| 64 | 2 | 43021 | WHEEL, 7″ X 1-3/8″ X 1/2″ I.D |
| 65 | 6 | R19171616 | WASHER, .531 X 1 X .059 |
| 66 | 4 | 43093 | PIN, COTTER 1/8 X 1-1/2 |
| 67 | 4 | 1509-90 | BOLT, HEX 1/4-20 X 1-1/4 GR |
the fastest way to purchase parts is www.speedepart.com
REPAIR PARTS
Agri-Fab, Inc.
809 South Hamilton
Sullivan, IL. 61951
217-728-8388
www.agri-fab.com
This document (or manual) is protected under the U.S. Copyright Laws and the copyright laws of foreign countries,
pursuant to the Universal Copyright Convention and the Berne Convention. No part of this document may be reproduced
or transmitted in any form or by any means, electronic or mechanical, including photocopying or recording, or by any
information storage or retrieval system, without the express, written permission of Agri-Fab, Inc. Unauthorized uses and/or
reproductions of this manual will subject such unauthorized users to civil and criminal penalties as provided by the United
States Copyright Laws.
© 2020 Agri-Fab, Inc.


























