Carrier 30XA080-501 Minimum Load Control Accessory Installation Guide
SAFETY CONSIDERATIONS
Installation and servicing of air-conditioning equipment can be hazardous due to system pressure and electrical components. Only trained and qualified service personnel should install, repair, or service air-conditioning equipment.
Untrained personnel can perform basic maintenance functions of cleaning coils and filters and replacing filters. All other operations should be performed by trained service personnel. When working on air-conditioning equipment, observe precautions in the literature, tags and labels attached to the unit, and other safety precautions that may apply.
Follow all safety codes. Wear safety glasses and work gloves. Use quenching cloth for unbrazing operations. Have fire extinguisher available for all brazing operations.
It is important to recognize safety information. This is the safety alert symbol. When you see this symbol on the unit and in instructions or manuals, be alert to the potential for personal injury.
Understand the signal words DANGER, WARNING, CAUTION, and NOTE. These words are used with the safety-alert symbol. DANGER identifies the most serious hazards which will result in severe personal injury or death. WARNING signifies hazards which could result in personal injury or death. CAUTION is used to identify unsafe practices, which may result in minor personal injury or product and property damage. NOTE is used to highlight suggestions which will result in enhanced installation, reliability, or operation.
WARNING
DO NOT USE TORCH to remove any component. System contains oil and refrigerant under pressure.
To remove a component, wear protective gloves and goggles and proceed as follows:
- a. Shut off electrical power to unit.
- b. Recover refrigerant to relieve all pressure from system using both high-pressure and low pressure ports.
- c. Traces of vapor should be displaced with nitrogen and the work area should be well ventilated. Refrigerant in contact with an open flame produces toxic gases.
- d. Cut component connection tubing with tubing cutter and remove component from unit. Use a pan to catch any oil that may come out of the lines and as a gage for how much oil to add to the system.
- e. Carefully un-sweat remaining tubing stubs when neces- sary. Oil can ignite when exposed to torch flame. Failure to follow these procedures may result in personal injury or death.
WARNING
Electrical shock can cause personal injury and death. Shut off all power to this equipment during installation. There may be more than one disconnect switch. Tag all disconnect locations to alert others not to restore power until work is completed.
GENERAL
This control accessory reduces 30XA chiller capacities below the standard lowest capacity step. This capacity reduction provides more precise control of leaving fluid temperature during light load conditions.
The minimum load control solenoid valve limits the amount of gas that can be bypassed from the condenser without impacting oil return.
One accessory package is required for 30XA080-350, 401, 451, 476, and 501 units. Two accessory packages are required for 30XA400, 450, and 500 units to accommodate connections for three refrigerant circuits. See Table 1 for accessory package usage.
Table 1 — Accessory Package Usage for Flooded Evaporator Units
| 30XA UNIT SIZE | ACCESSORY PART NO. |
| 080-240 | 00EFN900002700A |
| 260-300 | 00EFN900002800A |
| 325,350,401,451,476,501 | 00EFN900002900A |
| 400* | 00EFN900002700A, 00EFN900002800A |
| 450*, 500* | 00EFN900002800A, 00EFN900002900A |
*See Tables 2-4 for specific circuit usage.
INSTALLATION
Examine the package contents for correct part numbers. If any of the components are damaged, file a claim with the shipping company and notify your Carrier representative.
See Table 2, 3, or 4 for package contents. See Fig. 1 for dimensional drawings of tubes included in the kit.
The following material is field supplied:
- 5/8 in. OD copper tubing
- 5/8 in. OD copper tube elbows and couplings (as required)
- Loctite 554 thread sealing compound
- Parker Super O-lube O-ring lubricant
Install the Solenoid Valve Tube Assembly
- Lock out and tag out all disconnects.
- Remove refrigerant charge from the circuits using an approved refrigerant recovery device before proceeding with this installation. Follow good piping practices.
- Locate the discharge manifold for minimum load piping on the side of the coil V for each circuit as shown in Fig. 2.
Locate the 1/2 in. NPT pipe plugs on the top of the cooler for each circuit. See Fig. 3. - Remove the 1/2 in. NPT pipe plugs from the top of the cooler.
Use the thread sealing compound and install one 1 in.-14 O-ring seal (ORS) x 1/2 in. NPT adapter for each circuit.
Lightly lubricate each O-ring with O-lube and attach the tube assembly to each adapter. See Fig. 3. Be sure to attach the correct tube assembly to the cooler. Refer to the usage column in Tables 2, 3, or 4 for tube assembly part number corresponding to the unit size and circuit. The nut on the tube assembly should be torqued to 30 ft-lb (40 N-m). - If equipped, remove the trim panel on the discharge manifold for minimum load piping on the side of the coil V. Use a tubing cutter to cut 11/2 in. out from the discharge manifold for each circuit. See Fig. 4. Braze a tee in between the gap and, depending on the routing of the hot gas bypass tubing, have the tee’s remaining port facing either left or right. Use standard brazing techniques and a nitrogen purge.
- Use field-supplied 5/8 in. OD copper tubing and fittings (as required) to pipe from the solenoid valve outlet to the 5/8 in. port of the tee on the discharge manifold. Use the provided 5/8 in. tubing clamps to secure the tubing to the unit frame as necessary.
- When piping is completed, leak test the assembly.
- Evacuate, dehydrate, and recharge each circuit. Be sure to use the correct type and amount of refrigerant listed in the nameplate data and base unit documentation.
Table 2 — Contents of Accessory Kit, Part No. 00EFN900002700A
| PART NUMBER | QUANTITY | DESCRIPTION | USAGE |
| 00PSN500171700A | 2 | Tube assembly including solenoid valve, ball valve, and 90 degree bend tube assembly | 30XA080-240,400: Circuit A and B. Cooler shell minimum load tubing assembly, connected to 30GX503492 adapter. |
| 30GX503492 | 2 | 1 in. -14 ORS x 1/2 in. NPT adapter | One per circuit. Cooler shell minimum load port. |
| 00PPG000011600A | 2 | Solenoid coil assembly | One per circuit. Plug onto solenoid valve stub on 00PSN500171700A tube assembly. |
| KA66AA062 | 4 | 5/8 in. tube clamp | Secure minimum load piping to the frame as required. |
| DE40BA705 | 2 | 1 1/8 in. x 1 1/8 in. x 5/8 in. Tee | One per circuit. Discharge manifold on the side of condenser coil V. |
| TH70400410 | 2 | Cable assembly | One per circuit. Connect to solenoid coil assembly and terminal block TB5 in control box. |
| 00PPN500000401A | 4 | No. 10 Screw | Mount tube clamps |
| 32GB500432EE | 1 | HGBP/Pump board assembly | Mount in control box |
| TH70400864 | 1 | Harness assembly | Wiring between TB5 and HGBP/Pump board |
| HH83ZB010 | 1 | 24 v circuit breaker (CB14) | Mount on display bracket in control box |
| A6X10004352 | 4 | No. 8 screw | Mount HGBP/Pump board |
| A6X10004434 | 4 | Board mounting standoff | Mount HGBP/Pump board (30XA140-240,400: all voltages and 30XA080-120: 200/230 v, 380 v) |
| TH70400852 | 1 | Communication cable assembly | 30XA140-240,400: all voltages and 30XA080-120: 200/230 v, 380 v |
| HY89TB010 | 3 | Wire nut | Splice communication cable (30XA080-120: 460 v, 575 v) |
LEGEND
- HGBP — Hot Gas Bypass
- ORS — O-Ring Seal
- TB — Terminal Block
Table 3 — Contents of Accessory Kit, Part No. 00EFN900002800A
| PART NUMBER | QUANTITY | DESCRIPTION | USAGE |
| 00PSN500171700A | 1 | Tube assembly including solenoid valve, ball valve, and 90 degree bend tube assembly | 30XA260-300,450,500: Circuit B 30XA400: Circuit C Cooler shell minimum load tubing assembly, con- nected to 30GX503492 adapter. |
| 00PSN50017 | 1 | Tube assembly including solenoid valve, ball valve, and 90 degree bend tube assembly | 30XA260-300: Circuit A Cooler shell minimum load tubing assembly, con- nected to 30GX503492 adapter. |
| 30GX503492 | 2 | 1 in. -14 ORS x 1/2 in. NPT adapter | One per circuit. Cooler shell minimum load port. |
| 00PPG000011600A | 2 | Solenoid coil assembly | One per circuit. Plug onto solenoid valve stub on 00PSN500171700A tube assembly. |
| KA66AA062 | 4 | 5/8 in. tube clamp | Secure minimum load piping to the frame as required. |
| DE40BA705 | 2 | 11/8 in. x 11/8 in. x 5/8 in. Tee | One per circuit. Discharge manifold on the side of condenser coil V. |
| TH70400410 | 2 | Cable assembly | One per circuit. Connect to solenoid coil assembly and terminal block TB5 in control box. |
| 00PPN500000401A | 4 | No. 10 Screw | Mount tube clamps |
| 32GB500432EE | 1 | HGBP/Pump board | Mount in control box |
| TH70400864 | 1 | Harness assembly | Wiring between TB5 and HGBP/Pump board |
| HH83ZB010 | 1 | 24 v circuit breaker (CB14) | Mount on display bracket in control box |
| A6X10004352 | 4 | No. 8 screw | Mount HGBP/Pump board |
| A6X10004434 | 4 | Board mounting standoff | Mount HGBP/Pump board (30XA260-300,400,450, 500: all voltages) |
| TH70400852 | 1 | Communication cable assembly | 30XA260-300,400,450,500: all voltages |
| HY89TB010 | 3 | Wire nut | Splice communication cable |
LEGEND
- HGBP — Hot Gas Bypass
- ORS — O-Ring Seal
- TB — Terminal Block
Table 4 — Contents of Accessory Kit, Part No. 00EFN900002900A
| PART NUMBER | QUANTITY | DESCRIPTION | USAGE |
| 00PSN500175200A | 2 | Tube assembly including solenoid valve, ball valve, and 90 degree bend tube assembly | 30XA325-350,401,451,476,501; Circuit A and B 30XA450,500: Circuit C Cooler shell minimum load tubing assembly, connected to 30GX503492 adapter. |
| 30GX503492 | 2 | 1 in. – 14 ORS x 1/2 in. NPT adapter | One per circuit. Cooler shell minimum load port. |
| 00PPG000011600A | 2 | Solenoid coil assembly | One per circuit. Plug onto solenoid valve stub on 00PSN500175200A tube assembly. |
| KA66AA062 | 4 | 5/8 in. tube clamp | Secure minimum load piping to the frame as required. |
| DE40BA705 | 2 | 11/8 in. x 11/8 in. x 5/8 in. Tee | One per circuit. Discharge manifold on the side of condenser coil V. |
| TH70400410 | 2 | Cable assembly | One per circuit. Connect to solenoid coil assembly and terminal block TB5 in control box. |
| 00PPN500000401A | 4 | No. 10 screw | Mount tube clamps |
| 32GB500432EE | 1 | HGBP/Pump board | Mount in control box |
| TH70400864 | 1 | Harness assembly | Wiring between TB5 and HGBP/Pump board |
| HH83ZB010 | 1 | 24V circuit breaker (CB14) | Mount on display bracket in control box |
| A6X10004352 | 4 | No. 8 screw | Mount HGBP/Pump board |
| A6X10004434 | 4 | Board mounting standoff | Mount HGBP/Pump board (325,350, 401-501: all voltages) |
| TH70400852 | 1 | Communication cable assembly | 30XA325,350, 401-501: all voltages. |
| HY89TB010 | 3 | Wire nut | Splice communication cable |
LEGEND
- HGBP — Hot Gas Bypass
- ORS — O-Ring Seal
- TB — Terminal Block

Fig. 1 — Dimensions of Tube Assemblies Provided in Accessory Kit


Fig. 2 — Discharge Manifold Location for Minimum Load Piping Per Circuit
Fig. 3 — Typical Solenoid Valve Tube Assembly Installation
Fig. 4 — Discharge Manifold Modification and Tee Brazing
Install HGBP (Hot Gas Bypass)/Pump Board and Control Wiring
NOTE: If the unit is factory-equipped with a dual pump package or if the external pump control accessory has been installed, the HGBP/Pump board is already installed on the unit
- Attach the solenoid coil assembly to the solenoid valve plunger on the tube assembly for each circuit. One cable assembly TH70400410 is supplied per circuit. Secure the DIN connector end on the solenoid valve coil with the screw in the connector. Verify the square rubber gasket is in place to ensure connection remains watertight.
CAUTION
Take care connecting leads to terminal blocks. Incorrect polarity will damage the control boards. - Route the other end of the cable to the main control panel (where the display is located). For the circuit A solenoid, connect leads to TB5-7 and TB5-13. For the B circuit solenoid, connect leads to TB5-8 and TB5- 13.For the C circuit solenoid (30XA400, 450, and 500 only), connect the leads to TB5-6 and TB5-13. In all cases, the brown wire from the solenoid must be connected to TB5-13 to ensure correct polarity.
- Set the board address of the HGBP/Pump Board by positioning the dual in-line package (DIP) switches to the correct settings. See Fig. 5. Mount the HGBP/Pump board in the main control panel with the No. 8 screws provided (mounting standoffs required for 30XA080-120: 200 v, 230 v, 380 v and 30XA140-501: all voltages). See Fig. 6 and 7 for the board mounting location. The display mounting bracket can be removed by loosening the 4 mounting screws on the corners.
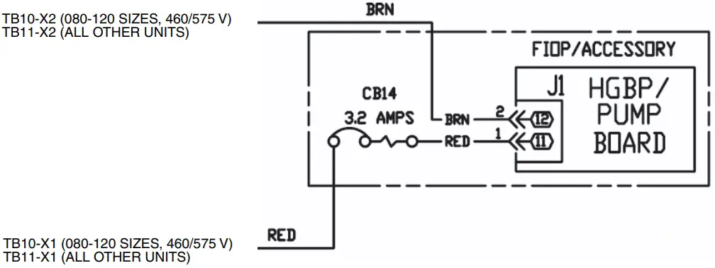
- Mount the 24-v circuit breaker (CB14) in the CB14 mounting hole on the display bracket. See Fig. 6 and 7 for the mounting hole location.
- Connect the 24-v power from TB10-X1 (30XA080-120: 460 v, 575 v only) or TB11-X1 (30XA080-120: 200/230 v and 30XA140-501: all voltages) to CB14 with the provided red wire in the harness assembly (TH70400864). Find two 2-
pin plugs marked J1-11,12 with red and brown wires in the harness assembly (TH70400864). Connect the plug to the HGBP/Pump board J1 with the red wire connected to CB14 and the brown wire connected to TB10-X2 (30XA080-120: 460 v, 575 v only) or TB11-X2 (30XA080-120: 200/230 v and 30XA140-501: all voltages). See Fig. 8. - Using harness TH70400864 provided in the kit, connect TB5 pins 6 (30XA400, 450, and 500 only), 7, 8, and 13 to HGBP/ Pump board J2 CH3, CH4 and J3 CH5 (30XA400, 450, and 500 only). Use the pins on the underside of TB5. See Fig. 5.
- For 30XA080-120: 200/230 v, 380 v and 30XA140-501: all voltages, disconnect the 3 pin plug on MBB J9B (or EMM board J9A) for communication and plug it in to the HGBP/ Pump board J9. Use the additional communication cable assembly TH70400852 provided in the kit to connect between HGBP/Pump board J9 and MBB J9B (or EMM board J9A when EMM board exists). The communication cable in the TH70400864 harness will not be used. For 30XA080-120: 460 v, 575 v, connect the 3 pin plug of the communication cable in the TH70400864 harness to the HGBP/Pump board J9 and splice the other end of the cable to the communication network using the wire nuts provided in the kit. Be sure to splice the wires with same color together to ensure correct polarity.
- Restore power to unit.

Fig. 5 — HGBP/Pump Board Address Switch and Wiring for Minimum Load Solenoid Output

Fig. 6 — HGBP/Pump Board and CB14 Mounting Location (30XA080-120: 200 v, 230 v, 380 v; and 30XA140-501: All Voltages)

Fig. 7 — HGBP/Pump Board and CB14 Mounting Location (30XA080-120: 460 v, 575 v)

Fig. 8 — HGBP/Pump Board 24 v Power Wiring
Configure Unit for Minimum Load Control
The controls must be configured for the minimum load control operation. Use the Touch Pilot™ or the Navigator™ display to configure the system. Refer to the 30XA Controls, Start-Up, Operation, Service, and Troubleshooting manual for additional information.
Complete the following steps to configure minimum load control with the Touch Pilot display:
- Ensure the unit is in Local Off operating mode by looking at the upper left hand corner of the group display. If the unit is not in Local Off mode, press the Start/Stop button
to switch to the Local Off operating mode. - Press the main menu button
on the bottom line of the display, and then select Service → Factory to navigate to the factory table. - Scroll down the screen by pressing the Scroll Down button
or the Page Down button
until Hot Gas Bypass Select is displayed on the screen. Press Hot Gas Bypass Select to display the Point Data dialog. - Press the Modify button
. If the login menu is displayed, log in with the password. The default password is 3333. Press the OK button
to confirm the input. The value of hgbp_sel will display. Select Yes and press the OK button
to confirm the input. - Press the Home button
on the bottom line of the display.
A save confirmation menu will display. Press the OK button
to confirm the action. - Wait 10 seconds and cycle the control power using the Emergency On/Off switch (SW2).
The chiller is now configured for minimum load valve control. Complete the following steps to configure minimum load control with the Navigator display:
- Set the Enable/Off/Remote switch to the Off position.
- Press ESCAPE until the screen is blank and use the arrow key to select the Configuration mode LED.
- Press ENTER , then use the arrow key to select the submode ‘UNIT’, then press the ENTER key.
- Press the down arrow key until ‘HGBP’ is displayed.
- Press the ENTER key. If the login menu is displayed, log in with the password. The default password is 0 1 1 1. Use the arrow keys to change each number’s value. Press the key ENTER after each number until finished.
- Press the key ENTER so that ‘No’ flashes.
- Use the arrow keys to change the value to ‘Yes.’
- Press the ENTER key.
- Press the ESCAPE key until ‘DISP’ is displayed. Wait
- seconds and cycle the control power using the Emergency On/Off switch (SW2).
The chiller is now configured for minimum load valve control.
Test Minimum Load Relay Output
Use the Touch Pilot or Navigator display’s service test mode and the instructions given in their Controls, Start-Up, Operation, Ser- vice, and Troubleshooting manuals to verify proper operation of the solenoid(s).
For the Touch Pilot display:
- Ensure the unit is in Local Off operating mode by looking at the upper left hand corner of the group display. If the unit is not in the Local Off mode, press the Start/Stop button
to switch to the Local Off operating mode. - Press the Main Menu button
on the bottom line of the display and then select Status → Quick Test Enable. - Press the Force button
. If the login menu is displayed, log in with the password. The default password is 3333. Press the OK button
to confirm the input. - The value of qck_test1 will display. Select On and press the OK button
to confirm the input. - Scroll down the screen by pressing the scroll down button
or the page down button
until Cir. A Hot Gas Bypass is displayed on the screen. Press Cir. A Hot Gas Bypass Select to display the Point Data dialog. - Press the Force button
. Select On and press the OK button
to confirm input. - Verify that the Cir. A minimum load valve (MLV) solenoid is energized.
- Proceed to Cir. B Hot Gas Bypass and Cir. C Hot Gas Bypass (30XA400, 450, 500 only) by pressing the page down button
. Repeat Steps 5-7 for Cir. B MLV and Cir. C MLV. - Use the page up button
to return to the top of the table and select Quick Test Enable. - Press the Force button
. - Select Off and press the OK button
to disable Quick Test. - Once the outputs have been tested, the installation is complete. Return the Touch Pilot to Local Off operating mode.
For the Navigator display:
- Set the Enable/Off/Remote switch to the Off position.
- Press ESCAPE until the screen is blank and use the arrow key to select the Service Test mode LED.
- Press ENTER , then use the arrow key to select the submode ‘QUIC’, then press the ENTER key.
- Press the down arrow key until ‘HGP.A’ is displayed.
- Press the key ENTER. If the login menu is displayed, log in with the password. The default password is 0 1 1 1. Use the arrow keys to change each number’s value. Press the key ENTER after each number until finished.
- Press the key ENTER so that ‘Off’ flashes.
- Use the arrow keys to change the value to ‘On.’
- Press the ENTER key .
- Verify that the Cir. A minimum load valve (MLV) solenoid is energized.
- Proceed to ‘HGP.B’ and ‘HGP.C’ (30XA400, 450, and 500 only) and repeat Steps 4-9 for Cir. B MLV and Cir. C. MLV.
- Once the outputs have been tested, the installation is complete. Return the Enable/Off/Remote contact switch to the desired position.
Adjust Setting of Minimum Load Ball Valve
Before the installation is complete, the minimum load ball valve must be adjusted to suit the application. Calibrate one circuit at a time as follows:
- Adjust the ball valve so that it is approximately half open.
- Operate the chiller in Service Test mode with one circuit operating and the compressor at minimum capacity.
NOTE: Operation of the chiller in Manual Control mode is described in the Controls, Start-Up, Operation, and Troubleshooting Guide that is included with the 30XA Comfort Link chillers. - Record the cooler ∇T (the difference between cooler entering fluid temperature and cooler leaving fluid temperature) at this fully unloaded condition.
- Open the minimum load solenoid valve with a weld magnet.
Be sure to protect the solenoid valve coil from burnout if it is energized from the controls while disconnected from the solenoid body. - Observe and record the cooler T with the minimum load valve energized.
- Adjust the minimum load ball valve until the cooler temperature difference reading from Step 5 is equal to half of the temperature difference reading from Step 3.
- Open the ball valve to decrease the temperature difference or close the ball valve to increase the temperature difference (∇T). When the valve is adjusted correctly, the difference between cooler entering and leaving fluid temperatures when the minimum load control is energized must be at least half of the temperature difference when the minimum load control is deenergized. For example, if the difference between the cooler entering and leaving water temperature is 3°F (1.7°C) with the valve deenergized, then the difference between cooler entering and leaving water temperature must be at least 1.5°F (0.8°C) with the valve energized.
- Once the outputs have been tested and the ball valve properly adjusted, reinstall the solenoid valve coil on the solenoid valve.



















