PILKO BR 194 Electric Locomotive

Product Information
The product is an electric locomotive model BR 194 with a buffer condenser. The capacity of the condenser depends on the specifications of the decoder used. The model is available in two versions: DC and AC. It also comes with a speaker and PSD XP 5.1 sound.
Key Features
- Headlight
- Short, middle, and long whistle blast
- Start-up light/headlight above
- Train lighting in the push and pull mode
- Cab light
- Engine room lights
- Fan, compressor, and auxiliary air compressor
- Pantograph coupling
- Radio chatter 1, 2, and 3
- Curve squeal and clickety-clack sounds
- Volume regulator and tunnel mode
- Kurzkupplung
Product Usage Instructions
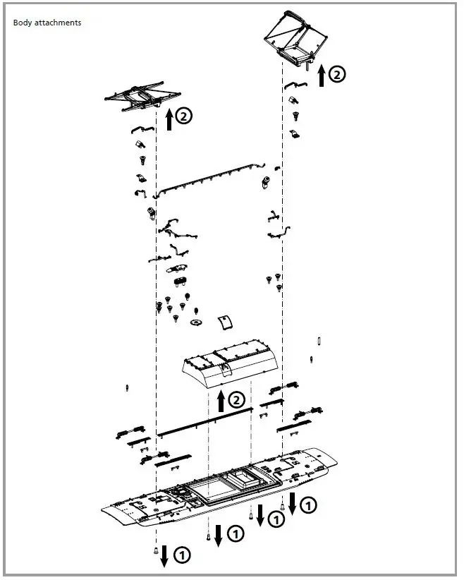
Body Disassembly
To disassemble the locomotive’s body, follow the steps below:
- Carefully pull out the cables from the plug-in hole.
- In the AC version only, remove the main board and motor.
- In the DC version only, remove the Kurzkupplung.
Buffer Condenser
The model comes with a buffer condenser at the factory. The capacity of the condenser depends on the individual requirements of the applied decoder. For requests about suitable buffer condensers, please get in touch with the respective decoder manufacturer.
Product Spare Parts
The locomotive comes with spare parts that can be used to replace damaged components. The spare parts include:
- Mainboard with lighting boards and cables
- Loudspeaker
| Key | Function |
| F0 | Headlight |
| F1 | Engine |
| F2 | Short Whistle Blast |
| F3 | Middle Whistle Blast |
| F4 | Long Whistle Blast |
| F5* | Start-up Light / Headlight above |
| F6* | Train Lighting: push mode |
| F7 | Switching Gear |
| F8 | Cab Light |
| F9 | Engine Room Lights |
| F10 | Train Lighting: Engine pulling |
| F11 | Train Lighting: Engine pushing |
| F12 | Fan |
| F13 | Compressor |
| F14 | Auxiliary Air Compressor |
| F15 | Pantograph |
| F16 | Coupling |
| F17 | Radio Chatter 1 |
| F18 | Radio Chatter 2 |
| F19 | Radio Chatter 3 |
| F20 | Curve Squeal |
| F21 | Clickety-Clack |
| F22 | Volume Regulator |
| F23 | Tunnel mode |
depending on version
- The model is equipped with a buffer condenser at the factory.
- The capacity of the condenser depends on the individual requirements of the applied decoder. For requests about suitable buffer condensers please get in touch with the respective decoder manufacturer.
Instruction sheet for Electric Locomotive BR 194
MODEL
- # 51472 Gleichstrom DC
- # 51473 Wechselstrom AC
| PluX22 | ||
| 0-12 V | ||
| 0-16 V | ||
Spare parts for Electric Locomotive BR 194
- Please order the wanted spare part with the complete spare part item number.

| Description | spare part N° | PG* |
| Body, middle w window | 51470-03 | 15 |
| Roof, complete | 51470-08 | 15 |
| Hood | 51470-14 | 9 |
| Pantograph | 51470-17 | 13 |
| Front hood 1 | 51470-24 | 11 |
| Front hood 2 | 51470-25 | 11 |
| Handrails door (8 pcs.) | 51470-36 | 8 |
| wiper | 51470-47 | 9 |
| Contact plate loudspeaker | 51470-48 | 11 |
| Coupling hook, brake hose, step | 51470-49 | 8 |
| Kabeln Mainboard with light boars and wires | 51470-53 | 17 |
| Light cover for light boards | 51470-55 | 7 |
| Driver cab | 51470-56 | 8 |
| Motor, complete | 51470-57 | 15 |
| Cardan shaft + bushes | 51470-58 | 8 |
| Screw axle | 51470-59 | 9 |
| Coupling shaft, cover, spring | 51470-60 | 8 |
| Catwalk with buffer beam Front hood 1 | 51470-65 | 13 |
| Catwalk with buffer beam Front hood 2 | 51470-66 | 13 |
| Gearbox | 51470-79 | 13 |
| Front bogie frame, complete | 51470-81 | 16 |
| Rear bogie frame, complete | 51470-82 | 16 |
| Valve, grip stick, ladder | 51470-85 | 10 |
| Spring for drawbar (2 pcs.) | 96400-89 | 5 |
| Cover gearbox | 51470-90 | 7 |
| Screws (set of 29) | 51470-92 | 7 |
| Description | spare part N° | PG* |
| Spare parts standard range | ||
| Friction tires (set of 10) | 56026 | |
| Coupling, complete (set of 2) | 56030 | |
| H0 PIKO short Coupling (set of 4) | 56046 | |
| Replacement loudspeaker | 56330 | |
| PIKO SmartDecoder XP 5.1 Sound | 56601 | |
| only for the DC version | ||
| Wheelset w gearwheel + friction tires | 51470-86 | 12 |
| Wheelset without gearwheel (2 pcs.) | 51470-87 | 11 |
| Wheelset with gearwheel (2 pcs.) | 51470-88 | 11 |
| only for the AC version | ||
| Slider w screw | 59380-42 | 10 |
| Gearbox | 51471-80 | 13 |
| Wheelset w gearwheel + friction tires | 51471-86 | 12 |
| Wheelset without gearwheel (2 pcs.) | 51471-87 | 11 |
| Wheelset with gearwheel (2 pcs.) | 51471-88 | 11 |
| Cover gearbox | 51471-91 | 8 |
INSTALLATION INSTRUCTIONS








PIKO Spielwaren GmbH • Lutherstraße 30 • 96515 Sonneberg • GERMANY

















