Roco 71968 H0 Electric Locomotive 193 DB-AG

Product Information
The product is an H0 model electric locomotive 193, DB-AG. It comes with a sound decoder and can be operated in both analog and digital modes. The locomotive is compatible with different couplings and has small kits that can be attached to it.
In the Box
- Electric locomotive 193, DB-AG
- Sound decoder
- Accessory bag with small kits
Maintenance
The locomotive needs regular maintenance after approximately 30 hours of operation. Cleaning the wheel contacts, lubrication, and changing of traction tyres are some of the maintenance tasks that need to be performed.
Product Usage Instructions
Starting Locomotive Operation
- Unwrap the model carefully with the foil.
- Before use, it is advisable to let the locomotive run forwards and backwards without load for about 30 minutes each to obtain an optimal circuit and best tractive power.
- The smallest radius this model should run is R2 of the ROCO track system (R2 = 358 mm).
- The locomotive runs smoothly on clean tracks only. Use item no. 46400, Roco track cleaning van, or item no. 10002, Roco track cleaning rubber, for removing heavy dirt.
- Operation is possible with different couplings. We recommend using the Roco close coupling.
Maintenance of the Model
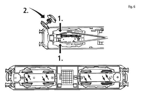
- Clean the wheel contacts using a small brush to remove dirt from spots marked in fig. 6. Prior to cleaning the contacts, dismantle the bogie (fig. 5).
- Lubricate the spots marked in fig. 9 with tiny oil drops. Prior to lubrication, dismantle the locomotive (fig. 4). Use item no. 10906, Roco oiler for lubrication. For lubricating gear parts, use Roco special grease (item no. 10905). Do not oil these parts when using our grease.
- To change the traction tyre, remove the gear cover (fig. 5). Take out the wheel set and remove the traction tyre using a pin or a fine screwdriver (fig. 7). When pressing on the new traction tyre, avoid twisting it.
Don‘t throw your box in the dustbin. If your model is not in use this box will keep it safe. If kits are mounted on a wagon it will be slightly tight when placing it in the original box. This guarantees safe transport. It is therefore recommended to cut out certain parts of the original box. To keep the model like the original, smaller parts (e.g. buffers) had been manufactured separately from the body and are not tightly fixed on it. Therefore they probably can get lost. In this case you certainly may reorder them but a complaint would not be acceptable.
Safety instructions: This product may only be used in closed rooms.
Do not expose the model to direct sunlight, severe temperature fluctuations or high air humidity.
We reserve the right to change the construction and design!

Modelleisenbahn GmbH
A-5101 Bergheim
Plainbachstraße 4
Email: [email protected]
Tel.: 00800 5762 6000
free of charge
International: +43 820 200 668
chargeable
local tariff for landline
Mobile max. 0,42€/min.
incl. VAT)
Starting locomotive operation
Unwrap model: Take out the model cautiously with foil (fig. 1).

Operating instructions: Before use is advisable to let the loco go around about 30 minutes for-wards an 30 minutes backwards without load, to obtain an optomal circuit and best tractive power. The smallest radius this model should run is R2 of the ROCO track system (R2 = 358 mm).
Your locomotive will run smoothly on clean tracks only. For this purpose we recommend using item no. 46400, Roco track cleaning van, or item no. 10002, Roco track cleaning rubber, for removing heavy dirt.
Fittings: Operation is possible with different couplings (fig. 2). We recommend using the Roco close coupling.
In the enclosed accessory bag you will find small kits to be fitted on your locomotive. Please mount them cautiously.
Attention! Use glue only if indicated (fig. 2+3).


Authentic for model

Driver‘s Cab 1
Running in digital mode:
Remove the jumper from the interface.
Finally put the plug of the chip into the interface as shown in fig. 8.

A.C. operation: see fig. 11

More information about the sound decoder can be found here

Maintenance of the model
To enjoy your model for a long time, it is necessary to service it regularly (i.e. after it has been in operation for approximately 30 hours).
- Cleaning of wheel contacts: Wheel contacts easily get dirty on tracks which are not entirely clean. Use a small brush to remove dirt from spots marked in fig. 6. Prior to cleaning the contacts dismantle the bogie (fig. 5).

- Lubrication: Apply tiny oil drops to spots marked in fig. 9. Prior to lubrication dismantle locomotive (fig. 4). We recommend using item no. 10906, Roco oiler. For lubrication the gear parts (e.g. cogwheels, worm) we would recommended our Roco special grease (item no. 10905). Attention: Please do not oil these parts when using our grease.


- Change of traction tyre: Remove the gear cover (fig. 6). Take out wheel set and remove traction tyre using a pin or a fine screwdriver (fig. 7). When pressing on the new traction tyre please avoid twisting it.


- Motor Changing: First remove loco body (fig. 4) and then change the motor (fig. 10).

Assembly: During assembly please take care of correct position of contacts.
Dip-Switch for analog model 71967

Position “ON”
Works setting: The headlight is illuminated in the analog and digital operations, depending on the direction of travel.
Dip-Switch for analog model 7196

Position „OFF“
In the analog operation, the headlight is deactivated.
Decoder interface




























