SBI CW2100 Wood Insert

Safety Information and Environment
- Some appliances have been tested for use with an open door in conjunction with a fire screen, sold separately (See in the Wood Insert Installation and Operation Manual if your appliance has this option). The door may be opened, or fire screen removed only during lighting procedures or reloading. Always close the door or put back on the fire screen after ignition. Do not leave the insert unattended when the door is open with or without a fire screen.
- WARNING: OPERATE ONLY WITH THE DOOR FULLY CLOSED OR FULLY OPEN WITH THE FIRE SCREEN IN PLACE. IF THE DOOR IS LEFT PARTLY OPEN, GAS AND FLAME MAY BE DRAWN OUT OF THE OPENING, CREATING RISKS FROM BOTH FIRE AND SMOKE.
- HOT WHILE IN OPERATION, KEEP CHILDREN, CLOTHING AND FURNITURE AWAY. CONTACT MAY CAUSE SKIN BURNS. GLOVES MAY BE NEEDED FOR INSERT OPERATION.
- Using an insert with cracked or broken components, such as glass, firebricks or baffle may produce an unsafe condition and may damage the insert.
- Open the air control fully before opening the loading door.
- NEVER USE GASOLINE, LANTERN FUEL (NAPHTHA), FUEL OIL, MOTOR OIL, KEROSENE, CHARCOAL LIGHTER FLUID, OR SIMILAR LIQUIDS OR AEROSOLS TO START A FIRE IN THIS INSERT. KEEP ALL SUCH LIQUIDS OR AEROSOLS WELL AWAY FROM THE INSERT WHILE IT IS IN USE.
- Do not store fuel within heater minimum installation clearances.
- Burn only seasoned natural firewood.
- This wood heater needs periodic inspection and repair for proper operation. It is against federal regulations to operate this wood heater in a manner inconsistent with operating instructions in this guide.
- This appliance should always be maintained and operated in accordance with these instructions.
- Do not elevate the fire by means of grates, andirons or other means.
- Do not use makeshift materials or make any compromises when installing this insert.
- A smoke detector, a carbon monoxide detector and a fire extinguisher should be installed in the house. The location of the fire extinguisher should be known by all family members.
This product can expose you to chemicals including carbon monoxide, which is known to the State of California to cause cancer, birth defects or other reproductive harm. For more information go to www.P65warnings.ca.gov/
- This stove must be installed as a free-standing heater with the clearances listed in the manufacturer’s installation instructions. It is strictly forbidden to install this stove in a factory-built fireplace.
- The information given on the certification label affixed to the appliance always overrides the information published, in any other media (owner’s manual, catalogues, flyers, magazines and web sites).
- Mixing of appliance components from different sources or modifying components may result in hazardous conditions. Where any such changes are planned, SBI should be contacted in advance.
- Any modification of the appliance that has not been approved in writing by the testing authority violates CSA-B365 (Canada), and ANSI NFPA 211 (USA).
- Connect this insert only to a listed stainless steel chimney liner for use with solid fuel.
- If required, a supply of combustion air shall be provided to the room.
- CAUTION: DO NOT CONNECT TO OR USE IN CONJUNCTION WITH ANY AIR DISTRIBUTION DUCTWORK UNLESS SPECIFICALLY APPROVED FOR SUCH INSTALLATION.
- CAUTION: DO NOT CONNECT THIS UNIT TO A CHIMNEY FLUE SERVING ANOTHER APPLIANCE.
- The insert and its stainless steel chimney liner are to be installed only within a lined masonry chimney and masonry fireplace conforming to building codes for use with solid fuel. Do not remove bricks or mortar from the existing fireplace when installing the insert.
Regulations Covering Insert Installation
When installed and operated as described in these instructions, this wood insert is suitable for use in residential installations but is not intended for installation in a bedroom.
In Canada, the CSA-B365 Installation Code for Solid Fuel Burning Appliances and Equipment and the CSA-C22.1 Canadian National Electrical Code are to be followed in the absence of local code requirements. In the USA, the ANSI NFPA 211 Standard for Chimneys, Fireplaces, Vents and Solid Fuel-Burning Appliances and the ANSI NFPA 70 National Electrical Code are to be followed in the absence of local code requirements.
This insert must be installed with a continuous chimney liner of 6″ diameter extending from the insert to the top of the chimney. The chimney liner must conform to the Class 3 requirements of CAN/ULC-S635, Standard for Lining Systems for Existing Masonry or Factory-built Chimneys and Vents, or CAN/ULC-S640, Standard for Lining Systems for New Masonry Chimneys or UL 1777, Standard for Safety for Chimney Liners.
The insert is not approved for use with a so-called “positive flue connection” to the clay tile of a masonry chimney.
Certification Label
Since the information given on the certification label attached to the appliance always overrides the information published in any other media, it is important to refer to it to have a safe and compliant installation. The model and the serial number can also be found on the label.
The certification label is located behind the blower and affixed on a sheet metal plate below the firebox. It is recommended to note the insert serial number on page 1 of the Wood Insert Installation and Operation Manual. It will be needed to identify the version of the appliance in the event replacement parts or technical assistance is required.
Emissions and Efficiency
The low smoke emissions produced by the special features inside this insert firebox means that the household will release up to 90% less smoke into the outside environment than if an older conventional insert was used. But there is more to the emission control technologies than protecting the environment.
The smoke released from wood when it is heated contains about half of the energy content of the fuel. By burning the wood completely, this insert releases all the heat energy from the wood instead of wasting it as smoke up the chimney. Also, the features inside the firebox allow control of the air supply meaning controlling the heat output, while maintaining clean and efficient flaming combustion, which boosts the efficient delivery of heat to the home.
The emission control and advanced combustion features of this insert can only work properly if the fuel used is in the correct moisture content range of 15% to 20%. Refer to Fuel Section for suggestions on preparing fuelwood and judging its moisture.
Materials
The SBI team is committed to protecting the environment, so they do everything they can to use only materials in their products that will have no lasting negative impact on the environment.
The body of this insert, which is most of its weight, is carbon steel. Should it ever become necessary many years in the future, almost the entire insert can be recycled into new products, thus eliminating the need to mine new materials.
The paint coating on the insert is very thin. Its VOC content (Volatile Organic Compounds) is very low. VOCs can be responsible for smog, so all the paint used during the manufacturing process meets the latest air quality requirements regarding VOC reduction or elimination.
The air tubes are stainless steel, which can also be recycled.
The C-Cast baffle is made of aluminosilicate fibre material that is compressed with a binder to form a rigid board. C-Cast can withstand temperatures above 2,000 °F. It is not considered hazardous waste. Disposal at a landfill is recommended.
The Grey firebrick is made of cement and pumice stone. Pumice stone is made from volcanic rock. It is recommended to send it to the Eco center.
The Yellow firebrick is mainly composed of silicon dioxide, also known as silica, a product processed from a mined mineral. It is most commonly found in nature in the form of sand and clay. Disposal at a Eco center is recommended.
The door and glass gaskets are fiberglass which is spun from melted sand. Black gaskets have been dipped into a solvent-free solution. Disposal at a landfill is recommended.
The door glass is a 5/32″ (4 mm) thick ceramic material that contains no toxic chemicals. It is made of natural raw materials such as sand and quartz that are combined in such a way to form a high temperature glass. Ceramic glass cannot be recycled in the same way as normal glass, so it should not be disposed of with the regular household products. Disposal at a landfill is recommended.
Fuel
Good firewood has been cut to the correct length for the insert, split to a range of sizes and stacked in an open area until its moisture content is down to 15% to 20%.
DO NOT BURN:
- COAL;
- GARBAGE;
- LAWN CLIPPINGS OR YARD WASTE;
- MATERIALS CONTAINING RUBBER, INCLUDING TIRES;
- MATERIALS CONTAINING PLASTIC;
- WASTE PETROLEUM PRODUCTS, PAINTS OR PAINT THINNERS, OR ASPHALT PRODUCTS;
- MATERIALS CONTAINING ASBESTOS;
- CONSTRUCTION OR DEMOLITION DEBRIS;
- RAILROAD TIES OR PRESSURE-TREATED WOOD;
- MANURE OR ANIMAL REMAINS;
- SALT WATER DRIFTWOOD OR OTHER PREVIOUSLY SALT WATER SATURATED MATERIALS;
- UNSEASONED WOOD; OR
- PAPER PRODUCTS, CARDBOARD, PLYWOOD, OR PARTICLEBOARD. THE PROHIBITION AGAINST BURNING THESE MATERIALS DOES NOT PROHIBIT THE USE OF FIRE STARTERS MADE FROM PAPER, CARDBOARD, SAW DUST, WAX AND SIMILAR SUBSTANCES FOR THE PURPOSE OF STARTING A FIRE IN AN AFFECTED WOOD HEATER.
BURNING THESE MATERIALS MAY RESULT IN RELEASE OF TOXIC FUMES OR RENDER THE HEATER INEFFECTIVE AND CAUSE SMOKE.
Tree Species
The tree species the firewood is produced from is less important than its moisture content. The main difference in firewood from various tree species is the density of the wood. Hardwoods are denser than softwoods.
Homeowners with access to both hardwood and softwood use both types for different purposes. Softer woods make good fuel for mild weather in spring and fall because they light quickly and produce less heat. Softwoods are not as dense as hardwoods so a given volume of wood contains less energy. Using softwoods avoids overheating the house, which can be a common problem with wood heating in moderate weather. Harder woods are best for colder winter weather when more heat and longer burn cycles are desirable
Note that hardwood trees like oak, maple, ash and beech are slower growing and longer lived than softer woods like poplar and birch. That makes hardwood trees more valuable. The advice that only hardwoods are good to burn is outdated. Old, leaky cast iron inserts wouldn’t hold a fire overnight unless they were fed large pieces of hardwood. That is no longer true.
Log Length
Logs should be cut at least 1″ (25 mm) shorter than the firebox so they fit in easily. Pieces that are even slightly too long makes loading the insert very difficult. The most common standard length of firewood is 16″ (400 mm).
Piece Size
Firewood dries more quickly when it is split. Large unsplit rounds can take years to dry enough to burn. Even when dried, unsplit logs are difficult to ignite because they don’t have the sharp edges where the flames first catch.
Wood should be split to a range of sizes, from about 3″ to 6″ (75 mm to 150 mm) in cross section. Having a range of sizes makes starting and rekindling fires much easier.
Compressed Wood Logs
Compressed wood logs made of 100% compressed sawdust can be burned with caution in the number of these logs burned at once. Do not burn compressed logs made of wax impregnated sawdust or logs with any chemical additives. Follow the manufacturer’s instructions and warnings.
Drying Time
Firewood that is not dry enough to burn is the cause of most complaints about wood inserts. Continually burning green or unseasoned wood produces more creosote and involves lack of heat and dirty glass door. Firewood with a moisture content between 15% and 20% will allow the insert to produce its highest possible efficiency.
Here are some facts to consider in estimating drying time:
- Firewood bought from a dealer is rarely dry enough to burn, so it is advisable to buy the wood in spring and dry it yourself;
- Drying happens faster in dry weather than in a damp climate;
- Drying happens faster in warm summer
- weather than in winter weather;
- Small pieces dry more quickly than large
- pieces;
- Split pieces dry more quickly than unsplit rounds;
- Softwoods like pine, spruce, poplar, and aspen take less time to dry than hardwoods. they can be dry enough to burn after being stacked to air dry only for the summer months;
- Hardwoods like oak, maple and ash can take one, or even two years to dry fully, especially if the pieces are big;
- Firewood dries more quickly when stacked outside in a location exposed to sun and wind; it takes much longer to dry when stacked in a wood shed;

Use these guidelines to find out if the firewood is dry enough to burn:
- Cracks form at the ends of logs as they dry;
- The wood turns from white or cream colored to grey or yellow;
- Two pieces of wood struck together sounds hollow;
- The face of a fresh cut feels warm and dry;
- The moisture content read by a moisture meter is between 15% to 20%.

Burning Wood Efficiently
First Use
Two things happen when burning the first few fires; the paint cures and the internal components are conditioned. As the paint cures, some of the chemicals vaporize. The vapors are not poisonous, but they smell bad. Fresh paint fumes can also trigger false alarms in smoke detectors. When lighting the heater for the first few times, it may be wise to open doors and windows to ventilate the house.
Burn two or three small fires to begin the curing and conditioning process. Then build bigger and hotter fires until there is no longer paint smell from the insert. As hotter and hotter fires are burned, more of the painted surfaces reach the curing temperature of the paint. The smell of curing paint does not disappear until one or two very hot fires have been burned.
Lighting Fires
Each person heating with wood develops its own favorite way to light fires. Regardless of the method chosen, the goal should be to have a hot fire burning, quickly. A fire that ignites fast produces less smoke and deposits less creosote in the chimney.
Never use gasoline, gasoline-type lantern fuel (naphtha), fuel oil, motor oil, kerosene, charcoal lighter fluid, or similar liquids or aerosols to start or ‘freshen up’ a fire in this wood insert. Keep all such liquids well away from the insert while it is in use.
Here are three popular and effective ways to ignite wood fires.
Conventional Method
The conventional method to build a wood fire is to crumple 5 to 10 sheets of newspaper and place them in the firebox and hold them in place with ten pieces of kindling wood. The kindling should be placed on and behind the newspaper.
Then add two or three small pieces of firewood. Open the air intake control completely and ignite the newspaper. Leave the door slightly ajar.
Once the fire has ignited, the door can be closed with the air control still fully open. When the kindling is almost completely burned, standard firewood pieces can be added.
Do not leave the insert unattended when the door is slightly open. Always close and latch the door after the fire ignites.
The Top Down Method
This method is the opposite of the conventional method and only works properly if well-seasoned wood is used.
Place three or four small, split, dry logs in the firebox. Arrange the kindling wood on the logs in two layers at right angles and place a dozen finely split kindling on the second row.
It is possible to use ragged paper but it may not hold in place since it tends to roll while it is burning. The best is to wrap a sheet on itself, grab the ends of the roll and make a knot. Use four or five sheets of paper tied together and put them on top and around the kindling.
Open the air intake control completely, ignite the paper and close the door.
The down fire method has two advantages over the traditional method: first, the fire does not collapse on itself, and it is not necessary to add wood gradually since the combustion chamber is full before the fire is lit.
Two Parallel Logs Method
Two spit logs are placed in the firebox with a few sheets of twisted newspapers in between the logs. Fine kindling is added across the two logs and some larger kindling across those, log cabin style. Open the air intake control completely, ignite the paper and close the door.
Using Fire Starters
Commercial fire starters can be used instead of a newspaper. Some of these starters are made of sawdust and wax and others are made of specialized flammable solid chemicals. Always follow the package directions when using.
Gel starters can also be used, but only to light a fire, in a cold combustion chamber without hot embers inside.
Zone Heating
This insert is a space heater, which means it is intended to heat the area it is installed in, as well as spaces that connect to that area, although to a lower temperature. This is called zone heating and it is an increasingly popular way to heat homes or spaces within homes.
Zone heating can be used to supplement another heating system by heating a particular space within a home, such as a basement, a family room or an addition that lacks another heat source.
Houses of moderate size and relatively new construction can be heated with a properly sized and located wood insert. Whole house zone heating works best when the insert is in the part of the house where the family spends most of its time. This is normally the main living area where the kitchen, dining and living rooms are located.
Locating the insert in this area will give the maximum benefit of the heat it produces and will achieve the highest possible heating efficiency and comfort. The space where the most time is spent will be warmest, while bedrooms and basement (if there is one) will stay cooler. This way, less wood is burned than with other forms of heating.
Although the insert may be able to heat the main living areas of the house to an adequate temperature, it is strongly recommended to also have a conventional oil, gas or electric heating system to provide backup heating. The success of zone heating will depend on several factors, including the correct sizing and location of the insert, the size, layout and age of the home and the climate zone. Three season vacation homes can usually be heated with smaller inserts than houses that are heated all winter.
Combustion Cycles
Zone heating is very different than other forms of heating. There will be temperature variations in different parts of the house and there will be temperature variations throughout day and night. This is normal, and for experienced wood burners these are advantages of zone heating wood burning.
Wood heaters don’t have a steady heat output. It is normal for the temperature to rise after a new load of wood is ignited and for its temperature to gradually decrease throughout the burning cycle. This increasing and decreasing temperature can be matched with the household routines. For example, the temperature in the area can be cooler when the household is active, and it can be warmer when it is inactive.
Wood burns best in cycles. A cycle starts when a new load of wood is ignited by hot coals and ends when that load has been consumed down to a bed of charcoal about the same size as it was when the wood was loaded.
Trying to produce a steady heat output by placing a single log on the fire at regular intervals is not recommended. Always place at least three, and preferably more pieces on the fire at a time so that the heat radiated from one piece helps to ignite the pieces next to it. Each load of wood should provide several hours of heating. The size of each load may vary depending on the amount of heat required.
Burning in cycles means the loading door does not need to be opened while the wood is flaming. This is an advantage since it is preventing smoke leaking from the heater when the door is opened as a full fire is burning. This is especially true if the chimney is on the outside wall of the house.
If the door must be opened while the fire is flaming, fully open air control for a few minutes then open the door slowly.
Rekindling a Fire
When the temperature of the room is lower and all that remains is embers, it is time to reload. Remove excess ash from the front of the firebox and bring the ashes forward. Place a new load of wood on, and at the back of the embers. Open the air control completely and close the door.
Raking the coals is useful for two reasons. First, it brings them near where most of the combustion air enters the firebox. This will ignite the new load quickly. Secondly, the charcoal will not be smothered by the new load of wood. When the embers are simply spread inside the combustion chamber, the new load shoulder for a long time before igniting.
Close the air control only when the firebox is full of bright turbulent flames, the wood is charred, and its edges are glowing.
The heater should not be left unattended during ignition and the fire should not burn at full intensity for more than a few minutes.
When lighting a new load, the appliance produces a heat surge. This heat surge is pleasant when the room temperature is cool but can be unpleasant when the room is already warm. Therefore, it is best to let each load of wood burn completely so that the room cools down before putting a load of wood back on.
Removing Ashes
Ash should be removed from the firebox every two to three days of full time heating. Ash should not accumulate excessively in the firebox since it will affect the proper operation of the appliance.
The best time to remove ash is in the morning, after an overnight fire when the insert is relatively cold, but there is still a little chimney draft to draw the ash dust into the insert and prevent going out into the room.
Ashes almost always contain live embers that can stay hot for days and which release carbon monoxide gas.
Ashes should be placed in a tightly covered metal container. The container must be placed on a non-combustible floor or on the ground well away from all combustible materials.
If the ashes are disposed of by burial in soil or otherwise locally dispersed, they should be kept in a closed metal container until they are completely cooled. No other waste should be placed in this container.
NEVER STORE ASHES INDOORS OR IN A NON-METALLIC CONTAINER OR ON A WOODEN DECK.
Air Intake Control
Once the firewood, firebox and chimney are hot, air intake can be reduced to achieve a steady burn.
As the air intake is reduced, the burn rate decreases. This has the effect of distributing the thermal energy of the fuel over a longer period of time. In addition, the flow rate of exhaust through the appliance and chimney slows down, which increases the duration of the energy transfer of the exhaust gases. As the air intake is reduced, the flame slows down.
If the flames diminish to the point of disappearing, the air intake has been reduced too early in the combustion cycle or the wood used is too wet. If the wood is dry and the air control is used properly, the flames should decrease, but remain bright and stable.
On the other hand, too much air can make the fire uncontrollable, creating very high temperatures in the unit as well as in the chimney and seriously damaging them. A reddish glow on the unit and on the chimney components indicates overheating. Excessive temperatures can cause a chimney fire.
Fire Types
Using the air intake control is not the only way to match the insert heat output to the desired temperature in the house. A house will need far less heating in October than in January to maintain a comfortable temperature. Filling the firebox full in fall weather will overheat the space. Otherwise, the combustion rate will have to be reduced to a minimum and the fire will be smoky and inefficient. Here are some suggestions for building fires suitable for different heating needs. The method used to certify your appliance according to EPA Standards is presented in the EPA Loading Section of the Wood Insert Installation and Operation Manual of your appliance.
Flash Fire
To build a small fire that will produce a low heat output, use small pieces of firewood and load them crisscross in the firebox.
The pieces should only be 3″ to 4″ in diameter. After raking the coals, lay two pieces parallel to each other diagonally in the firebox and lay two more across them in the other direction. Open the air control fully and only reduce the air after the wood is fully flaming.
This kind of fire is good for mild weather and should provide enough heat for up to four hours. Small fires like this are a good time to use softer wood species and avoid overheating the house.
Low and Long Output Fires
For a fire that will last up to eight hours but will not produce intense heat, use soft wood and place the logs compactly in the firebox. Before reducing the air intake, the load will have to burn at full heat for long enough for charring the surface of the logs. The flame must be bright before letting the fire burn by itself.
High Output Fires
When heating needs are high during cold weather, the fire should burn steadily and brightly. This is the time to use larger pieces of hardwood. Place the biggest pieces at the back of the firebox and place the rest of the pieces compactly. A densely built fire like this will produce the longest combustion this insert is capable of. Special attention must be paid when building fires like this since if the air intake is reduced too quickly, the fire could shoulder. The wood must be flaming brightly before leaving the fire to burn by itself.
Maximum Burn Cycle Times
The burn cycle time is the period between loading wood on a coal bed and the consumption of that wood back to a coal bed of the same size. The flaming phase of the fire lasts for roughly the first half of the burn cycle and the second half is the coal bed phase during which there is little or no flame. The burn time expected from an insert, including both phases, will vary depending on a number of things, such as:
- firebox size,
- the amount of wood loaded,
- the species of wood,
- the wood moisture content,
- the size of the space to be heated,
- the climate zone where the house is, and
- the time of the year.
The table below gives an approximate maximum burn cycle times, based on firebox volume.
Table 1 : Approximate Maximum Burn Cycle Time
A longer burning time is not necessarily an indication of efficient insert operation. It is preferable to build a smaller fire that will provide three or four hours of heating than to fully load the firebox for a much longer burn. Shorter burn cycles make it easier to match the heat output of the insert to the heat demand of the space.
Logs Orientation
In a relatively square firebox, the wood can be loaded north-south (ends of the logs visible) or east-west (sides of the logs visible).
North-south loads allow more wood to be loaded at the same time. On the other hand, they break into smaller pieces faster. North-south loading is good for high output, long lasting fires for cold weather.
East-west loads allow a limited amount of wood since too many logs could cause them to fall on the glass. East-west loads, placed in a compact way, take a long time before breaking down. They are excellent for low-intensity, long-lasting fires in relatively mild weather.
Carbon Monoxide
When there is no more flame in the firebox and there are still some unburned logs, check outside if there is smoke coming out of the chimney. If this is the case, it means that the fire is out of air to burn properly. In this situation, the level of CO increases and it is important to react. Open the door slightly and move the logs with a poker. Create a passage for the air below by making a trench with the ember bed. Add small pieces of wood to restart the combustion.
Maintenance
This heater will give many years of reliable service if used and maintained properly. Internal components of the firebox such as firebricks or refractory panels, baffle and air tubes will wear over time. Defective parts should always be replaced with original parts (see « Exploded diagram and parts list » in the Wood Insert Installation and Operation Manual).
To avoid premature deterioration, follow the lighting and reloading procedures in section « 3. Burning Wood Efficiently » and also avoid letting the heater run with the air intake fully open for entire burn cycles.
Wood Insert
Cleaning and Painting
Painted and plated surfaces can be wiped down with a soft, damp cloth. If the paint is scratched or damaged, it is possible to repaint the insert with a heat-resistant paint see « Exploded diagram and parts list » in the Wood Insert Installation and Operation Manual. Do not clean or paint the insert when it is hot. Before painting, the surface should be sanded lightly with sandpaper and then wiped off to remove dust. Apply two thin layers of paint.
Refractory Material and Baffle
Inspect the firebricks or the refractory panels and the baffle for damage periodically and replace anything that is cracked or broken.
Operation of the heater with a cracked or missing baffle may cause unsafe temperatures and hazardous conditions and will void the warranty.
Glass Door
Cleaning
Under normal conditions, the door glass should stay relatively clear. If the firewood is dry enough and the operating instructions in this guide are followed, a whitish, dusty deposit will form on the inner surface of the glass after a week or so of use. This is normal and can be easily removed when the heater is cold by wiping with a damp cloth or paper towel and then drying.
When the insert runs at a low combustion rate, light brown stains may form, especially in the lower corners of the glass. This indicates that the fire has been smoky and some of the smoke has condensed on the glass. It also indicates incomplete combustion of the wood, which also means more smoke emissions and faster formation of creosote in the chimney.
The deposits that form on the glass are the best indication of the fuel quality and success in properly using the insert. These stains can be cleaned with a special wood insert glass cleaner. Do not use abrasive products to clean the glass.
The goal should be having a clear glass with no brown stains. If brown stains appear regularly on the glass, something about the fuel or the operating procedure needs to be changed. When brown streaks are coming from the edge of the glass, it is time to replace the gasket around the glass. Follow the instructions in section « 3.1.3 Gasket » in the Wood Insert Installation and Operation Manual. Always replace the gasket with a genuine one.
Do not clean the glass when the insert is hot.
Do not abuse the glass door by striking or slamming shut.
Do not use the insert if the glass is broken.
Operating the Insert
This wood heater has a manufacturer-set minimum low burn rate that must not be altered. It is against federal regulations to alter this setting or otherwise operate this wood heater in a manner inconsistent with operating instructions in this guide.
Before using the insert, the following steps should be completed, you will find the procedures installation in the Wood Insert Installation and Operation Manual:
- Handle installation.
- Installation of bricks in the product.
- Installation of ash shelf and blower.
- Faceplate installation
The following step is optional:
- Air inlet installation
Blower
A blower is already installed on this insert. It is located underneath the ash lip, in front of the insert. Its function is to increase airflow through the heat exchanger and improve hot air circulation in the room. When used regularly, the blower can provide a small increase in efficiency, up to 2%. However, it should not be used as a way to gain more output from an insert that is undersized for the space it is intended to heat.
Ensure the blower cord is not in contact with any surface of the insert to prevent electrical shock or fire damage. Do not run cord beneath the insert.
The blower has a variable speed rheostat that can be adjusted from high (HI) to low (LO) and closed (OFF).
Allow the insert to reach operating temperature (approximately one hour) before turning on the blower, since increased airflow from the blower will remove heat and affect the start up combustion efficiency.
The blower is also equipped with a heat sensor. When the blower is ON, it will start automatically when the insert is hot enough and it will stop when the insert has cooled down. Therefore, the blower speed control can be left at the desired setting.
Fire Screen
Some inserts have been tested for use with the door open with a rigid fir screen (In the United States or in provinces with a particulate emissions limit (e.g.: US EPA), the use of open-door wood insert with a rigid fir screen is prohibited), this option is sold separately (to confirm that your product has been tested with it, please refer to the Wood Insert Installation and Operation Manual). The fire screen must be properly secured on the insert to avoid any risk of sparks damaging the flooring. When the fire screen is in use, do not leave the insert unattended to respond promptly in the event of smoke spillage into the room. Potential causes of smoke spillage are described in Section « 7. The Venting System » of this guide. See « Optional fire screen installation » in the Wood Insert Installation and Operation Manual for installation instructions.
OPERATING THE INSERT WITH A FIRE SCREEN INCREASES POSSIBILITIES OF GENERATING CARBON MONOXIDE. CARBON MONOXIDE IS AN ODOURLESS GAS THAT IS HIGHLY TOXIC WHICH CAN CAUSE DEATH AT HIGH CONCENTRATION IN AIR.
Exhaust System
Wood smoke can condense inside the chimney, forming a inflammable deposit called creosote If creosote builds up in the system, it can ignite when a hot fire is burned in the insert. A very hot fire can progress to the top of the chimney. Severe chimney fires can damage even the best chimneys. Shouldering, smoky fires can quickly cause a thick layer of creosote to form. When the insert is operated properly, the exhaust from the chimney is mostly clear and creosote builds up more slowly.
Creosote – Formation and Need to Removal
When wood is burned slowly, it produces tar and other organic vapors, which combine with expelled moisture to form creosote. The creosote vapors condense in the relatively cooler chimney flue of a slow-burning fire. As a result, creosote residue accumulates on the flue lining. When ignited this creosote makes an extremely hot fire.
The flue lining and chimney should be inspected at least once every two months during the heating season to determine if a creosote buildup has occurred. If creosote has accumulated (⅛″ [3mm] or more it should be removed to reduce the risk of a chimney fire»
Cleaning Frequency
It is not possible to predict how much or how quickly creosote will form in the chimney. It is important, therefore, to check the build-up in the chimney monthly until the rate of creosote formation is determined. Even if creosote forms slowly in the system, the chimney should be cleaned and inspected at least once each year.
Establish a routine for the fuel, wood insert and firing technique. Check daily for creosote build-up until experience shows how often you need to clean to be safe. Be aware that the hotter the fire, the less creosote is deposited and weekly cleaning may be necessary in mild weather even though monthly cleaning may be enough in the coldest months. Contact your local municipal or provincial fire authority for information on how to handle a chimney fire. Have a clearly understood plan to handle a chimney fire.
Sweeping the Chimney
Chimney sweeping can be a difficult and dangerous job. People with no chimney sweeping experience will often prefer to hire a professional chimney sweep to inspect and clean the system for the first time. After seeing the cleaning process, some will choose to do it themselves.
The chimney should be checked regularly for creosote build-up. Inspection and cleaning of the chimney can be facilitated by removing the baffle. See « Air tubes and baffle installation » in the Wood Insert Installation and Operation Manual for more details.
Chimney Fire
Regular chimney maintenance and inspection can prevent chimney fires. If you have a chimney fire, follow these steps:
- Close the insert door and the air intake control;
- Alert the occupants of the house of the possible danger;
- If you require assistance, alert the fire department;
- If possible, use a dry chemical fire extinguisher, baking soda or sand to control the fire. Do not use water, as it may cause a dangerous steam explosion;
Do not use the appliance again until the insert and its chimney have been inspected by a qualified chimney sweep or a fire department inspector.
Masonry Fireplace Requirements
The masonry fireplace must meet the minimum requirements found in the building code enforced locally, or the equivalent, for a safe installation. Contact the local building inspector for requirements in the area. An inspection of the fireplace should include the following:
Fireplace and Chimney Condition
The masonry fireplace and chimney should be inspected prior to installation, to confirm that they are free from cracks, loose mortar, creosote deposits, blockage, or other signs of deterioration. If evidence of deterioration is noted, the fireplace or chimney should be upgraded and cleaned prior to installation.
Masonry or steel, including the damper plate, may be removed from the smoke shelf and adjacent damper frame if necessary to accommodate the insert’s chimney liner, provided that their removal will not weaken the structure of the fireplace and chimney, and will not reduce protection for combustible materials to less than what is required by the building code.
Removal of any parts, which render the fireplace unfit for use with solid fuel, requires the fireplace to be permanently labelled by the installer as being no longer suitable for solid fuel, until the removed parts are replaced and the fireplace is restored to its original certified condition. Also, any air vents, grilles, or louvers that allow air circulation around the fireplace must not be removed or blocked.
Chimney Caps
Mesh type chimney caps must have provision for regular cleaning, or the mesh should be removed to eliminate the potential of plugging.
Adjacent Combustibles
The fireplace should be inspected to make sure that there is adequate clearance to combustibles, both exposed combustibles to the top, side, and front as well as concealed combustibles, in the chimney and mantle area. The local inspector should have information on whether older fireplaces are of adequate construction.
Masonry Fireplace Throat Damper
If the fireplace draft control system is to remain in the masonry fireplace, it must be locked open for easy access to the chimney liner or removed entirely. If it is removed from the masonry hearth, the notice plate 27009 must be installed in a visible place, inside the masonry hearth. The plate can be found in the owner’s manual kit.
The Venting System
General
The venting system, made of the chimney and the liner inside the chimney, acts as the engine that drives the wood heating system. Even the best insert will not function safely and efficiently as intended if it is not connected to a suitable chimney and liner system.
The heat in the flue gases that pass from the insert into the chimney is not waste heat. This heat is what the chimney uses to make the draft that draws in combustion air, keeps smoke inside the insert and safely vents exhaust to outside. The heat in the flue gas can be seen as the fuel the chimney uses to create draft.
Block-off Plate
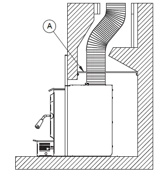
To reduce the possibility of a cold air back draft from the masonry chimney into the room, the installation of a sheet metal block-off plate (A) is recommended. When fabricating the block-off plate, cut the pipe hole slightly larger than the liner diameter and pass the liner through the hole. Install the block-off plate and secure it with masonry nails. Seal the joints between the plate and the chimney with high temperature silicone and use stove cement to seal between the pipe and the plate.
In Canada, the CSA-B365 Standard permits «ROXUL» type wool to be stuffed around the liner as it passes through the throat area as an alternative to a sheet metal block-off plate. However, this method is less efficient than using a plate.

Suitable Chimneys
This wood insert will provide optimum efficiency and performance when connected to a 6″ diameter chimney liner. The connection to a chimney having a diameter of at least 5″ (Canada only) is permitted if it allows the proper venting of combustion gases and that such application is verified and authorized by a qualified installer. Otherwise, the diameter of the flue should be 6″. The reduction of the liner diameter to less than 6″ should only be done if the total height of the masonry chimney is greater than 20 feet.
Chimney Liner Installation
The use of a chimney liner (rigid or flexible) is recommended to ensure the best performance. To ensure an optimal draft, it is also strongly recommend adding a minimum of 12″ rigid liner between the top of the masonry chimney and the rain cap. In all cases, liners should be installed in accordance with the liner manufacturer’s instructions, including instructions for extension above the masonry.
Use chimney liners listed UL 1777, ULC S635 or CAN/ ULC S640.
In order to connect the insert to the liner, refer to section « 7.5 Liner Connection ».
ATTENTION INSTALLER:
When positioning the unit in a fireplace opening, prior to the flue installation, install the insert into the opening until the top lip of air jacket is flush with fireplace facing.
If lag bolts or anchors are to be used to secure the insert, the holes location should be marked with the unit in place. Remove the insert and set the anchors.
Liner Connection
Two options are possible to connect the liner to the insert:
Liner Starter Adaptor
Install the chimney liner starter adapter, provided with the chimney liner. Follow the chimney liner starter adapter manufacturer’s instructions.
In order to connect the chimney liner starter adapter to the flue outlet, install three brackets with the three screws, all provided in the user manuals kit, on top of the insert. The long end of the brackets must be attached to the insert. Insert the chimney liner into the flue collar of the unit and secure the liner to the brackets with three self-tapping screws (not included).
The dealer may offer a liner fastening system, sold separately. Follow the installation instructions provided with the liner fastening system.
Minimum Chimney Height
The top of the chimney should be tall enough to be above the air turbulence caused when wind blows against the house and its roof. The chimney must extend at least 3 ft. (1 m) above the highest point of contact with the roof, and at least 2 ft. (60 cm) higher than any roof line or obstacle within a horizontal distance of 10 ft. (3 m).
Chimney Location
Because the venting system is the engine that drives the wood heating system, it must have the right characteristics. The signs of bad system design are cold back drafting when there is no fire in the insert, slow kindling of new fires, and smoke roll-out when the door is open for loading.
When it is cold outside, the warm air in the house is buoyant so it tends to rise. This creates a slight pressure difference in the house. Called ‘stack effect’, it produces a slightly negative pressure in the lower part of the house (compared to the outside) and a slightly positive pressure zone in the high part of the house. If there is no fire burning in a heater connected to a chimney that is shorter than the warm space inside the house, the slight negative pressure in the lower part of the house will compete against the desired upward flow in the chimney. This occurs for the two following reasons:
First, the chimney runs up the outside of the house, so the air in it is colder and denser than the warm air in the house. And second, the chimney is shorter than the heated space of the house, meaning the negative pressure in the lower part of the house will draw cold air down the chimney, through the insert and into the room. Even the finest insert will not work well when connected to this chimney.
Supply of Combustion Air
In Canada, wood inserts are not required to have a combustion air supply from outside. Research has shown that outside air supply do not compensate for the depressurization of the house and may not be sufficient to provide a supply of combustion air in windy weather. However, to reduce the risks against smoke spillage due to house depressurization, a carbon monoxide (CO) detector is required in the room where the insert is installed. The CO detector will provide warning if for any reason the wood insert fails to function correctly.
Air Supply in Conventional Houses
The safest and most reliable supply of combustion air for a wood insert is from the room in which it is installed. Room air is already preheated so it will not chill the fire, and its availability is not affected by wind pressures on the house. Contrary to commonly expressed concerns, almost all tightly sealed new houses have enough natural leakage to provide a small amount of air needed by the insert. The only case in which the wood insert may not have adequate access to combustion air is if the operation of a powerful exhaust device (such as a kitchen range exhaust) causes the pressure in the house to become negative relative to outdoors.
If an air intake is installed through the wall of the house, its pressure can vary during windy weather. If there are changes in wood insert performance in windy weather, and in particular if smoke puffs from the insert, the air duct should be disconnected from the insert to determine if it is the cause of the problem. In some windy conditions, negative pressure at the duct weather hood outside the house wall may draw hot exhaust gases from the insert backwards through the duct to outdoors. Check the outdoor air duct for soot deposits when the full system is cleaned and inspected at least once each year.
This document is available for free download on the manufacturer’s website. It is a copyrighted document. Resale is strictly prohibited. The manufacturer may update this document from time to time and cannot be responsible for problems, injuries, or damages arising out of the use of information contained in any document obtained from unauthorized sources.
Stove Builder International inc.
250, rue de Copenhague,
St-Augustin-de-Desmaures (Québec) Canada G3A 2H3
1-877-356-6663
www.sbi-international.com
[email protected]

















