DROLET ESCAPE 1500-I High Efficiency Wood Insert

Product Information
- Product Name: Escape 1500-I (DB03137 model)
- Wood Insert Certifications: Safety tested according to CAN/ULC 628, UL 1482, and UL 737. US Environmental Protection Agency phase II certified wood insert compliant with 2020 cord wood standard. EPA < 2.5 g/h.
- Manufacturer: Drolet Country of Manufacture: Canada
- Warranty: Online warranty registration is recommended at https://www.drolet.ca/en/warranty/warranty-registration/. Proof of purchase is required for repairs during the warranty period.
Product Specification
- Type of Combustion: Non-catalytic – Fuel
- Type: Dry Cordwood
- Recommended Heating Area: 500 to 1,800 sq. ft. (46 to 167 m2)
- Overall Firebox Volume: 1.86 ft3 (0.053 m3)
- EPA Loading Volume: 1.44 ft3 (0.041 m3)
- Maximum Burn Time: 7 hours
- Maximum Heat Output (Dry Cordwood): 65,000 BTU/h (19 kW)
- Overall Heat Output Rate: 9,800 BTU/h to 52,200 BTU/h (2.87 kW to 15.3 kW)
- Average Overall Efficiency (Dry Cordwood): 68% (HHV), 73% (LHV)
- Optimum Overall Efficiency: 76%
- Optimum Heat Transfer Efficiency: 75%
- Average Particulate Emissions Rate: 2.4 g/h (EPA / CSA B415.1-10)
- Average CO Emissions Rate: 103 g/h
Additional Specifications:
- Recommended Log Length: 16 in (406 mm) east-west
- Maximum Log Length: 18 in (457 mm) east-west
- Flue Outlet Diameter: 6 in (150 mm)
- Recommended Connector Pipe Diameter: 6 in (150 mm)
- Type of Chimney: ULC S635, CAN/ULC-S640, UL 1777
- Minimum Liner Height: 12 feet – Baffle Material: Vermiculite
- Approved for Alcove Installation: No
- Approved for Mobile Home Installation: Not applicable
- Type of Door: Simple, glass with cast iron frame
- Type of Glass: Ceramic glass
- Blower: Included (up to 144 CFM
- Particulate Emission Standard: EPA / CSA B415.1-10, UL 1482, UL 737, CAN/ULC-628
Product Usage Instructions
- Before installation and use of the Escape 1500-I Wood Insert, it is important to read the entire manual for proper understanding and safe operation.
- Contact local building or fire officials to inquire about any restrictions and installation inspection requirements in your area.
- Ensure that the wood insert is installed and operated in accordance with the safety standards and regulations mentioned in the manual.
- Keep the manual for reference and warranty purposes.
- In case of any repairs required during the warranty period, proof of purchase must be provided. It is recommended to register the warranty online a https://www.drolet.ca/en/warranty/warranty-registration/.
- The recommended heating area for the Escape 1500-I Wood Insert is between 500 to 1,800 sq. ft. Ensure the insert is used within this range.
- Use dry cordwood as the fuel type for optimal performance and compliance with EPA standards.
- The maximum burn time for the wood insert is 7 hours. Avoid exceeding this duration to prevent damage or unsafe operation.
- The maximum heat output of the wood insert is 65,000 BTU/h (19 kW). Adjust the heat output rate within the range of 9,800 BTU/h to 52,200 BTU/h (2.87 kW to 15.3 kW) as needed.
- The average overall efficiency of the wood insert is 68% (HHV) and 73% (LHV). Optimum overall efficiency is 76%, while optimum heat transfer efficiency is 75%.
- The wood insert emits an average particulate emissions rate of 2.4 g/h (EPA / CSA B415.1-10) and an average CO emissions rate of 103 g/h. Ensure proper ventilation and follow safety guidelines to minimize emissions.
- Follow the recommended log length of 16 in (406 mm) east-west and avoid using logs longer than 18 in (457 mm) east-west.
- The flue outlet diameter and recommended connector pipe diameter are both 6 in (150 mm). Use appropriate flue and connector pipes for installation.
- The wood insert requires a chimney that meets ULC S635, CAN/ULC-S640, and UL 1777 standards. Ensure the chimney complies with these specifications.
- The minimum liner height for the chimney is 12 feet. Ensure the chimney liner meets this requirement for safe operation.
- The wood insert features a simple glass door with a cast iron frame. The glass is made of ceramic material.
- A blower is included with the wood insert, providing airflow of up to 144 CFM for improved heat distribution.
- The wood insert meets the particulate emission standards of EPA / CSA B415.1-10, UL 1482, UL 737, and CAN/ULC-628. Please note that these instructions are a summary. For full details and specific installation guidelines, refer to the complete user manual provided with the product.
Safety tested according to CAN/ULC 628, UL 1482 and UL 737 by an accredited laboratory.
US Environmental Protection Agency phase II certified wood insert compliant with 2020 cord wood standard.
EPA <≤2.5 g/h
CONTACT LOCAL BUILDING OR FIRE OFFICIALS ABOUT RESTRICTIONS AND INSTALLATION INSPECTION REQUIREMENTS IN THE AREA.
READ THIS ENTIRE MANUAL BEFORE INSTALLATION AND USE OF THIS WOOD INSERT. FAILURE TO FOLLOW THESE INSTRUCTIONS COULD RESULT IN PROPERTY DAMAGE, BODILY INJURY OR EVEN DEATH.
READ AND KEEP THIS MANUAL FOR REFERENCE
ONLINE WARRANTY REGISTRATION
If the unit requires repairs during the warranty period, proof of purchase must be provided. The purchase invoice must be kept. The date indicated on it establishes the warranty period. If it can not be provided, the warranty period will be determined by the date of manufacture of the product. It is also highly recommended to register the warranty online at

https://www.drolet.ca/en/warranty/warranty-registration/
Registering the warranty will help to quickly find the information needed on the unit.
- Dealer:
- Installer:
- Phone Number:
- Serial Number:
CERTIFICATION PLATE

General Information
Performances
Values are as measured per test method, except for the recommended heating area, firebox volume, maximum burn time and maximum heat output.
| Model | Escape 1500-I (DB03137) | |
| Type of combustion | Non-catalytic | |
| Fuel Type | Dry Cordwood | |
| Recommended heating area (sq. ft..)1 | 500 to 1,800 ft2 (46 to 167 m2) | |
| Overall firebox volume2 | 1.86 ft3 (0.053 m3) | |
| EPA loading volume | 1.44 ft3 (0.041 m3) | |
| Maximum burn time1 | 7 hours | |
| Maximum heat output (dry cordwood)3 | 65,000 BTU/h (19 kW) | |
| Overall heat output rate (min. to max.)2 4 | 9,800 BTU/h to 52,200 BTU/h (2.87 kW to 15.3 kW) | |
| Average overall efficiency3 (Dry cordwood) | 68 % (HHV)5 | 73 % (LHV)6 |
| Optimum overall efficiency7 | 76 % | |
| Optimum heat transfer efficiency8 | 75 % | |
| Average particulate emissions rate9 | 2.4 g/h (EPA / CSA B415.1-10)10 | |
| Average CO11 | 103 g/h | |
- Recommended heating area and maximum burn time may vary subject to location in home, chimney draft,heat loss factors, climate, fuel type and other variables. The recommended heated area for a given appliance is defined by the manufacturer as its capacity to maintain a minimum acceptable temperature in the designated area in case of a power failure.
- The overall firebox calculation is an approximation and is not intended to be used for loading. This volume includes a buffer zone to allow an easier fuel insertion, prevent ash spillage and allow the air wash to work properly.
- The maximum heat output (dry cordwood) is based on a loading density varying between 15 lb/ft3 and 20 lb/ft3. Other performances are based on a fuel load prescribed by the standard. The specified loading density varies between 7 lb/ft³ and 12 lb/ft3. The moisture content is between 19% and 25%.
- As measured per CSA B415.1-10 stack loss method.
- Higher Heating Value of the fuel.
- Lower Heating Value of the fuel.
- Optimum overall efficiency at a specific burn rate (LHV).
- The optimum heat transfer efficiency is for the low burn rate and represents the appliance’s ability to convert the energy contained in the wood logs into energy transferred to the room in the form of heat and does not take into account the chemical losses during combustion.
- This appliance is officially tested and certified by an independent agency.
- Tested and certified in compliance with CFR 40 part 60, subpart AAA, section 60.534(a)(1(ii) and ASTM E3053-17. Based on EPA letter dated November 1, 2022.
- Carbon monoxide.
Specifications
| Recommended log length | 16 in (406 mm) east-west |
| Maximum log length1 | 18 in (457 mm) east-west |
| Flue outlet diameter | 6 in (150 mm) |
| Recommended connector pipe diameter | 6 in (150 mm) |
| Type of chimney | ULC S635, CAN/ULC-S640, UL 1777 |
| Minimum liner height | 12 feet |
| Baffle material | Vermiculite |
| Approved for alcove installation | Not applicable |
| Approved for mobile home installation2 | No |
| Type of door | Simple, glass with cast iron frame |
| Type of glass | Ceramic glass |
| Blower | Included (up to 144 CFM) |
| Particulate emission standard3 | EPA / CSA B415.1-10 |
| USA Standard (Safety) | UL 1482, UL 737 |
| Canada Standard (Safety) | CAN/ULC-628 |
- North-south: ends of the logs visible, East-west: sides of the logs visible.
- Mobile homes (Canada) or manufactured homes (USA): The US Department of Housing and Urban Development describes “manufactured homes” better known as “mobile homes” as follows; buildings built on fixed wheels and those transported on temporary wheels/axles and set on a permanent foundation. In Canada, a mobile home is a dwelling for which the manufacture and assembly of each component is completed or substantially completed prior to being moved to a site for installation on a foundation and connection to service facilities and which conforms to the CAN/CSAZ240 MH standard.
- Tested and certified in compliance with CFR 40 part 60, subpart AAA, section 60.534(a)(1(ii) and ASTM E3053-17. Based on EPA letter dated November 1, 2022.
Dimensions



EPA Loading Procedure
The best loading method for efficient and clean combustion with this fireplace is the EPA loading method. The images below show the space in the firebox where the logs are to be placed. It is important to always respect this space and not to put logs in the grid area marked with an X. The marked area is defined by the space between the glass and primary air channel. Leave enough space between the logs for good air circulation. Using more than the usable firebox volume for loading wood will result in poor combustion. The Usable firebox volume of 1.44 ft³ shown below is the one used during EPA emissions certification. The log length recommended for this stove is 16 inches and the EPA testing were done with log length of 16 in. The fuel specie used for the EPA certification was beech.
Air control

The air control is located underneath the ash shelf. To open the air control, pull the air control handle completely toward you (High). This will increase the burn rate. To close the air control, push the air control handle completely. This will permit to achieve the lowest possible burn rate.
High burn rate (primary air control open)
For Kindling and Start-up fuel configuration refer to the pictures below. Split the start-up fuel log into 6 pieces. Crisscross at 45 degrees the 6 pieces on the brick on 3 rows (From the bottom, first row 2 smallest-second row 2 biggest- third row 2 medium) and leaving some space between each wood pieces. Crisscross at 45 degrees the kindling on the top of the start-up fuel on 3 rows, from biggest to smallest. The kindling is made of between 12-15 small pieces that are about 10% of moisture content. Place newspaper sheets on top of the kindling. Light up the paper and let the door at 90 degrees between one minute and one minute and 30 seconds, then close the door. Air control is fully open.

When there are only faint flames remaining and most of the wood is turned into coal, break ashes and level coal bed. Close the door.
Add High Fire load in an East-West configuration. Put 3 first pieces on the coal bed. Leave about 2 inches of air space between the rear firebrick and the first piece. See Figure 11 and 12 for an example of high burn load inside the firebox. The front (3rd) piece should stand off on the steel andirons by approximately 1-2 inches. The 2 other pieces should be added on top of the first 3, stacked in the middle, in an East-West orientation. Let the door open at 90 degrees between one minute and one minute and 30 seconds. Close the door, start the blower at maximum speed, and let burn until the weight is down to target.

For optimal loading of a high fire, take small to medium size fuel pieces (between 2- and 3-inches cross section dimensions approximately) on the bottom and use medium to large size fuel pieces (3.5 to 4.5 inches of cross section dimensions approximately) on top. To make sure combustion is equal, put the biggest piece on top of the first three, at the front of the firebox. See an example of high burn load in the Figure 13 above.
Low burn rate
After the high fire, if there is visible yellow flame, close the air control. When the charcoal bed weight is between 14 and 17% of the low fire load weight, turn off the blower, open the door, stir the coals slightly, just enough to have a level plane coal bed, and let the door remain slightly open for 1 minute before loading the low burn test fuel.
For the loading, put 3 first pieces on the coal bed in an East-West orientation. Leave approximately 1 inch of air space between the rear firebrick and the first piece. There should be air space between all pieces. The front (3rd) piece may contact the steel andirons. The 2 top pieces (fourth and fifth) should be added on top of the first 3, slightly angled (10° from the 3 wood pieces at the bottom). The distance between the logs should be approximately 1 inch. See Figure 14 and 15 for an example of low burn load inside the firebox.
For optimal low fire load, use medium to large size fuel pieces (between 4- and 5.5-inches cross section dimensions approximately) on the bottom and use small to medium size fuel pieces (2.5 to 4 inches cross section dimensions approximately) on top. To make sure combustion is equal, put the smallest piece on top of the first three, at the back of the firebox (see Figure 16 for an example of low burn load).

Let the door ajar at 90° until the flames roll on top of the fuel (between 2:00 and 4:00 minutes) and then close the door with the primary air control open. See picture below for rolling flame:

Close the primary air control by small increments (ex: 1/16 of an inch), from ½’’ to fully closed, between 4 and 15 minutes after the loading period. Before closing further, make sure the flame intensity is increasing or stable. Close the air control completely. Turn ON the blower at maximum speed.
Medium burn rate
After the high fire, if there is visible yellow flame, close the air control. When the charcoal bed weight is between 14 and 17% of the medium fire load weight, turn off the blower, open the door, stir the coals slightly, just enough to have a level plane coal bed, and let the door remain slightly open for 1 minute before loading the medium burn test fuel.
For the loading, put 3 first pieces on the coal bed in an East-West orientation. Leave about 1 to 2 inches of air space between the rear firebrick and the first piece. The front (3rd) piece should stand off from the steel andirons by approximately 1 inch. The 2 top pieces (fourth and fifth) should be added on top of the first 3, slightly angled (10° from horizontal, top view). The distance between the logs should be approximately 1 inch. See Figure 17 and 18 for an example of medium burn load inside the firebox.
For optimal medium fire load, use medium to large size fuel pieces (between 4- and 5.5-inches cross section dimensions approximately) on the bottom and use small to medium size fuel pieces (2.5 to 4 inches cross section dimensions approximately) on top. To make sure combustion is equal, put the smallest piece on top of the first three, at the back of the firebox (see Figure 19 for an example of medium burn load).

Let the door ajar at 90° until the flames roll on top of the fuel (between 2:30 and 5:00) and then close the door with the primary air control open. See picture below for rolling flame:

Close the primary air control by small increments (ex: 1/16 of an inch) until reaching the mid-point of air control position, between 4 and 15 minutes after the loading period. Before closing further, make sure the flame intensity is increasing or stable. Turn ON the blower at maximum speed.
Clearances to Combustible Material
When the insert is installed so that its surfaces are at or beyond the minimum clearances specified, combustible surfaces will not overheat under normal and even abnormal operating conditions.
NO PART OF THE INSERT MAY BE LOCATED CLOSER TO THE COMBUSTIBLE THAN THE MINIMUM CLEARANCE FIGURES GIVEN.
CLEARANCES MAY ONLY BE REDUCED BY MEANS APPROVED BY THE REGULATORY AUTHORITY.
Minimum Masonry Opening and Clearances to Combustibles

Masonry Opening and Clearances
| MINIMUM CLEARANCES | |
| F | 16″ (406 mm) |
| G | 9″ (229 mm) |
| H | 27″ (686 mm) |
| I | 27″ (686 mm) |
| Q | 84″ (213 cm) |
| MAXIMUM THICKNESS | |
| O | 5″ (127 mm) |
| P | 12″ (305 mm) |
| MINIMUM MASONRY OPENING | |
| J | 21 ½” (546 mm) |
| K1 | 27 ½” (700 mm) |
| L | 12 ¾” (324 mm) |
If a fresh air intake is required, it is recommended to add at least 4″ to the width of the minimum opening of the hearth.
Floor Protection
It is necessary to have a floor protection made of non-combustible materials that meets the measurements specified in the “Table 1 : Floor Protection” below.

Table 1 : Floor Protection
| FLOOR PROTECTION | ||
| Canada | USA | |
| B1 | 18″ (457 mm) | 16″ (406 mm) |
| M | 8″ (203 mm) | N/A |
| N | N/A | 8″ (203 mm) |
Installation Raised of 4″ (102 mm) and Less
If non-combustible material floor protection needs to be added in front of and level with the hearth extension of the masonry fireplace (F = 4″ (102 mm) or less), an R-value equal to or greater than 1.00 is required and should extend at least 22″ (559 mm) in front of the unit (B). Refer to “Additional Floor Protection – Not Raised Installation”

1From door opening. The depth of the hearth extension in front of the insert is included in the calculation of the floor protector’s dimensions. The masonry hearth should be at least 5″ (127 mm) higher than the combustible floor in front of it and a floor protection must extend at least 16″ (406 mm USA) and at least 18″ (457 mm Canada) without an R value. If the hearth elevation is lower than 5″ (127 mm), the non-combustible (B) floor protection in front of the insert should have an R value equal or greater than 1.00 and shall extend 23″ (584 mm) in front of the unit.
Installation Raised of More Than 4″ (102 mm)
If the extension of the masonry hearth is raised at least 4″ (102 mm) from the floor protection, a non-combustible material, without an R-value, must extend at least 16″ (406 mm in USA) or 18″ (457 mm in Canada) in front of the unit (B). Refer to “Additional Floor Protection – Raised Installation”.

R Value
There are two ways to calculate the R-value of the floor protection. First, by adding the R-values of materials used, or by the conversion if the K factor and thickness of the floor protection are given.
To calculate the total R value from R values of the materials used, simply add the R-values of materials. If the result is equal to or greater than the R-value requirements, the combination is acceptable. R-values of some selected materials are shown below.
Table 2 : Thermal Characteristics of Common Floor Protection Materials1
| MATERIAL | CONDUCTIVITY (K) PER INCH | RESISTANCE (R) PER INCH THICKNESS |
| Micore® 160 | 0.39 | 2.54 |
| Micore® 300 | 0.49 | 2.06 |
| Durock® | 1.92 | 0.52 |
| Hardibacker® | 1.95 | 0.51 |
| Hardibacker® 500 | 2.3 | 0.44 |
| Wonderboard® | 3.23 | 0.31 |
| Cement mortar | 5.00 | 0.2 |
| Common brick | 5.00 | 0.2 |
| Face brick | 9.00 | 0.11 |
| Marble | 14.3 – 20.00 | 0.07 – 0.05 |
Information as reported by manufacturers and other resources.
| MATERIAL | CONDUCTIVITY (K) PER INCH | RESISTANCE (R) PER INCH THICKNESS |
| Ceramic tile | 12.5 | 0.008 |
| Concrete | 1.050 | 0.950 |
| Mineral wool insulation | 0.320 | 3.120 |
| Limestone | 6.5 | 0.153 |
| Ceramic board (Fibremax) | 0.450 | 2.2 |
| Horizontal still air (1/8″ thick)1 | 0.135 | 0,920** |
Exemple:
Required floor protection R of 1.00. Proposed materials: four inches of brick and one inch of Durock® board:
Four inches of brick (R = 4 x 0,2 = 0,8) plus 1 inch of Durock® (R = 1 x 0.52 = 0.52). 0.8 + 0.52 = 1.32.
This R value is larger than the required 1.00 and is therefore acceptable.
In the case of a known K and thickness of alternative materials to be used in combination, convert all K values to R by dividing the thickness of each material by its K value. Add R values of the proposed materials as shown in the previous example.
Exemple:
- K value = 0.75
- Thickness = 1
- R value = Thickness/K = 1/0.75 = 1.33
Installing Options on Your Product and Replacing Parts
Replacement and Adjustment
Door
Note: The images shown are for guidance only and may be different from your product, but the assembly remains the same.
In order for the insert to burn at its best efficiency, the door must provide a perfect seal with the firebox. Therefore, the gasket should be inspected periodically to check for a good seal. The tightness of the door seal can be verified by closing and latching the door on a strip of paper. The test must be performed all around the door. If the paper slips out easily anywhere, either adjust the door or replace the gasket.

Adjustment
The gasket seal may be improved with a simple latch mechanism adjustment:
- Remove the split pin by pulling and turning it using pliers.
- Turn the handle one counterclockwise turn to increase pressure.
- Reinstall the split pin with a small hammer.

Door Alignment
To align, open the door and loosen the pressures screws located on the lower and upper hinges of the door using a 3/32” Allen key to free the adjustable hinge rods.

Using a flat screwdriver, turn the adjustable hinge rods in the direction shown to adjust the doors. Tighten all door hinge pressure screws when they are at the desired positions. Configurations 1-2-3-4-5-6, show in which direction these act on the adjustment of the door. 
Gasket
It is important to replace the gasket with another having the same diameter and density to maintain a good seal.
- Remove the door and place it face-down on something soft like a cushion of rags or a piece of carpet.
- Remove the old gasket from the door. Use a screwdriver to scrape the old gasket adhesive from the door gasket groove.
- Apply a bead of approximately 3/16″ (5 mm) of high temperature silicone in the door gasket groove. Starting from the middle, hinges side, press the gasket into the groove. The gasket must not be stretched during installation.
- Leave about ½″ (10 mm) long of the gasket when cutting and press the end into the groove. Tuck any loose fibers under the gasket and into the silicone.
- Close the door. Do not use the insert for 24 hours.

Glass Replacement
The glass used is a ceramic glass, 5/32″ (4 mm) thick,15 ⅞” x 9 ⅞” (403mm x 251 mm) tested to reach temperatures up to 1400º F. If the glass breaks, it must be replaced by a ceramic glass from SCHOTT with the same specification. Contact your dealer to obtain a genuine replacement part. Tempered glass or ordinary glass will not withstand the high temperatures of this unit.
To remove or replace the glass (D):

- Remove the door from its hinges and lay it on a soft, flat surface.
- Remove the screws (A), the glass retainers (B), and the metal frames (C).
- Remove the glass (D). If it is damaged install a new one in place. The replacement glass must have a gasket all around (see procedure below).
- Reinstall the glass, being careful to center the glass in the door and not to over-tightening the retaining screw.
The two main causes of broken door glass are uneven placement in the door and over-tightening the retaining screws.
Glass Gasket Replacement
The glass gasket is flat, adhesive-backed, woven fibreglass. The gasket must be centred on the edge of the glass.

- Follow the steps of the previous section to remove the glass.
- Remove the old gasket and clean the glass thoroughly.
- Peel back a section of the paper covering the adhesive and place the gasket on a table with the adhesive side up.
- Stick the end of the gasket to the middle of one edge, then press the edge of the glass down onto the gasket, taking care that it is perfectly centred on the gasket.
- Peel off more of the backing and rotate the glass. The gasket must not be stretched during installation.
- Cut the gasket to the required length.
- Pinch the gasket onto the glass in a U shape, all around the glass.
By following these instructions, the edge clearances are maintain. 4.2 Blower and Ash Lip Installation
- Install the ash lip (A) on the insert with three screws (B).
- Center the blower on the ash lip and push it against the firebox. Then push it until it clips.

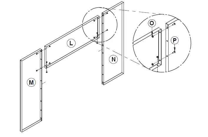
Faceplate Installation
- Remove the faceplate extension (K) secured between the firebox and the convection air jacket.

- Lay the panels on a flat and non abrasive surface. Align the top panel holes (L) with the left (N) and right (M) panels. Secure together using the four bolts (P) and nuts (O) provided.
- Align the holes of the faceplate extension (X) with the holes in the faceplate panels and screw them using bolts (P) and nuts (O) provided.

- Center the insert into the fireplace opening.
If necessary, adjust the height of the insert using the levelling bolts (T) on each side of the insert until the faceplate is properly seated on the floor of the hearth extension. - Align the notch in the faceplate extension with the bolt (Q) welded to the air jacket located and slide the faceplate assembly just over the bolt’s head and washer (R). Then push towards the fireplace.
- Once the faceplate is in place, secure the assembly by tightening nuts (S) using a 7/16″ (11 mm) open end wrench.

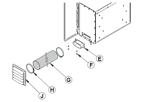
Optional Fresh Air Intake Kit Installation
Note: The fresh air intake kit may be installed on the right or left end side of the unit. The unused side must be covered by the plate provided in the user manual kit.
- Install the fresh air intake adapter (E) with four screws (F) then secure the flexible pipe1 (H) (not included) to the adapter using one of the pipe clamps (G). Secure the other end of the pipe to the outside wall termination (J) using the other pipe clamp. The outside wall termination must be installed outside of the home.

- Install the plate (K) with four screws (L) on the unused side of the insert.

Optional Fire Screen Installation
In the United States or in provinces with a particulate emissions limit (e.g.: US EPA), the use of open-door wood stoves with a rigid firescreen is prohibited.
- Open the door.

- Hold the fire screen by the two handles and bring it close to the door opening.

- Lean the upper part of the fire screen against the top door opening making sure to insert the top fire screen brackets behind the primary air deflector.
- Lift the fire screen upwards and push the bottom part towards the insert then let the fire screen rest on the bottom of the door opening.
Warning: Never leave the insert unattended while in use with the fire screen.

Log Retainers Installation


Air Tubes and Baffle Installation
- Starting with the rear tube, lean and insert the right end of the secondary air tube into the rear right channel hole. Then lift and insert the left end of the tube into the rear left channel.

- Align the notch in the left end of the tube with the key of the left air channel hole. Using a « Vise grip » hold the tube and lock it in place by turning the tube as shown. Make sure the notch reaches the end of the key way.
- Install the baffle.
- Repeat steps 1 and 2 for the three other tubes.
- To remove the tubes use the above steps in reverse order.

Note that secondary air tubes (A) can be replaced without removing the baffle board (B) and that all tubes are identical.


Removal Instructions
For inspecting purposes, the insert may need to be removed. To remove the insert, follow these instructions:
- Unscrew the faceplate fastener (B) holding the faceplate (C) on the insert.
- Remove faceplate (C) by pulling on it.
- Remove the blower assembly (D).
- Remove the three screws securing the pipe connector (A).
- Unscrew the bolts securing the insert to the floor on each side of the unit (E).

Exploded Diagram and Parts List

IMPORTANT: THIS IS DATED INFORMATION. When requesting service or replacement parts for this unit, please provide the model number and the serial number. We reserve the right to change parts due to technology upgrades or availability. Contact an authorized dealer to obtain any of these parts. Never use substitute materials. Use of non-approved parts can result in poor performance and safety hazards.
| # | Item | Description | Qty |
| 1 | AC01299 | RIGID FIRESCREEN | 1 |
| 2 | 30898 | ROUND WOODEN BLACK HANDLE | 2 |
| 3 | AC07867 | 1/2″ CHROME PLATED COIL HANDLE | 1 |
| 4 | 30101 | SPRING TENSION PIN 5/32″Ø X 1 1/2″L | 1 |
| 5 | SE70697 | REPLACEMENT HANDLE WITH LATCH KIT | 1 |
| 6 | AC09185 | DOOR LATCH KIT | 1 |
| 7 | SE24300 | CAST IRON DOOR WITH HANDLE AND GASKET | 1 |
| 8 | AC06500 | SILICONE AND 5/8″ X 8′ BLACK DOOR GASKET KIT (AC-DGKNC) | 1 |
| 9 | SE70700 | REPLACEMENT GLASS WITH GASKET ESCAPE 1500 16 3/4”W X 9 5/8”H X 10 3/4”H | 1 |
| 10 | AC06400 | 3/4″ X 6′ x 1/8″ FLAT BLACK SELF-ADHESIVE GLASS GASKET (AC-GGK) | 1 |
| 11 | SE70728 | GLASS AND MOULDING KIT | 1 |
| 12 | PL75719 | GLASS FRAME MOULDING | 2 |
| 13 | SE53585 | GLASS RETAINER KIT WITH SCREWS (12 PER KIT) | 1 |
| 14 | 30507 | BLACK TORX SCREW WITH FLAT HEAD TYPE F 1/4-20 X 3/4″ | 4 |
| 15 | PL70660 | ASH SHELF | 1 |
| 16 | 30187 | STAINLESS WASHER ID 17/64″ X OD 1/2″ | 1 |
| 17 | 30206 | ZINC WASHER 5/16″ID X 3/4″OD | 1 |
| 18 | 30060 | THREAD-CUTTING SCREW 1/4-20 X 1/2″ F HEX STEEL SLOT WASHER C102 ZINC | 2 |
| 19 | 30782 | HEX FLANGE NUT SERRATED 1/4-20 STAINLESS 18-8 | 1 |
| 20 | SE70719 | DAMPER ASSEMBLY | 1 |
| 21 | AC07863 | 1/4″ CHROME PLATED LONG COIL HANDLE | 1 |
| 22 | SE70720 | AIR CONTROL ROD ASSEMBLY | 1 |
| 23 | AC01298 | 5″Ø FRESH AIR INTAKE KIT | 1 |
| 24 | SE74167 | DOOR HINGE REPLACEMENT KIT | 1 |
| 25 | 30337 | SQUARE HEAD SET SCREW 1/2-13 X 1-1/2″ | 2 |
| 26 | PL75726 | DECORATIVE SIDE PANEL | 2 |
| 27 | PL34052 | LINER FIXATION BRACKET | 3 |
| 28 | 29015 | 4” X 9” X 1 1/4” REFRACTORY BRICK | 12 |
| 29 | 29010 | 4 1/2″ X 9″ X 1 1/4″ REFRACTORY BRICK | 4 |
| 30 | PL36031 | 3 5/8″ X 9” X 1 1/4” REFRACTORY BRICK | 1 |
| 31 | PL70516 | SECONDARY AIR TUBE | 4 |
| 32 | 21586 | 18 7/8” X 9 1/2” X 1 1/4” VERMICULITE BAFFLE | 1 |
| 33 | PL70696 | FACEPLATE 29 X 44 TOP PANEL | 1 |
| 34 | PL70695 | FACEPLATE 29 X 44 SIDE PANEL | 2 |
| 35 | SE70696 | ESCAPE 1500 INSERT FACEPLATE | 1 |
| 36 | SE70656 | BLOWER ASSEMBLY | 1 |
| 37 | 44089 | DOUBLE CAGE BLOWER 144 CFM 115V – 60Hz – 1.1A | 1 |
| 38 | 60013 | POWER CORD 96″ X 18-3 type SJT (50 pcs per carton) | 1 |
| 39 | 44080 | RHEOSTAT WITHOUT NUT (MODEL KBMS-13BV) | 1 |
| 40 | 44087 | RHEOSTAT NUT | 1 |
| 41 | 44085 | RHEOSTAT KNOB | 1 |
| 42 | AC05959 | METALLIC BLACK STOVE PAINT – 342 g (12oz) AEROSOL | 1 |
| 43 | SE45997 | ESCAPE 1500 INSERT INSTRUCTIONS MANUAL KIT | 1 |
| 44 | PL75747 | 1.7 SERIES SECONDARY AIR TUBE | 1 |
DROLET LIMITED LIFETIME WARRANTY
The warranty of the manufacturer extends only to the original retail purchaser and is not transferable. This warranty covers brand new products only, which have not been altered, modified nor repaired since shipment from the factory. Proof of purchase (dated bill of sale), model name and serial number must be supplied when making any warranty claim to the DROLET dealer.
This warranty applies to normal residential use only. This warranty is void if the unit is used to burn material other than cordwood (for which the unit is not certified by EPA) and void if not operated according to the owner’s manual. Damages caused by misuse, abuse, improper installation, lack of maintenance, over firing, negligence or accident during transportation, power failures, downdrafts, venting problems or underestimated heating area are not covered by this warranty. The recommended heated area for a given appliance is defined by the manufacturer as its capacity to maintain a minimum acceptable temperature in the designated area in case of a power failure.
This warranty does not cover any scratch, corrosion, distortion, or discoloration. Any defect or damage caused by the use of unauthorized or other than the original parts voids this warranty. An authorized qualified technician must perform the installation in accordance with the instructions supplied with this product and all local and national building codes. Any service call related to an improper installation is not covered by this warranty.
The manufacturer may require that defective products be returned or that digital pictures be provided to support the claim. Returned products are to be shipped prepaid to the manufacturer for investigation. Transportation fees to ship the product back to the purchaser will be paid by the manufacturer. Repair work covered by the warranty, executed at the purchaser’s domicile by an authorized qualified technician requires the prior approval of the manufacturer. All parts and labour costs covered by this warranty are limited according to the table below.
The manufacturer, at its discretion, may decide to repair or replace any part or unit after inspection and investigation of the defect. The manufacturer may, at its discretion, fully discharge all obligations with respect to this warranty by refunding the wholesale price of any warranted but defective parts. The manufacturer shall, in no event, be responsible for any uncommon, indirect, consequential damages of any nature, which are in excess of the original purchase price of the product. A one-time replacement limit applies to all parts benefiting from lifetime coverage. This warranty applies to products purchased after March 1st 2019.
| DESCRIPTION | WARRANTY APPLICATION* | |
| PARTS | LABOUR | |
| Combustion chamber (welds only) and cast iron door frame. | Lifetime | 3 years |
| Surrounds, heat shields, ash drawer, steel legs, pedestal, trims (aluminum extrusions), plating (defective manufacture**), and convector air-mate. | 5 years | 3 years |
| Removable stainless steel combustion chamber components, secondary air tubes**, deflectors, and supports. | 5 years | N/A |
| Glass retainers, handle assembly, and air control mechanism. | 3 years | 1 year |
| Carbon steel combustion chamber components, vermiculite baffle**, and C-Cast baffle**. | 2 years | N/A |
| Standard blower, heat sensors, switches, rheostat, wiring, and other controls. | 1 year | 1 year |
| Optional blower, paint (peeling**), ceramic glass (thermal breakage only**), ceramic fibre blankets, gaskets, insulation, and other options. | 1 year | N/A |
| Firebricks. | N/A | N/A |
| All parts replaced under the warranty. | 90 days | N/A |
*Subject to limitations above. **Picture required.
Labour cost and repair work to the account of the manufacturer are based on a predetermined rate schedule and must not exceed the wholesale price of the replacement parts. Shall your unit or a component be defective, contact immediately your DROLET dealer. To accelerate processing of your warranty claim, make sure to have on hand the following information when calling:
- Your name, address and telephone number;
- Bill of sale and dealer’s name;
- Installation configuration;
- Serial number and model name as indicated on the nameplate fixed to the back of your unit;
- Nature of the defect and any relevant information.
Before shipping your unit or defective component to our plant, you must obtain an Authorization Number from your DROLET dealer. Any merchandise shipped to our plant without authorization will be refused automatically and returned to the sender.
This document is available for free download on the manufacturer’s website. It is a copyrighted document. Resale is strictly prohibited. The manufacturer may update this document from time to time and cannot be responsible for problems, injuries, or damages arising out of the use of information contained in any document obtained from unauthorized sources.
Stove Builder International inc.
250, rue de Copenhague,
St-Augustin-de-Desmaures (Québec) Canada G3A 2H3
1-877-356-6663
https://www.drolet.ca/en/
[email protected]



If necessary, adjust the height of the insert using the levelling bolts (T) on each side of the insert until the faceplate is properly seated on the floor of the hearth extension.





















