DB03182 Escape 1200 Wood Stove
Owner’s Manual

INSTALLATION AND OPERATION REQUIREMENTS
US Environmental Protection Agency phase II certified wood stove compliant with 2020 cord wood standard
Safety tested according to ULC S627, UL 1482 and UL 737 standards by an accredited laboratory.
CONTACT LOCAL BUILDING OR FIRE OFFICIALS ABOUT RESTRICTIONS AND INSTALLATION INSPECTION REQUIREMENTS IN LOCAL AREA.
READ THIS ENTIRE MANUAL BEFORE INSTALLATION AND USE OF THIS WOOD STOVE. FAILURE TO FOLLOW THESE INSTRUCTIONS COULD RESULT IN PROPERTY DAMAGE, BODILY INJURY OR EVEN DEATH.
READ AND KEEP THIS MANUAL FOR REFERENCE
Dealer:
Installer:
Phone Number:
Serial Number:
ONLINE WARRANTY REGISTRATION
If the unit requires repairs during the warranty period, proof of purchase must be provided. The purchase invoice must be kept. The date indicated on it establishes the arranty period. If it can not be provided, the warranty period will be determined by the date of manufacture of the product. It is also highly recommended to register the arranty online at
https://www.drolet.ca/en/warranty/warranty-registration/
Registering the warranty will help to quickly find the information needed on the unit.
CERTIFICATION PLATE

General Information
2.1 Performances
Values are as measured per test method, except for the recommended heating area, firebox volume, maximum burn time and maximum heat output.
| Model | Escape 1200 (DB03182) | |
| Combustion type | Non-catalytic | |
| Fuel Type | Dry Cordwood | |
| Recommended heating area (sq. ft..)’ | 250 to 1,200 ft2 (23 to 111 m2) | |
| Total firebox volume | 1.7 ft3 (0.0481 m3) | |
| EPA loading volume | 1.55 ft3 (0.0439 m3) | |
| Maximum burn time’ | 5 hours | |
| Maximum heat output (dry cordwood)2 | 45,000 BTU/h (13.2 kW) | |
| Overall heat output rate (min. to max.)23 | 12,124 BTU/h to 26,700 BTU/h (3.55 kW to 7.83 kW) | |
| Average overall efficiency3 (Dry cordwood) | 74 % (HHV)4 | 79 % (LVH)5 |
| Optimum efficiency6 | 80 % | |
| Optimum heat transfer efficiency’ | 79 % | |
| Average particulate emissions rates | 1.8 g/h (EPA / CSA B415.1-10)9 | |
| Average C01° | 74 g/h | |
- Recommended heating area and maximum burn time may vary subject to location in home, chimney draft,heat loss factors, climate, fuel type and other variables. The recommended heated area for a given appliance is defined by the manufacturer as its capacity to maintain a minimum acceptable temperature in the designated area in case of a power failure.
- The maximum heat output (dry cordwood) is based on a loading density varying between 15 lb/ft³ and 20 lb/ft³ and reloading intervals ranging from 60 to 120 minutes. Other performances are based on a fuel load prescribed by the standard without any reloading between start and finish. The specified loading density varies between 7 lb/ft³ and 12 lb/ft³. The moisture content is between 19% and 25%.
- As measured per CSA B415.1-10 stack loss method.
- Higher Heating Value of the fuel.
- Lower Heating Value of the fuel.
- Optimum overall efficiency at a specific burn rate (LHV).
- The optimum heat transfer efficiency is for the low burn rate and represents the appliance’s ability to convert the energy contained in the wood logs into energy transferred to the room in the form of heat and does not take into account the chemical losses during combustion.
- This appliance is officially tested and certified by an independent agency.
- Tested and certified in compliance with CFR 40 part 60, subpart AAA, section 60.534(a)(1(ii) and ASTM E3053-17 based on the ALT-125 sent by EPA on February 28 th , 2018.
- Carbon monoxide.
2.2 Specifications
| Maximum log length11 | 17 in (432 mm) north-south |
| Flue outlet diameter | 6 in (150 mm) |
| Recommended connector pipe diameter | 6 in (150 mm) |
| Type of chimney | ULC-S629, UL 103 HT (2100 °F) |
| Minimum chimney height | 12 feet |
| Baffle material | Vermiculite |
| Approved for alcove installation | Yes |
| Approved for mobile home installation12 | Yes |
| Type of door | Simple, glazed or not, with cast iron frame |
| Type of glass | Ceramic glass |
| Blower | Optional (up to 100 CFM) |
| Particulate emission standard13 | EPA / CSA B415.1-10 |
| USA standard (Safety) | UL 1482, UL 737 |
| Canada standard (Safety) | ULC-S627 |
11 North-south: ends of the logs visible, East-west: sides of the logs visible.
12Mobile homes (Canada) or manufactured homes (USA): The US Department of Housing and Urban Development describes “manufactured homes” better known as “mobile homes” as follows; buildings built on fixed wheels and those transported on temporary wheels/axles and set on a permanent foundation. In Canada, a mobile home is a dwelling for which the manufacture and assembly of each component is completed or substantially completed prior to being moved to a site for installation on a oundation and connection to service facilities and which conforms to the CAN/CSAZ240 MH standard.
13 Tested and certified in compliance with CFR 40 part 60, subpart AAA, section 60.534(a)(1(ii) and ASTM E3053-17 based on the ALT-125 sent by EPA on February 28 th , 2018.
2.3 Dimensions
2.3.1 Stove Dimensions

2.3.2 Combustion Chamber Dimensions

2.4 EPA loading
The charging methods shown below are those that were used during emissions certification.
2.4.1 Air control
The air control is located underneath the ash shelf. To open the air control, push the air control handle completely to the left (High). This will increase the burn rate. To close he air control, push the air control handle completely to the right (Low). This will decrease the burn rate.

2.4.2 High burn rate (primary air control open)
Open the air control completely. Place six small pieces (2″x2″) of wood in the firebox crossing them at the greatest possible angle.
Criss cross fifteen kindling wood pieces on the small pieces of wood in three layers at the greatest possible angle. Tie knot with five sheets of paper and place them on top of the kindling wood. Light up the paper and let the door ajar at 90° until all the kindling wood is on fire and the first row of small pieces of wood is on fire too. Close the door.
When there is no more fire in the front of the firebox and there are only faint flames on the wood in the back of the firebox, break ashes, level the coal bed and put four logs in the firebox. Place the biggest log (about 5″x5″) and a medium log (about 4″x4″) on the coal bed with a north-south orientation. Place two other medium logs on the first two with the greatest possible angle. Their should be air space between each logs and between the logs and the bricks. Let the door ajar at 90° for approximately two minutes and then close the door.
2.4.3 Medium and low burn rate
On a 2″ coal bed that is still slightly red, place five logs of approximatively 4″x4″ or 3″x3″ with a north-south orientation. Place three logs on the coal bed and the other two n top with the greatest possible angle. Their should be air space between each logs and between the logs and the bricks. Let the door ajar at 90° for approximately 5 min. Then, close the door with the primary air control open. Leave to burn with the primary air control open for approximately 10 minutes and then close the primary air control completely for the low burn rate and halfway for the medium burn rate.
Clearances to Combustible Material
The clearances shown in this section have been determined by tests according to procedures set out in safety standards ULC S627 (Canada), UL 1482 (U.S.A.) and UL 737 (U.S.A.). When the stove is installed so that its surfaces are at or beyond the minimum clearances specified, combustible surfaces will not overheat under normal and even abnormal operating conditions. No part of the stove or flue pipe may be located closer to combustibles than the minimum clearance figures given.
The clearances to combustible walls may be slightly different in Canada and the U.S.A. and may also differ depending on whether single or double wall flue pipe is used. Make sure to choose the correct clearance for the stove location and type of flue pipe. The clearances of the appliance and the flue pipes must be met individually, meaning the appliance cannot be installed closer to the combustible materials than the single or double wall pipe allows. For a safe way to reduce clearances refer to section”5. Reducing Wall and Ceiling Clearances Safely”
3.1 Clearances
| APPLIANCE CLEARANCES WITH SINGLE WALL PIPE CONNECTOR | ||
| Canada | USA | |
| A | 14″ (356 mm) | 12″ (305 mm) |
| B | 18″ (457 mm) | 18″ (457 mm) |
| C | 11″ (279 mm) | 11″ (279 mm) |
| APPLIANCE CLEARANCES WITH DOUBLE WALL PIPE CONNECTOR | ||
| Canada | USA | |
| A | 6″ (152 mm) | 6″ (152 mm) |
| B | 18″ (457 mm) | 18″ (457 mm) |
| C | 7″ (178 mm) | 7″ (178 mm) |
If the above clearances are met, then the distances measured from the flue outlet will be:
| DISTANCES14 FROM PIPE CONNECTOR WITH SINGLE WALL PIPE CONNECTOR | ||
| Canada | USA | |
| D | 18″ (457 mm) | 16″ (406 mm) |
| E | 24 ½” (622 mm) | 24 ½” (622 mm) |
| F | 18 ¼” (464 mm) | 18 ¼” (464 mm) |
| DISTANCES14 FROM PIPE CONNECTOR WITH DOUBLE WALL PIPE CONNECTORE | ||
| Canada | USA | |
| D | 9 ¼” (235 mm) | 9 ¼” (235 mm) |
| E | 23 ¾” (603 mm) | 23 ¾” (603 mm) |
| F | 13 ½” (343 mm) | 13 ½” (343 mm) |
14 The pipe distances listed in this table refer to the distances obtained when the stove is installed in accordance with the appliance clearances above mentioned.

3.1.1 With Heat Shield AC02762
To reduce the clearances of an appliance using a single wall pipe connector, the use of a heat shield certified with the single wall pipe connector to be used as close as 6″ from combustible materials must be used. Only in this case, the same clearances as a certified double wall pipe connector can be used.Refer to the booklet present in the screen options to obtain the dimensions to be respected.
| APPLIANCE CLEARANCES WITH DOUBLE WALL PIPE CONNECTOR | ||
| Canada | USA | |
| A | 2 ½” (64 mm) | 2 ½” (64 mm) |
| B | 2 ½” (64 mm) | 2 ½” (64 mm) |
| C | 2 ½” (64 mm) | 2 ½” (64 mm) |
| DISTANCES16 FROM DOUBLE WALL PIPE CONNECTOR | ||
| Canada | USA | |
| D | 5 ¾” (146 mm) | 5 ¾” (146 mm) |
| E | 8 ¼” (210 mm) | 8 ¼” (210 mm) |
| F | 9″ (229 mm) | 9″ (229 mm) |

If the clearance reduction is on the same side as the door handle, position the stove at a minimum of 6 inches from the side wall (clearance B), otherwise it may be located at the clearance shown in the table above.
15 Note that to reduce the clearances of an appliance using a single wall pipe connector, the use of a heat shield certified with the single wall pipe connector to be used as close as 6″ from combustible materials must be used. Only in this case, the same clearances as a certified double wall pipe connector can be used.
16 The pipe distances listed in this table refer to the distances obtained when the stove is installed in accordance with the appliance clearances above mentioned.
3.1.2 With Lowered Ceiling

| APPLIANCE CLEARANCES WITH SINGLE WALL PIPE CONNECTOR | ||
| Canada | USA | |
| A | 14″ (356 mm) | 14″ (356 mm) |
| B | 20″ (508 mm) | 20″ (508 mm) |
| C | 11″ (279 mm) | 11″ (279 mm) |
| L | 72″ (1829 mm) | 72″ (1829 mm) |
| APPLIANCE CLEARANCES WITH DOUBLE WALL PIPE CONNECTOR | ||
| Canada | USA | |
| A | 6″ (152 mm) | 6″ (152 mm) |
| B | 18″ (457 mm) | 18″ (457 mm) |
| C | 8″ (203 mm) | 8″ (203 mm) |
| L | 72″ (1829 mm) | 72″ (1829 mm) |
If the above clearances are met, then the distances measured from the flue outlet will be:
| DISTANCES17 FROM PIPE CONNECTOR WITH SINGLE WALL PIPE CONNECTOR | ||
| Canada | USA | |
| D | 18″ (457 mm) | 18″ (457 mm) |
| E | 26 ½” (673 mm) | 26 ½” (673 mm) |
| F | 18 ¼” (464 mm) | 18 ¼” (464 mm) |
| DISTANCES17 FROM PIPE CONNECTOR WITH DOUBLE WALL PIPE CONNECTOR | ||
| Canada | USA | |
| D | 9 ¼” (235 mm) | 9 ¼” (235 mm) |
| E | 23 ¾” (603 mm) | 23 ¾” (603 mm) |
| F | 14 ½” (368 mm) | 14 ½” (368 mm) |
17 The pipe distances listed in this table refer to the distances obtained when the stove is installed in accordance with the appliance clearances above mentioned.
3.1.3 With Heat Shield AC02762 and Lowered Ceiling
To reduce the clearances of an appliance using a single wall pipe connector, the use of a heat shield certified with the single wall pipe connector to be used as close as 6″ from ombustible materials must be used. Only in this case, the same clearances as a certified double wall pipe connector can be used. Refer to the booklet present in the screen options to obtain the dimensions to be respected.

| APPLIANCE CLEARANCES WITH DOUBLE WALL PIPE CONNECTOR | ||
| Canada | USA | |
| A | 2 ½” (64 mm) | 2 ½” (64 mm) |
| B | 2 ½” (64 mm) | 2 ½” (64 mm) |
| C | 2 ½” (64 mm) | 2 ½” (64 mm) |
| L | 72″ (1829 mm) | 72″ (1829 mm) |
| DISTANCES18 FROM PIPE CONNECTOR WITH DOUBLE WALL PIPE CONNECTOR | ||
| Canada | USA | |
| D | 5 ¾” (146 mm) | 5 ¾” (146 mm) |
| E | 8 ¼” (210 mm) | 8 ¼” (210 mm) |
| F | 9″ (229 mm) | 9″ (229 mm) |
3.1.4 Inside a Combustible Alcove
See section 3.1 for single wall pipe installation.


| APPLIANCE CLEARANCES WITH DOUBLE WALL PIPE CONNECTOR | ||
| Canada | USA | |
| A | 6″ (152 mm) | 6″ (152 mm) |
| B | 20″ (508 mm) | 20″ (508 mm) |
| K | 48″ (1219 mm) | 36″ (914 mm) |
| L | 72″ (1829 mm) | 72″ (1829 mm) |
| DISTANCES19 FROM PIPE CONNECTOR WITH DOUBLE WALL PIPE CONNECTOR | ||
| Canada | USA | |
| D | 9 ¼” (235 mm) | 9 ¼” (235 mm) |
| E | 25 ¾” (654 mm) | 25 ¾” (654 mm) |
If the clearance reduction is on the same side as the door handle, position the stove at a minimum of 6 inches from the side wall (clearance B), otherwise it may be located at
the clearance shown in the table above.
18 The pipe distances listed in this table refer to the distances obtained when the stove is installed in accordance with the appliance clearances above mentioned.
3.1.5 Mobile Home
It is strictly forbidden to install a unit with a single wall pipe in a mobile home.
| APPLIANCE CLEARANCES WITH DOUBLE WALL PIPE CONNECTOR | ||
| Canada | USA | |
| A | 6″ (152 mm) | 6″ (152 mm) |
| B | 22″ (559 mm) | 22″ (559 mm) |
| C | 10″ (254 mm) | 10″ (254 mm) |
| DISTANCES19 FROM PIPE CONNECTOR WITH DOUBLE WALL PIPE CONNECTOR | ||
| Canada | USA | |
| D | 9 ¼” (235 mm) | 9 ¼” (235 mm) |
| E | 27 ¾” (705 mm) | 27 ¾” (705 mm) |
| F | 16 ½” (419 mm) | 16 ½” (419 mm) |
19 The pipe distances listed in this table refer to the distances obtained when the stove is installed in accordance with the appliance clearances above mentioned.
3.1.6 Mobile Home With Heat Shield AC02762
It is strictly forbidden to install a unit with a single wall pipe in a mobile home.

| APPLIANCE CLEARANCES WITH DOUBLE WALL PIPE CONNECTOR | ||
| Canada | USA | |
| A | 3″ (76 mm) | 3″ (76 mm) |
| B | 3″ (76 mm) | 3″ (76 mm) |
| C | 3″ (76 mm) | 3″ (76 mm) |
| DISTANCES20 FROM PIPE CONNECTOR WITH DOUBLE WALL PIPE CONNECTOR | ||
| Canada | USA | |
| D | 6 ¼” (159 mm) | 6 ¼” (159 mm) |
| E | 8 ¾” (222 mm) | 8 ¾” (222 mm) |
| F | 9 ½” (241 mm) | 9 ½” (241 mm) |
If the clearance reduction is on the same side as the door handle, position the stove at a minimum of 6 inches from the side wall (clearance B), otherwise it may be located at
the clearance shown in the table above.
Floor Protection
This stove is designed to prevent the floor from overheating. However, it must be placed on a non-flammable surface to protect the floor from hot embers that may fall during loading. The floor protection must be a continuous, non combustible material, such as steel with a minimum thickness of 0.015″ (0.38 mm) or ceramic tiles sealed together with grout. Cement board, brick, or any other approved or listed material suited for floor protection. No R factor required. Any type of tile will require a continuous non combustible sheet beneath to prevent the possibility of embers falling through to the combustible floor if cracks or separation should occur in the finished surface. Check local codes for approved alternatives. No protection is required if the unit is installed on a non-combustible floor (ex: concrete).

| FLOOR PROTECTION | ||
| Canada | USA | |
| G21 | 8″ (203 mm) | N/A |
| H | 8″ (203 mm) | N/A |
| I | 18″ (457 mm)From door opening | 16″ (203 mm) From door opening |
| J | N/A | 8″ (203 mm) |
| K | 34 ½” (876 mm) | 31 ¼ (794 mm) |
| N22 | N/A | See note 22 |
| S | 48 ¾” (1238 mm) | 38 ¾” (984 mm) |
| T | 34 ½” (876 mm) | 27 ½” (698 mm) |
| U | 34 ½” (876 mm) | 31 ¼ (794 mm) |
| V | 66″ (1676 mm) | 54 3/8″ (1381 mm) |
21 The floor protection at the back of the stove is limited to the stove’s required clearance if such clearance is smaller than 8 inches (203 mm).
22 Only required under the horizontal section (Ho) of the connector. Must exceed each side of the connector by at least 2 inches (51 mm).
Reducing Wall and Ceiling Clearances Safely

It is often desired to use as little space as possible when installing a wood stove. To do this, it is possible to reduce the clearances safely and install the stove closer to the walls by permanently installing a heat shield between the stove and the flammable material.
The rules for heat shields are sometimes complicated. Read and apply the instructions carefully. Some regions may have different regulations. Consult the local building code or contact the fire department for restrictions, inspection and installation requirements in the area.
5.1 Shield Construction Rules
− Adhesives used in shield construction must not ignite or lose adhesive qualities at temperatures likely to be encountered.
− Mounting hardware which extends from the shield surface into combustibles may be used only at the edges of the shield.
− Mounting hardware must allow full vertical ventilation.
A) Minimum clearance between the appliance top and an unshielded combustible ceiling (for a ceiling 72″ from the floor): 43 7/8″ (1114 mm)
B) Shield extension above the appliance: 20″ (500 mm)
C) Minimum space behind the shield: 1″ (25 mm). In Canada 7/8″ (21 mm)
D) Clearance along the bottom of the shield: minimum 1″ (25 mm) and maximum 3″ (75 mm)
E) Minimum clearance along the top of the shield: 3″ (75 mm)
F) Mounting hardware must not be located closer than 8″ (200 mm) from the vertical centre line of the appliance.
G) Edge clearance for ceiling shields to side and back walls: 3″ (75 mm)
H) Shield extension beyond each side of the appliance: 18″ (450 mm).
Reducing Wall and Ceiling Clearances Safely
It is often desired to use as little space as possible when installing a wood stove. To do this, it is possible to reduce the clearances safely and install the stove closer to the walls by permanently installing a heat shield between the stove and the flammable material.
The rules for heat shields are sometimes complicated. Read and apply the instructions carefully. Some regions may have different regulations. Consult the local building code or contact the fire department for restrictions, inspection and installation requirements in the area.
5.1 Shield Construction Rules
− Adhesives used in shield construction must not ignite or lose adhesive qualities at temperatures likely to be encountered.
− Mounting hardware which extends from the shield surface into combustibles may be used only at the edges of the shield.
− Mounting hardware must allow full vertical ventilation.
A) Minimum clearance between the appliance top and an unshielded combustible ceiling (for a ceiling 72″ from the floor): 43 7/8″ (1114 mm)
B) Shield extension above the appliance: 20″ (500 mm)
C) Minimum space behind the shield: 1″ (25 mm). In Canada 7/8″ (21 mm)
D) Clearance along the bottom of the shield: minimum 1″ (25 mm) and maximum 3″ (75 mm)
E) Minimum clearance along the top of the shield: 3″ (75 mm)
F) Mounting hardware must not be located closer than 8″ (200 mm) from the vertical centre line of the appliance.
G) Edge clearance for ceiling shields to side and back walls: 3″ (75 mm)
H) Shield extension beyond each side of the appliance: 18″ (450 mm).

| TYPE OF SHIELD | CLEARANCES MAY BE REDUCED BY THESE PERCENTAGES | ||||
| SIDES AND REAR | TOP (CEILING) | ||||
| CAN / USA (%) | USA MIN. | CAN / USA (%) | USA MIN. | ||
| Sheet metal, a minimum of 24 gauge (0.61 mm) in thickness , spaced out at least 1″ (25 ram)* by non-combustible spacers | 67 | 12″ (305 mm) | 50 | 18″ (457 mm) | ![]() |
| Ceramic tiles, or equivalent non-combustible material, on non-combustible board spaced out at least 1″ (25 mm)* by non-combustible spacers | 50 | 18″ (457 mm) | 33 | 24″ (610 mm) | ![]() |
| Ceramic tiles, or equivalent non-combustiblematerial, on non-combustible board spacedout at least 1″ (25 mm)* by non-combustiblespacers | 67 | 12″ (305 mm) | 50 | 24″ (610 mm) | ![]() |
| Brick, spaced out at least 1″ (25 mm)* by noncombustible spacers | 50 | 18″ (457 mm) | N/A | N/A | ![]() |
| Brick, with a minimum of 24 gauge (0.61 mm) sheet metal backing, spaced out at least 1″ (25 mm)* by non-combustible spacers | 67 | 12″ (305 mm) | N/A | N/A | ![]() |
OPTIONS INSTALLATION ON YOUR PRODUCT
6.1 Optional Fresh Air Intake Kit Installation
THE IMAGES SHOWN ARE INDICATIVE ONLY AND MAY DIFFER OF YOUR PRODUCT, BUT THE ASSEMBLY REMAINS THE SAME.
This mobile home approved stove requires the installation of a fresh air intake kit (A) and an insulated fresh air intake pipe (HVAC type, must meet ULC S110 or UL 181 class 0 or class 1) (B), sold separately. Refer to air intake kit installation instructions for more details.

6.2 Optional Fire Screen Installation
THE IMAGES SHOWN ARE INDICATIVE ONLY AND MAY DIFFER OF YOUR PRODUCT, BUT THE ASSEMBLY REMAINS THE SAME.
In the United States or in provinces with a particulate emission limit (eg US EPA), the use of wood stoves with open door with and fire screen is prohibited.
It is prohibited to use this wood stove with a fire screen in a mobile home.
- Open the door.
- Hold the fire screen by the two handles and bring it close to the door opening.

- Lean the upper part of the fire screen against the top door opening making sure to position the top fire screen brackets behind the primary air deflector.
- Lift the fire screen upwards and push the bottom part towards the stove then let the fire screen rest on the bottom of the door opening.
Warning: Never leave the stove unattended while in use with the fire screen.

6.3 Optional Blower And Thermodisc Installation
THE IMAGES SHOWN ARE INDICATIVE ONLY AND MAY DIFFER OF YOUR PRODUCT, BUT THE ASSEMBLY REMAINS THE SAME.
A blower and a thermodisc, sold separately, can be installed on the stove. The installation of the blower is identical for a stove on legs or pedestal. Thermodisc allows the blower to operate only when the stove is hot enough. See the instructions provided with the thermodisc for more details.
- Remove the backplate by cutting the knockouts with pliers.

- Screw the blower (D) in place using the screws (C) included in the installation manual. Screw the thermodisc (A) with the screws (B) supplied with the thermodisc on the back of the stove. Ensure that the blower’s power cord is not in contact with any surface of the stove to prevent electrical shock or fire damage. Do not run the power cord beneath the stove.

6.4 Air Tubes And Baffle Installation
- Starting with the rear tube, lean and insert the right end of the secondary air tube into the rear right channel hole. Then lift and insert the left end of the tube into the rear left channel.

- Align the notch in the left end of the tube with the key of the left air channel hole. Using a Vise grip hold\ the tube and lock it in place by turning the tube as shown. Make sure the notch reaches the end of the key way.
- Put the baffle in place.
- Repeat steps 1 and 2 for the three other tubes.
- To remove the tubes use the above steps in reverse order.

Note that secondary air tubes (B) can be replaced without removing the baffle board (A) and that all tube are not necessarely identical (look at the part number on the tube).

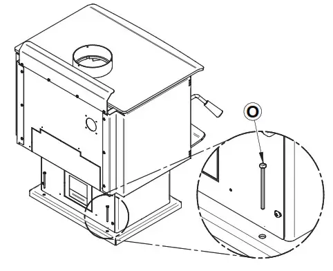
6.5 Mobile Home Installation
THE IMAGES SHOWN ARE INDICATIVE ONLY AND MAY DIFFER OF YOUR PRODUCT, BUT THE ASSEMBLY REMAINS THE SAME.
Screw the base on the floor with the proper hardware (O).

Maintenance/Parts Replacement
Do not clean the glass when the stove is hot.
Do not abuse the glass door by striking or slamming shut.
Do not use the stove if the glass is broken.
7.1 Replacement
The glass used is a ceramic glass, 5/32″ (4 mm) thick, tested to reach temperatures up to 1400º F. If the glass breaks, it must be replaced with one having the same pecification.
To remove or replace the glass (D):
THE IMAGES SHOWN ARE INDICATIVE ONLY AND MAY DIFFER OF YOUR PRODUCT, BUT THE ASSEMBLY REMAINS THE SAME.

- Remove the door (E) from its hinges and lay it on a soft, flat surface.
- Remove the eight screws (A), the eight glass retainers (B), and the metal frames (C).
- Remove the glass (D). If it is damaged install a new one in place. The replacement glass musthave a gasket all around (see procedure below).
- Reinstall the glass, being careful to centre the glass in the door and not to over-tightening theretaining screw.
The two main causes of broken door glass are uneven placement in the door and over-tightening the retaining screws.
7.2 Gasket
The glass gasket is flat, adhesive-backed, woven fibreglass. The gasket must be centred on the edge of the glass.

- Follow the steps of the previous section to remove the glass.
- Remove the old gasket and clean the glass thoroughly.
- Peel back a section of the paper covering the adhesive and place the gasket on a table with the adhesive side up.
- Stick the end of the gasket to the middle of one edge, then press the edge of the glass down onto the gasket, taking care that it is perfectly centred on the gasket.
- Peel off more of the backing and rotate the glass. The gasket must not be stretched during installation.
- Cut the gasket to the required length.
- Pinch the gasket onto the glass in a U shape, all around the glass.
7.3 Door
In order for the stove to burn at its best efficiency, the door must provide a perfect seal with the firebox. The tightness of the door seal can be verified by closing and atching the door on a strip of paper. The test must be performed all around the door. If the paper slips out easily anywhere, either adjust the door or replace the gasket.

7.3.1 Adjustment
In order for the stove to burn at its best efficiency, the door must provide a perfect seal with the firebox. Therefore, the gasket should be inspected periodically to check for a good seal. The gasket seal may be improved with a simple latch mechanism adjustment:
- Remove the split pin by pulling and turning it using pliers.
- Turn the handle one counterclockwise turn to increase pressure.
- Reinstall the split pin with a small hammer.

7.3.2 Door Alignment
Door alignment should be checked before lighting the wood stove for the first time, as it may not be properly aligned.
To align, open the door and loosen the pressures screws located on the lower and upper hinges of the door using a 3/32” Allen key to free the adjustable hinge rods.

Using a flat screwdriver, turn the adjustable hinge rods in the direction shown to adjust the doors. Tighten all door hinge pressure screws when they are at the desired positions. Configurations 1-2-3-4-5-6, show in which direction these act on the adjustment of the door.

7.3.3 Gasket
It is important to replace the gasket with another having the same diameter and density to maintain a good seal.

- Remove the door and place it face-down on something soft like a cushion of rags or a piece of carpet
- Remove the old gasket from the door. Use a screwdriver to scrape the old gasket adhesive from the door gasket groove.
- Apply a bead of approximately 3/16″ (5 mm) of high temperature silicone in the door gasket groove. Starting from the middle, hinges side, press the gasket into the groove. The gasket must not be stretched during installation.
- Leave about ½” long of the gasket when cutting and press the end into the groove. Tuck any loose fibers under the gasket and into the silicone.
- Close the door. Do not use the stove for 24 hours.
Exploded Diagram and Parts List

IMPORTANT: THIS IS DATED INFORMATION. When requesting service or replacement parts for your stove, please provide the model number and serial number. We reserve the right to change parts due to technology upgrade or availability. Contact an authorized dealer to obtain one of these parts. Never use substitute materials. The use of unapproved parts can cause poor performance and risk to your safety.
| # | Item | Description | Qty |
| 1 | 21622 | 13 7/16″ X 6 3/4″ X 1″ VERMICULITE BAFFLE | 2 |
| 2 | PL66833 | REAR SECONDARY AIR TUBE | 1 |
| 3 | PL66834 | REAR CENTER SECONDARY AIR TUBE | 1 |
| 4 | PL66835 | FRONT AND CENTER SECONDARY AIR TUBE | 2 |
| 5 | PL74264 | AIR DEFLECTOR | 1 |
| 6 | 30154 | BLACK SCREW #10 X 5/8″ QUADREX #2 TYPE A | 20 |
| 7 | SE74262 | BACK HEAT SHIELD ASSEMBLY | 1 |
| 8 | 29007 | 3 1/4” X 9” X 1 1/4” REFRACTORY BRICK | 4 |
| 9 | 29010 | 4 1/2″ X 9″ X 1 1/4″ REFRACTORY BRICK | 2 |
| 10 | 29015 | 4” X 9” X 1 1/4” REFRACTORY BRICK | 12 |
| 11 | 29000 | 4” X 8” X 1 1/4” REFRACTORY BRICK | 2 |
| 12 | AC05959 | METALLIC BLACK STOVE PAINT – 342 g (12oz) AEROSOL | 1 |
| 13 | SE46242 | ESCAPE 1200 MANUAL KIT | 1 |
| 14 | SE74167 | DOOR HINGE REPLACEMENT KIT | 1 |
| 15 | PL74327 | DECORATIVE DASH | 1 |
| 16 | SE74355 | ASSEMBLY AIR CONTROL HATCH KIT | 1 |
| 17 | 30429 | 3/8” NICKEL COIL HANDLE | 1 |
| 18 | PL74265 | ASH TRAY | 1 |
| 19 | 30507 | BLACK TORX SCREW WITH FLAT HEAD TYPE F 1/4-20 X 3/4″ | 3 |
| 20 | SE53585 | GLASS RETAINER KIT WITH SCREWS (12 PER KIT) | 1 |
| 21 | PL74317 | RIGHT GLASS FRAME | 1 |
| 22 | PL74318 | LEFT GLASS FRAME | 1 |
| 23 | SE74251 | GLASS WITH GASKET 11 3/8” L X 9 1/2” H | 1 |
| 24 | AC06400 | 3/4″ X 6′ FLAT BLACK SELF-ADHESIVE GLASS GASKET | 1 |
| 25 | 30101 | SPRING TENSION PIN 5/32″Ø X 1 1/2″L | 1 |
| 26 | SE70697 | REPLACEMENT HANDLE WITH LATCH KIT | 1 |
| 27 | AC09185 | DOOR LATCH KIT | 1 |
| 28 | AC07867 | 1/2″ CHROME PLATED COIL HANDLE | 1 |
| 29 | SE24349 | ESCAPE 1200 CAST IRON DOOR ASSEMBLY | 1 |
| 30 | AC06500 | SILICONE AND 5/8″ X 8′ BLACK DOOR GASKET KIT | 1 |
| 31 | AC01420 | RIGID FIRESCREEN | 1 |
| 32 | PL06728 | PAINTED AIR CONTROL HANDLE | 2 |
| 33 | 30129 | METAL SCREW #10 X 1/2″ PAN QUADREX ZINC “A” TYPE | 4 |
| 34 | AC02055 | QUICK CONNECT THERMODISC | 1 |
| 35 | 44028 | CERAMIC THERMODISC F110-20F | 1 |
| 36 | AC02050 | BLOWER ASSEMBLY WITH VARIABLE SPEED CONTROL (UP TO 100CFM) | 1 |
| 37 | 44085 | RHEOSTAT KNOB | 1 |
| 38 | 44087 | RHEOSTAT NUT | 1 |
| 39 | 44080 | RHEOSTAT WITHOUT NUT (MODEL KBMS-13BV) | 1 |
| 40 | 44073 | CROSSFLOW BLOWER 115V-60Hz-39W 100 CFM | 1 |
| 41 | 60013 | POWER CORD 96″ X 18-3 type SJT (50 pcs per carton) | 1 |
| 42 | AC01336 | 5″Ø FRESH AIR INTAKE KIT FOR WOOD STOVE ON PEDESTAL | 1 |
| 43 | 49028 | 5″ WHITE AIR INTAKE TERMINATION | 1 |
| 44 | 30536 | LEVELING BOLT 1/4 – 20 X 1” | 4 |
| 45 | 30185 | 17/64″ AA TYPE WASHER BLACK | 4 |
| 46 | 30100 | BLACK HEX NUT 1/4 – 20 | 4 |
| 47 | SE74266 | ESCAPE 1200 PEDESTAL ASSEMBLY | 1 |
| 48 | PL74268 | BACK OF THE BASE | 1 |
| 49 | SE74362 | ESCAPE 1200 GLASS AND MOLDING KIT | 1 |
DROLET LIMITED LIFETIME WARRANTY
The warranty of the manufacturer extends only to the original retail purchaser and is not transferable. This warranty covers brand new products only, which have not been altered, modified nor repaired since shipment from the factory. Proof of purchase (dated bill of sale), model name and serial number must be supplied when making any warranty claim to the DROLET dealer.
This warranty applies to normal residential use only. This warranty is void if the unit is used to burn material other than cordwood (for which the unit is not certified by EPA) and void if not operated according to the owner’s manual. Damages caused by misuse, abuse, improper installation, lack of maintenance, over firing, negligence or accident
during transportation, power failures, downdrafts, venting problems or underestimated heating area are not covered by this warranty. The recommended heated area for a given appliance is defined by the manufacturer as its capacity to maintain a minimum acceptable temperature in the designated area in case of a power failure.
This warranty does not cover any scratch, corrosion, distortion, or discoloration. Any defect or damage caused by the use of unauthorized or other than the original parts voids this warranty. An authorized qualified technician must perform the installation in accordance with the instructions supplied with this product and all local and national
building codes. Any service call related to an improper installation is not covered by this warranty.
The manufacturer may require that defective products be returned or that digital pictures be provided to support the claim. Returned products are to be shipped prepaid to the manufacturer for investigation. Transportation fees to ship the product back to the purchaser will be paid by the manufacturer. Repair work covered by the warranty, executed at the purchaser’s domicile by an authorized qualified technician requires the prior approval of the manufacturer. All parts and labour costs covered by this warranty are limited according to the table below. The manufacturer, at its discretion, may decide to repair or replace any part or unit after inspection and investigation of the defect. The manufacturer may, at its discretion, fully discharge all obligations with respect to this warranty by refunding the wholesale price of any warranted but defective parts. The manufacturer shall, in no event, be responsible for any uncommon, indirect, consequential damages of any nature, which are in excess of the original purchase price of the product. A one-time replacement limit applies to all parts benefiting from lifetime coverage. This warranty applies to products purchased after March 1 st 2019.
| DESCRIPTION | WARRANTY APPLICATION* | |
| PARTS | LABOUR | |
| Combustion chamber (welds only) and cast iron door frame. | Lifetime | 3 years |
| Surrounds, heat shields, ash drawer, steel legs, pedestal, trims (aluminum extrusions), plating (defective manufacture**), and convector air-mate. | 5 years | 3 years |
| Removable stainless steel combustion chamber components, secondary air tubes**, deflectors, and supports. | 5 years | N/A |
| Glass retainers, handle assembly, and air control mechanism. | 3 years | 1 year |
| Carbon steel combustion chamber components, vermiculite baffle**, and C-Cast baffle**. | 2 years | N/A |
| Standard blower, heat sensors, switches, rheostat, wiring, and other controls. | 1 year | 1 year |
| Optional blower, paint (peeling**), ceramic glass (thermal breakage only**), ceramic fibre blankets, gaskets, insulation, and other options. | 1 year | N/A |
| Firebricks. | N/A | N/A |
| All parts replaced under the warranty. | 90 days | N/A |
*Subject to limitations above. **Picture required.
Labour cost and repair work to the account of the manufacturer are based on a predetermined rate schedule and must not exceed the wholesale price of the replacement arts. Shall your unit or a component be defective, contact immediately your DROLET dealer. To accelerate processing of your warranty claim, make sure to have on hand the following information when calling:
- Your name, address and telephone number;
- Bill of sale and dealer’s name;
- Installation configuration;
- Serial number and model name as indicated on the nameplate fixed to the back of your unit;
- Nature of the defect and any relevant information.
Before shipping your unit or defective component to our plant, you must obtain an Authorization Number from your DROLET dealer. Any merchandise shipped to our plant without authorization will be refused automatically and returned to the sender.
This document is available for free download on the manufacturer’s website. It is a copyrighted document. Resale is strictly prohibited. The manufacturer may update this document from time to time and cannot be responsible for problems, injuries, or damages arising out of the use of information contained in any document obtained from unauthorized sources.
Stove Builder International inc.
250, rue de Copenhague,
St-Augustin-de-Desmaures (Québec) Canada
G3A 2H3
418-908-8002
https://www.drolet.ca/en/
[email protected]

























