AXOR 10418000 Starck Single Lever Bath Mixer

Safety Notes
Gloves should be worn during installation to prevent crushing and cutting injuries.
The shower system may only be used for bathing, hygienic and body cleansing purposes.
The hot and cold supplies must be of equal pressures.
Installation Instructions
- The fitting must be installed, flushed and tested after the valid norms.
- Hansgrohe mixers can be used together with hydraulically and thermically controlled continuous flow heaters if the flow pressure is at least 0,15 MPa.
Technical Data
Operating pressure: max. 1 MPa
Recommended operating pressure: 0,1 – 0,5 MPa
Test pressure: 1,6 MPa
(1 MPa = 10 bar = 147 PSI)
Hot water temperature: max. 80°C
Recommended hot water temp anti-pollution function .: 65°C
Symbol description
Do not use silicone containing acetic acid!
To adjust the hot water limiter on single lever mixers, please see page 33. No adjustment is necessary when using a continuous flow water heater.
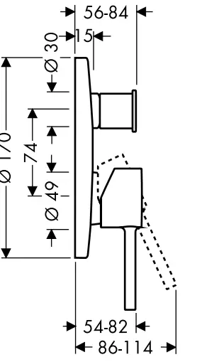
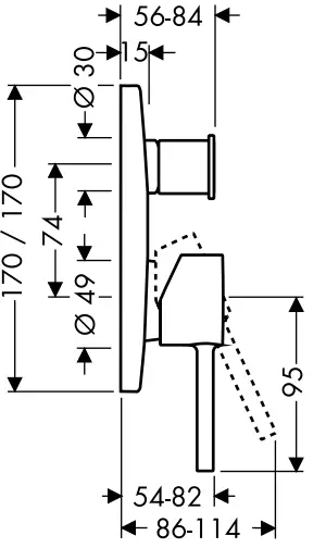
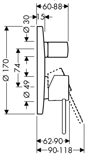
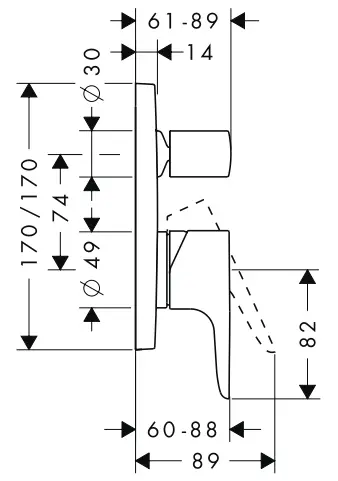
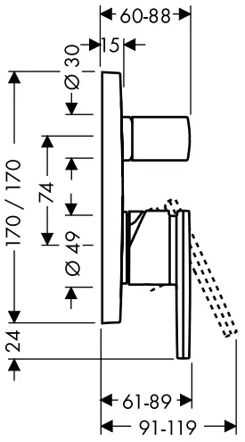
Dimensions
Flow diagram
Operation
Maintenance
Cleaning
Cleaning recommendations, see enclosed brochure.
Spare parts
Test certificate
Troubleshooting
| Fault | Cause | Remedy |
| Mixer stiff | Cartridge defective, calcified | Exchange cartridge |
| Mixer dripping | Cartridge defective, sedimentation | Exchange cartridge |
| Diverter not operating | Residue | Clean converter / grease O-rings |
| Water pressure to low | Increase water pressure | |
| Diverter defective | Exchange diverter | |
| Hot water temperature too low, no cold water. Instantaneous water heater starts up when cold water is selected. | Hot water limiter incorrectly set | Set hot water limiter |
| Crossflow | Exchange cartridge |
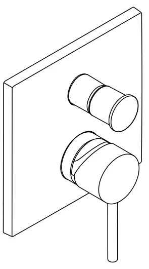
Assembly





Operating Instruction


Dimensions
Starck
10416000 / 10418000
Starck X
10445000 / 10447000
Uno²
38425000 / 38427000
Citterio M
34425000 / 34425003 / 3442700
Citterio
39455000 / 39455003 / 39457000
Flow diagram
① Shower outlet
② Tub outlet
Starck 10416000 / 10418000
Starck X 10445000 / 10447000
Uno² 38425000 / 38427000
Citterio 39455000 / 39455003 / 39457000
Citterio M 34425000 / 34425003 / 3442700
Operation
- open

- close

- hot

- cold

- open

- close

Maintenance
10418000 / 10447000 / 34427000 / 38427000 / 39457000: The safety device must be checked regularly according to DIN EN 1717 in accordance with national or regional regulations (at least once a year).






Spare parts




Test certificate
| DVGW | P-IX | SVGW | ACS | WRAS | KIWA | ETA | |
| 10416000 | PA-IX 9709/ICC | X | X | X | X | ||
| 10418000 | BN0685 | PA-IX 18097/IDC | X | X | |||
| 10445000 | PA-IX 9709/ICC | X | X | X | X | ||
| 10447000 | BN0685 | PA-IX 18097/IDC | X | X | |||
| 34425000 | PA-IX 9709/ICC | X | |||||
| 34427000 | BN0685 | PA-IX 18097/IDC | X | ||||
| 38425000 | PA-IX 9709/ICC | X | X | X | X | X | |
| 38427000 | BN0685 | PA-IX 18097/IDC | X | X | X | ||
| 39455000 | PA-IX 9709/ICC | X | X | X | X | ||
| 39457000 | BN0685 | PA-IX 18097/IDC | X | X |
10416000 / 10445000 / 34425000 / 38425000 / 39455000
10418000 / 10447000 / 34427000 / 38427000 / 39457000
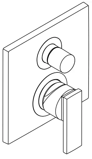
Other Models
Starck
10416000
10418000
Starck X
10445000
10447000
Citterio M
34425000
34425003
34427000
Uno²
38425000
38427000
Citterio
39455000
39455003
39457000
Customer Service
Hansgrohe · Postfach 1145 · D-77761 Schiltach ·
Telefon +49 (0) 78 36/51-1282 ·
Telefax +49 (0) 7836/511440
E-Mail: [email protected] · Internet: www.hansgrohe.com




















