EMTEK IN4-DOORPULL8 8 Inches Door Pull with Push Plate

Exploded view
Plate & Handle style will vary with model
INSTALLATION INSTRUCTION
- Install Insert Screws
- Use flat head screwdriver to install 3/8-16” threaded inserts (provided) flush to handle
Note: Threaded insert pairs are provided with 8-32 & 1/4-20 internal threads to be used with correspoding screw size.
- Use flat head screwdriver to install 3/8-16” threaded inserts (provided) flush to handle
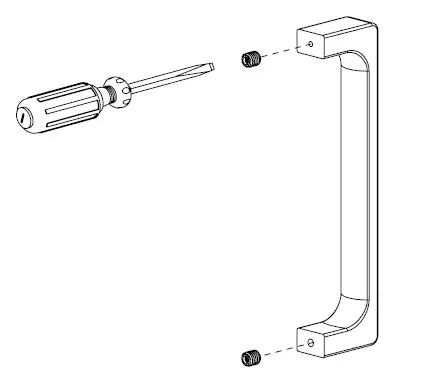
- Install Thru Bolts
- Use #2 Phillips screw driver to fasten plate to handle using #8-32 or 1/4-20 machine screws (provided).

- Use #2 Phillips screw driver to fasten plate to handle using #8-32 or 1/4-20 machine screws (provided).
- Install Pull on door
- Position Door Pull on door and secure with wood screws (provided).

- Position Door Pull on door and secure with wood screws (provided).
IN4-DOORPULL8 REV. 1 11-18-21






















