KICHLER 82393 Lecelles 1 Light Classic Bronze Globe Pendant Light

Product Information
- Product Name: Lecelles Pendant
- Model Numbers: 82393, 82394
- Item Numbers: 1007486166, 319960658, 319961125
- Manufacturer: Kichler
Package Contents
- Canopy (1)
- Mounting Bracket (1)
- Threaded Nipple (1)
- Hex Nut (3)
- Socket (1)
- Chain (1)
- Threaded Pipe (1)
- Screw Collar Ring (1)
- Threaded Loop (1)
- Coupling (1)
- Screw Collar Loop (1)
- Glass Shade (1)
- Socket Ring (1)
Hardware Contents
- Wire Connector (Qty: 3)
- Short Machine Screw (Qty: 2)
Usage Instructions
Safety Information
Please read and understand the entire manual before attempting to assemble, operate, or install the product. The product contains chemicals known to the State of California to cause cancer, birth defects, or other reproductive harm. For more information, go to http://www.P65Warnings.ca.gov. Do not attempt to assemble the product if any part is missing or damaged. Do not use any parts that are worn out or broken, as it could invalidate ETL listing and/or C.S.A. certification of this fixture.
Preparation
Before beginning assembly of the product, ensure that all parts are present. Compare the parts with the package contents list and hardware contents list. If any part is missing or damaged, do not attempt to assemble the product. The estimated assembly time is 30 minutes to 1 hour, and the tools required for assembly (not included) are Phillips screwdriver, flathead screwdriver, wire strippers, electrical tape, ladder, safety glasses, and pliers (2).
Assembly Instructions
- Screw the threaded pipe (G) into the coupling (K). Note that thread locking compound must be applied to all stem threads as noted with () symbol to prevent accidental rotation of fixture during cleaning, relamping, etc. The electrical cable will need to get pulled through the individual parts as they are installed on this and later steps.
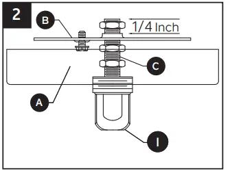
- Position the threaded nipple (C) in the mounting bracket (B) so that when mounted, the canopy is only needed to determine the position of the threaded nipple and fixture loop. It will be installed later.
- Once the proper position of the threaded nipple (C) and mounting bracket (B) has been determined, secure them with hex nuts (D).
- Connect the mounting bracket (B) to the outlet box (not
included) with short machine screws (BB). - To open chain links, locate the split in the chain link (F) you’re removing. Put one pair of pliers (not included) on each side of the split and rotate the pliers in opposite directions to open the link’s split. The open link should be shaped like the letter C. Do not twist the ends of the link sideways so that the open link cannot lay flat.
- Thread the chain (F) through the screw collar ring (H) and canopy (A). Using the open chain links on chain (F), attach one end to screw collar loop (I) and the other end to threaded loop (J). Weave the fixture electrical and ground wires through every other chain link and pass through threaded nipple (C) into outlet box. Lower the screw collar ring (H) and canopy (A) over the chain (F).
PACKAGE CONTENTS

| PART | DESCRIPTION | QTY |
| A | Canopy | 1 |
| B | Mounting Bracket | 1 |
| C | Threaded Nipple | 1 |
| D | Hex Nut | 3 |
| E | Socket | 1 |
| F | Chain | 1 |
| PART | DESCRIPTION | QTY |
| G | Threaded Pipe | 1 |
| H | Screw Collar Ring | 1 |
| I | Screw Collar Loop | 1 |
| J | Threaded Loop | 1 |
| K | Coupling | 1 |
| L | Glass Shade | 1 |
| M | Socket Ring | 1 |
HARDWARE CONTENTS

SAFETY INFORMATION
Please read and understand this entire manual before attempting to assemble, operate or install the product.
WARNING
• CAUTION – RISK OF SHOCK –
Disconnect Power at the main circuit breaker panel or main fusebox before starting and during the installation.
WARNING:
This fixture is intended for installation in accordance with the National Electrical Code (NEC) and all local code specifications. If you are not familiar with code requirements, installation by a certified electrician is recommended.
Do not use bulbs with wattage greater than specified on this fixture.
California Proposition 65
WARNING: This product can expose you to chemicals including lead, which is known to the State of California to cause cancer, birth defects, or other reproductive harm.
For more information, go to http://www.P65Warnings.ca.gov
CAUTION
• If you have any doubts about how to install this lighting fixture, or if the fixture fails to operate completely, please contact a licensed electrical contractor.
• All parts must be used as indicated in these instructions. Do not substitute any parts, leave parts out, or use any parts that are worn out or broken. Failure to obey this instruction could invalidate ETL listing and/or C.S.A. certification of this fixture.
PREPARATION
Before beginning assembly of product, make sure all parts are present. Compare parts with package contents list and hardware contents list. If any part is missing or damaged, do not attempt to assemble the product.
Estimated assembly time: 30 minutes to 1 hour
Tools Required for Assembly (not included): Phillips screwdriver, flathead screwdriver, wire strippers, electrical tape, ladder, safety glasses, pliers (2).

ASSEMBLY INSTRUCTIONS
- Screw threaded pipe (G) into coupling (K).
NOTE: Thread locking compound must be applied to all stem threads as noted with () symbol to prevent accidental rotation of fixture during cleaning, relamping, etc.
NOTE: The electrical cable will need to get pulled through the individual parts as they are installed on this and later steps.
- Position threaded nipple (C) in mounting bracket (B) so that, when mounted:
- The threaded nipple (C) will protrude a minimum of 1/4 inch beyond the raised center portion of the bracket (B).
- The threaded nipple (C) height should be positioned so that 1/2 the exterior threads of the screw collar loop (I) will extend past the canopy (A), when it is mounted.
NOTE: Canopy is only needed to determine the position of the threaded nipple and fixture loop. It will be installed later.
- Once the proper position of the threaded nipple (C) and mounting bracket (B) has been determined, secure with hex nuts (D) as follows:
- Screw one hex nut (D) onto the threaded nipple (C) and tighten against the raised portion of the mounting bracket (B).
- Screw another hex nut (D) onto the threaded nipple (C) and tighten against the flat portion of the mounting bracket (B).
- Screw the remaining hex nut (D) onto threaded nipple (C) and tighten against the screw collar loop (I).

- Connect mounting bracket (B) to the outlet box (not included) with short machine screws (BB).

Hardware Used

- To open chain links:
Locate the split in the chain link (F) you’re removing. Put one pair of pliers (not included) on each side of the split and rotate the pliers in opposite directions to open the link’s split. The open link should be shaped like the letter “C”.
5b. Do not twist the ends of the link sideways so that the open link cannot lay flat.
- Thread chain (F) through screw collar ring (H) and canopy (A). Using the open chain links on chain (F), attach one end to screw collar loop (I) and the other end to threaded loop (J). Weave the fixture electrical and ground wires through every other chain link and pass through threaded nipple (C) into outlet box. Lower the screw collar ring (H) and canopy (A) over the chain (F).
NOTE: Add or remove chain links once desired length is established. Trim extra cabling leaving six inches of extra wire protruding from the screw collar loop and threaded nipple.
CAUTION: To avoid damage from falling, make sure the open chain links are fully closed once assembled.
- Wire connection guide:
Ground wire:
• For installation in the United States: Wrap ground wire from outlet box around ground screw on mounting bracket (B) no less than 2 in. from wire end. Tighten ground screw. If fixture is supplied with a ground wire, connect to outlet ground wire with a wire connector (AA).
• For installation in Canada: If fixture is supplied with ground wire, wrap ground wire around ground screw on mounting bracket (B). Tighten ground screw. Connect fixture ground wire to outlet ground wire with a wire connector (AA).
Supply wires:
• Connect the Neutral (White) supply wire from the outlet box to the Neutral fixture wire (White or Parallel Cord “D” shaped and ribbed).
• Connect the Hot (Black) supply wire from the outlet box to the Hot fixture wire (Black or Parallel Cord round and smooth).
NOTE:
Fixture wires will either be:
• Black and White.
• Parallel Cord SPT-1 lamp wire with one round smooth wire and one “D” shaped ribbed wire.
Hardware Used

- Pass canopy (A) over the screw collar loop (I). Attach screw collar ring (H) to screw collar loop (I) to secure canopy (A).

- Pass glass shade (L) over socket (E). While holding glass shade (L) in place, secure it with socket ring (M).

- Insert 60-watt max. medium-base bulb or LED equivalent (none included) into socket (E).

CARE AND MAINTENANCE
- Always be certain that electric current is turned off before cleaning this item.
- Use a soft, moist cloth with mild non-abrasive soap to clean fixture. Never use glass cleaner on fixture, as it will damage the metal finish.
- All glass shades may be washed in a towel-lined sink with warm water and mild soap. Do not wash shades in an automatic dishwasher.
TROUBLESHOOTING
| PROBLEM | POSSIBLE CAUSE | CORRECTIVE ACTION |
| Fixture does not light. | 1. Fixture may be wired incorrectly. 2. Worn or broken bulb. | 1. Check wiring. 2. Replace bulb. |
Questions, problems, missing parts? Before returning to your retailer, call our customer service department at 1-800-554-6504, 8 a.m. – 4:30 p.m., EST, Monday – Friday.
kichler.com/customer-care/contact-us

























