Jayden Creation OCJH0409-GREY-A+B Rethel 5 Piece Rattan 2 Person Seating Group

Part list


Assembly Instructions
- Step 1, Connect part Al and part Bl. Insert the metal dowel in part Al into the hole in part BI, THEN TURN DOWN CLOCKWISE TO THEEND as the picture show.

- Step 2, turn the part side down, align the hole in part BI to the hole in part Al, screw in screw #1 with washer #3, tighten by Allenkey #6 . Do not full tighten!

- Step 3, Connect part El to the finished part in step 2. Align the hole in part E to the hole in part Al and Bl, screw in screw #1 with washer #3, tighten by Allenkey #6. Do not full tighten!

- STEP 4. Connect part DI to the finished part in step 3. Align the hole in part Dl to he hole in part E and Bl , screw in screw #1 with washer #3 , tighten by Allenkey #6 . Do not full tighten!

- STEP 5, Connect part Fl to the finished part in step 4. Align the hole in part Fl to the hole in part Al , E and Dl , screw in screw #1 with washer #3 , tighten by Allenkey #6. Do not full tighten!

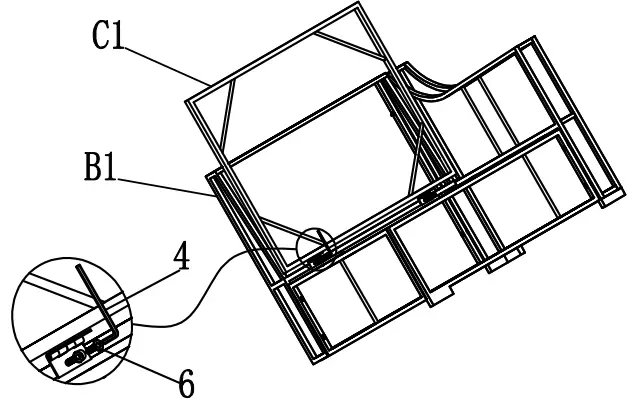
- STEP 6, Connect part CI to the finished part in step 5. Align the hole of hinge in part Cl to the hole in part Bl, screw in screw# 4, tighten by Allenkey #6 . Do not full tighten!

- Step 7, assemble the hinge .

Find the metal hinge in part DI, pull up and connect to the part Cl, align the hole in metal and the hole in part CI, screw in screw #2 with washer #3 and part #5, tighten by Allenkey #6. then put down the part Cl as the picture show . After check all parts and screws in right position, full tighten the all screws in sequence .
- Step 8, put the seat cushion N and back cushion P. your right side chair assemble finished .

- STEP 9, Assembly completed.

Repeat the same way to finish your left side chair assemble.
Step I


Step 1, Assemble side table.
- Attach the part Hand J to part G . align the hole in part Hand J to the hole in the part G, screw in screw#l with washer#3, tighten by Allenkey#6. Do not full tighten!

- Then assemble the part Kand L to the finished part in above. Align the hole in part L and K to the hole in the part HAND J, screw in screw#l with washer#3, tighten by Allenkey#6. Do not full tighten!

- Step 2, attach the part M to the finished part in step 1. Find the hinge in part L, turn them out . Align the hole in the hinge to the hole in part M, screw in screw#4 and tighten by Allenkey#6.

- Step 4, Assembly completed





















