
Rattan End Side Table
Instruction Manual

H0052

SAFETY PRECAUTION
PLEASE READ ALL INSTRUCTIONS CAREFULLY BEFORE ASSEMBLING AND USING THE PRODUCT.
- Please check that all parts are present, need a Phillips head screwdriver (not included) before you start the assembly of your furniture.
- For ease and speed of assembly, we recommend that before you commence each step of the assembly, you identify all the parts required for that step.
- For larger items, please ensure that you have sufficient space and people to assemble your product safely.
- We recommend that, where possible, all items are assembled near the area in which they will be placed in use, to avoid moving the product unnecessarily once assembled.
- For the protection of your furniture, we recommend that the product is placed on a protected surface during assembly to prevent any damage.
- During assembly, Do not tighten bolts/screws completely until all bolts/screws are lined up and inserted into holes, Do not over-tighten screws and bolts to avoid stripping, and Do not use power tools
- Always place the product on a flat, steady and stable surface.
- Do not stand on the product. Do not use the product as a stepladder.
- This product is intended for indoor, and household use only as it is a nonindustrial product.
CARE AND CLEANING
- Please periodically check all fittings and re-tighten as necessary.
- To clean your item, please use a damp cloth and wipe clean.
- Never allow any kind of liquid to remain on your furniture. If liquid spills onto the product, please wipe it clean as soon as possible.
WARNING: ENSURE THE WALL STRAP IS ATTACHED TO AVOID SERIOUS INJURY.
To avoid any serious or fatal injury, this product has been fitted with a wall strap to prevent toppling. We strongly recommend that this product is permanently fixed to the wall or other suitable surface. Fixing devices are not included since different surface materials require different attachments. Please seek professional advice if you are in doubt of what fixing device to use.
Do not stand on the product. Do not climb on the product. Do not swing on the product.
READ AND SAVE THESE INSTRUCTIONS FOR FUTURE REFERENCE
HARDWARE LIST

PARTS LIST

AFTER-SALES SUPPORT
If you have any general inquiries or require spare parts for this product, please feel free to contact us via the following email:
Email: [email protected]
You can contact us for support at any time. We’ll answer you in 24hrs.
TIPS Before ASSEMBLY
IMPORTANT:
- Do not tighten bolts/screws completely until all bolts/screws are lined up and inserted into holes.
- Do not over-tighten screws and bolts to avoid stripping.
What you need
- Some of your favorite fruits or your snacks.
- preferred to Use the packaging carton as a working surface to prevent possible product damage during assembly.
Safety First, Fun Later
We want your Furniture Unit to last as long as possible, so we recommend that you tighten the screws 2 weeks after assembly, and for added safety, check the tightness of all screws every 2 months. We do our best to ensure your Furniture arrives without problems, but occasionally mistakes happen – as any imperfect being. In the event that part humans we are we will be more than happy to is damaged or missing, provide you with replacement part(s) for free. For more help, you can send a message to our customer support email [email protected] in any time.
Ready? Ok, let’s get rolling!
This should be very easy, just follow our simple instructions step by step and you will put it together in no time.
ASSEMBLY STEPS
STEP 1.
Fix outer drawer runners (i) to parts 6 using screws (d), as shown.
using screws (d), as shown.

STEP 2.
Fit wooden dowels (k) to parts 6 and 7.
Fix parts 6 and 7 to part 8 using screws (h), as shown.

STEP 3.
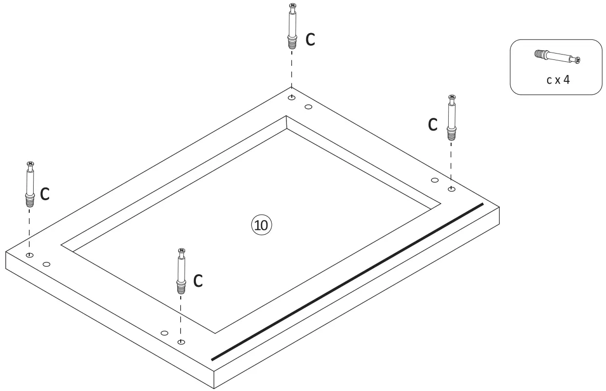
Fix Quickfit screw c to part 10. The strap should be move to step 9.
STEP 4.
Slide part 9 into grooves of parts 6 and 7, as shown.

STEP 5.
Insert quick fit screws (c) and wooden insert wooden dowels k and cam locks b to part 6 and 7.
Fix parts 6 and 7 to part 10, as shown.
Turn the cam locks clockwise to tighten.
STEP 6.
Fix parts 12 to parts 11 using bolts (I) and alien key (m), as shown.

STEP 6.
Secure parts 11 and parts 12 assembled unit
using screws (a), as shown.

STEP 8.
Fix stap q to part 10 with screws.
STEP 9 .
Fix parts 1 and 3 to part 2 using screws (a), as shown.
Slide part 4 into grooves of parts 1, 2, and 3, as shown.

STEP 10.
Insert quickfit screws (c) to part 5. Insert cam locks (b) to parts 1 and 3. Fit part 5 to parts 1 and 3. Turn cam locks clockwise to tighten.
STEP 11.
Fix drawer handle (e) to part 5 using screws (d), as shown.

STEP 1 2.
Fix outer drawer runners (f) and (g) to parts 1 and 3 using screws (d), as shown.

STEP 1 3.
Slide drawers into the assembled unit, as shown.
Attach your bedside table to the wall by wall plug (p), wall strap (q) and fixing screws (r), as shown.
If unsure seek advice from a qualified tradesperson on how to attach the wall fixtures to your specific wall.
WALL FIXING GUIDE
NOTE: Supplied wall plugs are only suitable for use in masonry walls.
If you have any doubts about using the correct plug for your wall, please seek professional advice. Failure of the product due to using incorrect fixings is the responsibility
of the installer.
IMPORTANT:![]()
When drilling into walls, always check for hidden wires or pipes, etc.
Tips & Tricks
Make sure that the hardware used is suitable for supporting your unit.
P lease consult a qualified trades person if unsure.
- If you are unsure, please select a larger screw and wall plug.
- Ensure that you use the recommended drill bit to match the wall plug and hole size.
- Take extra care when drilling high walls, ceiling and ceramic tiles. Ensure wall plugs are inserted beyond the thickness of the ceramic tiles to avoid splitting or cracking.
- Ensure that wall plugs are w ell fit ted and ar e a tight fit in the dril led hol e.
Types of Walls
Use one of the following types of wall plug (not included) if your walls are made of brick, breeze block, concrete, stone or wood. Screws may be able to be fixed directly to solid wood walls as they will provide a secure anchor point.
![]() | ||
| 1. General Purpose Wall Plug Generally, aerated blocks should not be used to support heavy loads, use a specialist fitting in this case. For light loads, general purpose wall plugs can be used. | 2. Plasterboard Wall Plug For use when attaching light loads onto plasterboard partitions. | 3. Cavity Fixing Wall Plug For use with plasterboard partitions or hollow wooden doors. |
![]() | ||
| 4. Cavity Fixing Heavy Duty Wall Plug For use when fitting or supporting heavy loads such as shelving and wall cabinets. | 5. Hammer Fixing Wall Plug For use with concrete block or brick walls, or walls stuck with plasterboard. The hammer fixing allows it to be fixed to the wall rather than the plasterboard. Always check the fixing is secure to the retaining wall. | 6. Shield Anchor Wall Plug Heavy Loads For use with concrete or brick walls, or for use with heavier loads such as TV & HiFi speakers and satellite dishes, etc. |
Contact Us : [email protected]





















