
Thank you for selecting Globe as your smart home solution. With proper care, this product will provide years of pleasure and enjoyment.
SMART PENDANT LIGHT
Check out product videos on our YouTube channel, and on the Globe Smart Home – Amazon Certified for Humans playlist!*
SAVE THESE INSTRUCTIONS
Most electrical accidents are caused by carelessness or ignorance. If you combine a basic knowledge of electricity, a healthy respect for it, and a dose of common sense, you can safely tackle many household electrical repairs. Here are some basic guidelines for working with electricity:
- Before working on a circuit, go to the main service panel and remove the fuse or trip the breaker that controls that circuit. Tape a sign to the panel warning others to leave the circuit alone while you work.
- Before touching any wire, use a voltage tester to make sure it’s not live. Whenever you check for voltage in a receptacle, check both outlets—each may be controlled by a separate wiring circuit.
- To protect children, place safety covers over any unused outlets.
- Always work with enough light to see what you are doing; it’s easy to make mistakes when you’re working in dim light.
Before assembling your lighting fixture, TURN OFF THE POWER and consult a qualified licensed electrician.
– IC-rated for direct contact with insulation
– Energy Star – Wet-rated
-Airtight per ASTM-E283-04
– CAN ICES-005 (B)
LIMITED WARRANTY: This smart pendant light is warranted to last 3 years from the date of purchase based on the use of 3 hours per day. If it fails before that time, we will replace it. Send the pendant light, proof of purchase, and register receipt along with your complete name and address to Globe Electric. See caution text for proper use. This warranty is void if this product is misused in any way. This replacement is the sole remedy available and liability for incidental or consequential damage is expressly excluded. This device is not intended for use with emergency exit fixtures or emergency exit lights, photocells, and electronic timers. This device complies with Part 15 of the FCC rules. Operation is subject to the following two conditions:
- this device may not cause harmful interference, and
- this device must accept any interference received, including interference that may cause undesired operation. Changes or modifications made to this product are not expressly approved by the party responsible and could void the user’s warranty of the equipment.
NOTE: This equipment has been tested and found to comply with the limits for a Class B digital device, pursuant to Part 15 of the FCC Rules. These limits are designed to provide reasonable protection against harmful interference in a residential installation. This equipment generates, uses, and can radiate radio frequency energy and, if not installed and used in accordance with the instructions, may cause harmful interference to radio communications. However, there is no guarantee that interference will not occur in a particular installation. If this equipment does cause harmful interference to radio or television reception, which can be determined by turning the equipment off and on, the user is encouraged to try to correct the interference by one or more of the following measures: Reorient or relocate the receiving antenna. Increase the distance between the equipment and receiver. Connect the equipment to an outlet on a circuit different from that to which the receiver is connected. Consult the dealer or an experienced radio/TV technician for help.
RF EXPOSURE
The equipment complies with FCC radiation exposure limits set forth for an uncontrolled environment. This device should be installed and operated with a minimum distance of 20cm between the radiator & your body.
USER MANUAL NOTICE FOR LICENSE-EXEMPT RADIO APPARATUS
This device complies with Industry Canada license-exempt R55 standard(s). Operation is subject to the following two conditions: (1) this device may not cause interference, and (2) this device must accept any interference, including interference that may cause undesired operation of the device. CAN ICES-005 (B).
RADIATION EXPOSURE STATEMENT:
This equipment complies with IC radiation exposure limits set forth for an uncontrolled environment. This equipment should be installed and operated with a minimum distance of 20cm between the radiator & your body.
WARNING:
Changes or modifications to this unit not expressly approved by the party responsible for compliance could void the user’s authority to operate the equipment. NOTE: This equipment has been tested and found to comply with the limits for a Class B digital device, pursuant to Part 15 of the FCC Rules. These limits are designed to provide reasonable protection against harmful interference in a residential installation.
PARTIE RESPONSABLE DE LA FCC
Globe Electrique
2264 East 6th Street
San Bernardino, CA 92410
www.globe-electric.com
FEATURES
- LED integrated – dimmable through the app
- PCB: Choose from a full spectrum of colors
- Tunable white (2000 K – 5000 K): Choose from a focused bright white to a relaxed sunset glow
- Manually or remotely control your light with the Amazon Alexa app
- Pair with Amazon Echo to control your light through voice commands
- Set schedules and control your light from anywhere
SPECIFICATIONS
| 2000 lumens (at 5000 K) | 9 watt |
| Lasts 50,000 hours | CPI 90 |
| 120 V • 60 Hz | IC-rated |
| Indoor only | Minimum starting temperature: -18°C (0. F) |

Since 1932, Globe has taken pride in offering products of the highest quality, and a level of service unparalleled in the industry.
Should you encounter any difficulties, have any questions or simply wish to offer us your valuable feedback, you may contact us in the following ways:
Toll-Free Telephone:1-888-543-1388 (North America Only) /Toll-Free Fax:1-800-668-4562 (North America Only)
E-Mail: [email protected]
Mail: Globe Electric Customer Service Department
150 Oneida, Montreal, Quebec, Canada H9R 1A8
Please visit our website to discover other quality Globe products: http://www.globe-electric.com
PRE-INSTALLATION
Planning Installation
Compare all parts with the “Hardware Included” section. If any part appears missing or damaged, do not install this product and contact the Customer Service team at 1-888-543-1388 or e-mail [email protected].
Tools Required
Phillips head screwdriver
Hardware Included
NOTE: Hardware is not shown to actual size.
| Item | Quantity |
| LED light + wires + canopy | 1 |
| wire connector | 3 |
| outlet box screw | 2 |
| mounting plate | 1 |
| mounting screw | 2 |

INSTALLATION
Improper wiring of any electrical device can cause fire, serious injury, or death. Always consult a qualified licensed electrician who will ensure the switch is installed in accordance with local electrical codes and regulations. Before starting the installation, ensure the power is disconnected at the circuit breaker and test the existing switch with a voltage tester.
Caution
- Make sure that the power at the circuit breaker is off before wiring.

- A neutral wire is required. Confirm the wall box contains a neutral wire (typically white).
- The wire colors indicated in this manual are the common colors and may differ in some homes. Please contact an electrician if you have different wire colors.
- Ensure the wire conductors are securely fastened to each wire.
- DO NOT USE WITH A STANDARD DIMMER.
Step 1
Turn power OFF from the electrical panel prior to installation.
Step 2
Screw the mounting screws through the mounting plate into the existing J-box (Fig.1).
Step 3
uses the wire connectors to connect the wires, and insert the connected wires into the J-box (Fig. 2).
Step 4
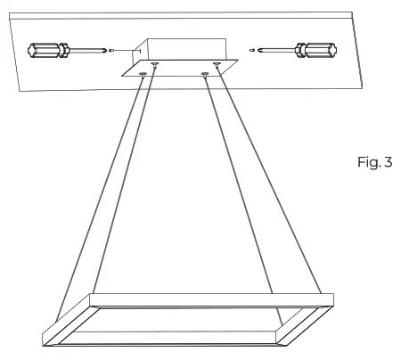
Align the mounting plate with the mounting bracket and screw in the screws (Fig. 3)
Step 5
Check whether the chandelier is installed properly in place and that there is no gap between the chandelier and the ceiling (Fig. 4).
Step 6
Press the ring to adjust the length of the hanging wire (Fig. 5)
CONNECTING INSTRUCTIONS
- Download the Amazon Alexa app.

- Power on your device. Ensure your device has been installed correctly by following the instructions in the “Installation” section,
- Scan barcode
• Launch the Amazon Alexa app.
• Select “Add a Device”.
• Select “Light’, locate Globe Electric and follow the in-app instructions on how to scan the 2D barcode.
Please note: The device is automatically in pairing for 5 minutes once powered on. When you scan the barcode, the white light will flash indicating the pairing is successful. If within S minutes, it does not connect, turn the device OFF and ON again to re-enter pairing mode.
Please keep these instructions in a safe place. This is the only duplicate of the unique QR code for your product. You may need it to reconnect the product to your account or transfer it to another account.
Don’t have a barcode?
Select “Don’t have a barcode?” in the Alexa app and follow the in-app instructions on how to connect without a 2D barcode.
How to factory reset device
If you are struggling to set up your device, or if the device was already connected to a network, perform a factory reset by following the instructions below:
- Turn the device ON for 10 seconds by connecting the power adapter.
- Turn the device OFF and ON 5x by disconnecting and re-connecting the power adapter. The light will flash RED and then the light will change to WHITE. When the light changes to WHITE, this means the factory reset mode was successful.
- Scan the inner barcode (located in the instruction manual) and connect within 5 minutes If you fail to connect within the 5-minute time frame, turn the device OFF and ON again once to re-enter pairing mode.
The light will flash WHITE to indicate that the pairing was successful.
FUNCTIONALITY
Voice control with Alexa
- OrtiOff
- Dimming
- Shades of white
- Colors
- Moods
Using the Amazon Alexa app on a mobile device With the Amazon Alexa app, you can easily manage your home setup and directly control your Globe Electric lights.
- On/Off
- Dimming
- Shades of white
- Colors
- Out-of-home control
- Add your lights to Alexa Routines
- Add your lights to Alexa Guard
*Check out product videos on our YouTube channel, and on the Globe Smart Home – Amazon Certified for Humans playlist!
















