Uolfin 7NQ32I-LWS23968-L7 Contemporary Clear Glass Globe Mini Pendant Light

WARNING (To reduce the risk of fire, electric shock, or personal injury):
- We suggest installation by a licensed electrician.
- Please read the instruction carefully and save it as you may need it at a later time.
- Before you start, NEVER attempt any work without shutting off the electricity until the work is done.
A) Go to the main fuse, or circuit breaker, box in your home. Place the main power switch in the “OFF” position. B) Place the wall switch in the “OFF” position. - Mounting surface should be clean, dry, flat, strong enough and 1/4” larger than the canopy on all side. Any gaps between the mounting surface and canopy exceeding 3/16” should be corrected as required.
- Make sure that the ceiling or wall can stand the weight of the lamp before installation.
- Make sure the voltage you are using is 120V. The maximum wattage is Type B,Max 40W per bulb.
- Keep the lamp away from acidic and alkaline substances in case of damaging the surface of the lamp.
- When replacing bulb, you should turn off or unplug the lamp and you must wait until it is cool as bulbs get hot quickly.
- The safety instructions appearing in this manual are not meant to cover all possible conditions that may occur. It must be understood that common sense, caution and care must be used with any electrical products.
IMAGE FOR FINISHED PRODUCT

TOOLS REQUIRED (NOT INCLUDED)
Before starting assembly and installation please prepare the needed tools as below picture

PARTS TYPE & QTY INCLUDING

- (C) Mounting plate (1)
- (D) Green ground screw (1)
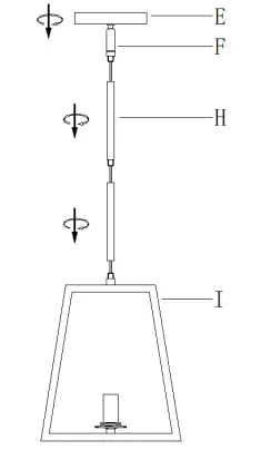
- (E) Canopy (1)
- (F) Swivel joint (1)
- (G) Knob ball (2)
- (H) Tube
- (I) Iron frame (1)
- (J) Glass (1)
- (K) Threaded ring (1)
ACCESSORIES & QTY ENCLOSED:
- (A) Plastic wire connector (3)
- (B) Mounting screw (2).
ASSEMBLY & INSTALLATION INSTRUCTIONS
- Carefully remove the fixture from the carton and check that all parts and accessories are included as shown in
the above illustration. - Turn off power
Before you start the installation, NEVER attempt any work without shutting off the
electricity until the work is done.- Go to the main fuse, or circuit breaker, box in your home. Place the main power switch in
the “OFF” position. - Place the wall switch in the“OFF” position.
- Go to the main fuse, or circuit breaker, box in your home. Place the main power switch in
- Unscrew the knob ball (G) from canopy (E) then remove the mounting plate (C).

- According to your desired hanging height to choose and use the tubes (H).

Then pass the fixture wires through the tubes (H), the swivel joint (F) andthe canopy (E).- Thread the chosen tubes (H), the canopy (E) and swivel joint (F) together till snug.
- Attach the mounting plate (C) to outlet box with the mounting screws (B)

- Make wire connections
Connect wires as below wires connecting shown. PLEASE NOTE THAT GROUND WIRE IS BARE COPPER WIRE, NEVER CONNECT OTHER WIRES TO GROUND WIRES.
Connect ground wires according to the below chart
Connect wires according to the below chart
Twist wires together with plastic wire connector (A) until tightly joined, be sure that no wire strands are exposed and then carefully tuck all wires into the outlet box. - Raise canopy (E) to ceiling and secure canopy (E) in place by tightening knob balls (G) onto the pre-assembled screws in the mounting plate (C).

- Install bulb (Not included) (Please do not exceed the maximum wattage recommended on the socket.)

- Screw the glass (J) onto the threaded ring (K).
- Check everything is already installed properly, then you could turn on the light. Enjoy!
CLEANING
To clean, wipe the fixture with a soft cloth. Clean glass with a mild cleaner (such as mild soap). Do not use abrasive materials such as scouring pads or powders, steel wool or abrasive paper.
ORDERING PARTS
Keep this sheet for future reference in case you need to order replacement parts. All parts for this fixture can be ordered from the place of purchase. Be sure to use exact wording from illustration when ordering parts.
+1 850 296 2377 Working hours: Mon – Fri 9:00 a.m. – 16:00 p.m. EST [email protected]























