KT-128 High-Quality Thermal Imager
User Manual
v1.00 22.07.2021
SONEL S.A.
Wokulskiego 11
58-100 Świdnica, Poland
Version 1.00 22.07.2021
Thank you for purchasing our thermal camera. KT camera is a modern, easy and safe measuring device. Please acquaint yourself with the present manual in order to avoid measuring errors and prevent possible problems related to the operation of the camera.
All products of Sonel S.A. are manufactured in accordance with Quality Management System which is approved by ISO9001:2008 for the design, manufacturing, and servicing.
Due to the continuous development of our products, we reserve the right to introduce changes and improvements in the thermal imaging camera and in the software described in this manual without prior notice. Illustrations presented in this manual may slightly differ from the real product.
Copyrights
© Sonel S.A. 2021. All rights reserved.
Safety
Before you proceed to operate the camera, acquaint yourself thoroughly with the present manual and observe the safety regulations and specifications defined by the producer.
- Any application that differs from those specified in this manual may result in damage to the device and constitute a source of danger for the user.
- The camera must not be used in rooms where special conditions are present e.g. fire and explosion risk.
- It is forbidden to use a damaged or malfunctioning camera.
- Do not use any other adapter than the one supplied with the camera.
- Repairs may be performed only by an authorized service point.
KT-128 thermal camera is designed to measure and record the images in the infrared. It is designed to provide the user with maximum performance and safety during work. However, the following guidelines and recommendations must be observed at all times (in addition to all binding precautions applicable at individual work stands and work areas):
- Keep the camera steady when performing the measurements.
- Do not use the camera in temperatures exceeding its working and storage temperature ranges.
- Do not direct the camera toward very high-intensity radiation sources such as the sun, lasers or welding arcs, etc.
- Do not expose the camera to dust and moisture. When operating the device near water, ensure that it is adequately guarded against splashes.
- When the camera is not in use or is to be transported, ensure that the unit and its accessories are stored in the protective carry case.
- Do not re-switch on the camera until 15 seconds later after switching it off.
- Do not throw, knock or shake intensely the camera and its components in order to avoid the damage.
- Do not attempt to open the camera body, as this action will void the warranty.
- Use only the SD memory card supplied with the camera.
- During operation, if the camera is to be moved from a hot/cold place to a cold/hot place, e.g. from inside/outside to outside/inside of a room, switch off the camera and leave it in the new workplace for ca. 60 minutes. Only after that time, turn it on and start normal operation with an accurate temperature measurement. Sudden and rapid changes in ambient temperature may cause fault temperature measurement and even damage the camera’s IR detector.
- Calibration of the detector – during operation, the camera performs auto-calibration from time to time, which takes approx. 2 seconds.
Due to the continuous development of the instrument’s software, the actual appearance of the display may slightly differ from the display presented in this manual.- To maintain the required parameters of rechargeable batteries, unused rechargeable batteries should be changed every 3 months.
CAUTION!
- KT-128 thermal camera has no parts that could be repaired by the user. Never attempt to disassemble or modify the camera. Opening the device will void the warranty.
- Use only accessories listed in section 11. Using other accessories does not ensure proper operation of the camera and may cause damage.
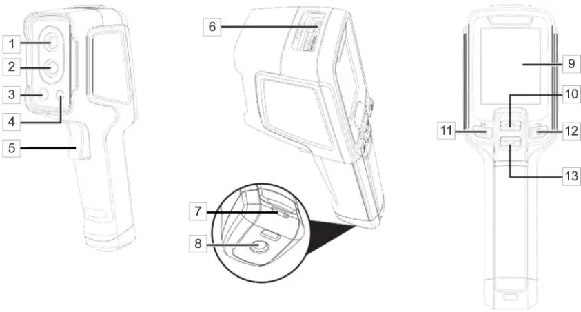
Functional description
The imager

| 1. Visual lens 2. IR lens 3. Laser pointer 4. LED flashlight 5. Trigger button 6. MicroUSB socket 7. Strap holder | 8. Tripod mount 9. LCD display 10. UP button 11. The MENU button 12. POWER button 13. DOWN button |
Display

After turning on the camera, the infrared image is displayed in real-time on the screen.
- The temperature of the object is displayed for the whole time (upper left corner).
- Depending on the settings made according to sec. 5, the screen may also display the central point or measurement area showing temperatures: maximum and minimum.
- If the laser pointer is activated, as described in sec. 5, an indicator will be displayed next to the battery symbol.
The following real-time image modes are available:
- IR – infrared image,
- VL – visual image from the camera,
- PIP – visual image with superimposed IR image, including the central point or measurement area.
The mode can be switched using
buttons. Confirm the selection by pressing The
button. Exit MENU by pressing The
button.
Quick start
Turning the camera ON/OFF
In order to switch the camera on, press and hold
the button for more than 3 sec. The camera will display the welcome logo and commence the start-up, including the self-check. After completing the self-check, the camera is ready to work and enters the mode of real-time display of the infrared images.
To switch OFF the camera press and hold
the button until the screen goes blank.
In order to obtain the correct indications, the camera must stabilize them. Stabilization may take ca. 10 minutes after the instrument is turned on.
Capturing and saving images
- In the real-time image mode, point the camera in the direction of the tested object.
- Press and hold the trigger 3 – the laser pointer will be activated to facilitate finding the target (if the laser is turned on – see. sec. 5).
- Release the trigger – the image is frozen.
- Select [√]
( button) to save the thermal image or [x] (
button) to cancel saving. - Then, the camera returns to real-time image mode.
Files – viewing, deleting
- Briefly press the
button to access the menu interface. - Using

buttons select Gallery and Review. A photo list will appear. - To display another photo press
. - In order to delete a photo, press briefly the
button, use the buttons to select [√], and confirm your selection with the
button.
Files – transfer to the computer
In order to transfer thermal images to a computer, connect the camera via a USB cable or install the camera memory card on the computer. The detected memory will show desired files.
Restoring factory settings
In order to restore the settings to the factory defaults, go to Menu ► Reset and press the
button to confirm the reset.
Formatting the SD card
In order to wipe the SD card, go to Menu ► Format SD and press the
button to confirm the for- matting.
Troubleshooting
| Problems | Causes | What to do |
| Boot failure. | Low battery. | Reuse the battery after charging. |
| The external power source plug is not inserted properly. | Pull the plug and reinsert it properly. | |
| IR image is not clear. | The lens is misted up or dirty. | Clean lens. |
| Imprecise temperature measurement | Emissivity and/or the distance from the object incorrectly set. | Change the parameters. |
| A long time without calibration. | Order the calibration of the camera from the manufacturer. |
Press
to enter the setting menu. Using buttons
highlights items. Enter them and change their value using
. Go back using
. The following items are available:
- Gallery – go to images list,
- Temp Range – display temperature measurement range,
- Emissivity – changing the emissivity of the tested object.
- Palette – Select the color palette.
- Center Point – turning on/off the central point on the screen.
- TempUnit – temperature unit: ºC or ºF.
- Refl Measure – measurement area.
- Alarm – temperature alarm: setting upper and lower threshold temperature. Use buttons
to set the temperatures. - Refl Measure – ambient temperature. Use buttons
to set the temperature. - Distance – the distance from the tested object. Use buttons
to set the distance. - auto shut – automatic shutdown: disabled or 1, 5, 10, 15 min.
- Screen Bright – low/medium/high screen brightness.
- Laser – laser pointer on/off.
- Date/time.
- Language.
- Reset – use buttons
to select a command. - Format SD – use buttons
to select command. - PIP transparent – transparency of superimposed IR image: 0%, 30%, 60%, 90%.
- Camera info.
Power supply, battery charging
The camera is powered by an internal rechargeable battery. It may be also powered using the AC adapter.
In order to charge a KT camera, just plug in the AC adapter to the camera MicroUSB socket when it is switched off.
Charging does not take place during the operation of the camera.
If the camera is to be inactive for a long time, it is recommended to recharge the rechargeable battery every 3 months.
- Store the half-charged battery pack in a dry, cool, and well-ventilated place and protect them from direct sunlight. The battery pack may be damaged if stored when fully discharged. The ambient temperature for prolonged storage should be maintained within the range of 5°C…25°C.
- Charge the batteries in a cool, well-ventilated place at a temperature of 10°C … 28°C. Modern fast chargers detect both too low and too high temperatures of rechargeable batteries and react to the situation adequately. When the temperature is too low, charging should be prevented as it may irreparably damage the batteries. The increase in temperature of the battery pack may cause electrolyte leakage and even ignition or explosion.
- Do not exceed the charging current, as it may result in ignition or “swelling” of the battery pack. “Swollen” battery pack must not be used.
- Do not charge or use the batteries in extreme temperatures. Extreme temperatures reduce the lifetime of rechargeable batteries. Always observe the rated operating temperature. Do not dispose of the battery pack into the fire.
- Li-Ion cells are sensitive to mechanical damage. This kind of damage may cause permanent damage and thus – ignition or explosion.
- Any interference in the structure of the Li-ion battery pack may cause damage. This may result in ignition or explosion.
- A short-circuit of the battery poles “+” and “-” may permanently damage the battery pack or even cause its fire or explosion.
- Do not immerse Li-Ion battery in liquids and do not store in humid conditions.
- If the electrolyte contained in the Lithium-Ion battery pack, contacts the eyes or skin, immediately rinse the affected place with plenty of water and consult a doctor. Protect the battery against unauthorized persons and children.
- When you notice any changes in the Lithium-Ion battery pack (e.g. changes in color, swelling, excessive temperature), stop using the battery pack. Li-Ion batteries that are mechanically damaged, overcharged, or excessively discharged are not suitable for use.
- Any misuse of the battery may cause permanent damage. This may result in ignition. The seller and the manufacturer shall not be liable for any damages resulting from improper handling LiIon battery pack.
Cleaning and maintenance
NOTE!
- Use the below-specified methods of maintenance only.
- The thermal imager does not comprise any parts serviceable by the user. Do not attempt to dismantle or modify the camera on your own. Opening the instrument voids the warranty.
- Camera enclosure – all surfaces, except for optical elements of the camera, can be cleaned with a soft and moist cloth with generally available mild detergents. Do not use any solvents or cleaning agents that could scratch the enclosure (powder, paste, etc.). During cleaning, the camera must be turned off.
- Due to the applied anti-reflective coating, optical lenses are the most sensitive and at the same time the most expensive part of the camera (the lens is of key importance to the radiometric capabilities of the infrared system). Optical surfaces should be cleaned only when they are visibly fouled. Do not touch exposed surfaces of optical lens with fingers, because fouling left with fingerprints can be harmful to coatings and glass of the lens.
- Chemical agents must not be used for cleaning the optics and accessories of the camera. Use a clean, dry and soft cloth.
Storing
When storing the instrument, observe the following guidelines:
- make sure the camera and its accessories are dry,
- allowed are storage temperatures specified in technical specifications,
- in order to avoid complete discharging of rechargeable batteries during prolonged storage, charge them once in a while (recommended time: 3 months).
Dismantling and disposal
- Used-up electrical or electronic equipment must be collected selectively, i.e. must not be mixed with the waste of other types.
- Used-up electronic equipment must be delivered to an appropriate collection center in accordance with regulations related to used-up electrical or electronic equipment.
- Before delivering the equipment to the collection center do not attempt to dismantle any of its parts.
- Follow local regulations related to disposing of packaging, used-up batteries, and rechargeable batteries.
Specifications
| Camera | |
| Detector resolution | 120 x 90 / 17 pm |
| Spectral range | 7.5-14 pm |
| Frame rate | 25 Hz |
| Thermal sensitivity | 60 mK |
| Focus | Fixed |
| IFOV | 7.6 mrad |
| Lens (field of view/focal length) | 50° x 38°12.28 mm |
| Image | |
| Display | 2.4″ 240 x 320 px LCD |
| Image modes | IR / Visual / PiP |
| Temperature measurement | |
| Temperature range | Range 1: -20°C…+150°C Range 2: 100°C…+400°C |
| Accuracy | ±2°C or ±2% of reading (for ambient temperature 15°C…30°C, object temp. >_0°C) |
| Image analysis modes | Point. 3 areas. Temperature indication: min, max. Temp. alarm |
| Palettes | 6 |
| Emissivity | Selectable from 0.01 to 1.00 or from the list |
| Measurement adjustment | Adjustable distance, ambient temperature (reflected) |
| File format | JPG |
| Built-in features | Visual camera 5 MPix, LED flashlight, laser pointer |
| Interface | SD card slot (max. 32 GB), micro USB 2.0 type C, tripod |
| Power supply | Li-Ion battery (over 5 h of continuous operation), built-in charger (max. charging time 2.5 h), AC adapter 110-230 V (50/60 Hz) |
| Environmental conditions | |
| Operating temperature | -10°C…50°C |
| Storage temperature | -40°C…70°C |
| Ingress protection | IP54 |
| Certification | CE. ROHS, FCC |
| Weight | approx. 0.35 kg |
| Dimensions | 194 x 61.5 x 76 mm |
Standard accessories
The standard bundle supplied by the manufacturer includes
- KT-128 Thermal Imager
- USB charger – WAZASZ20
- Type C micro USB cable – WAPRZUSBC
- 16 GB microSD card – WAPOZSD1
- Wristband – WAPOZPAS1
- User manual
The current list of accessories can be found on the manufacturer’s website.
Manufacturer
The manufacturer and provider of warranty and post-warranty services for this instrument is:
SONEL S.A.
Wokulskiego 11
58-100 Świdnica Poland
tel. +48 74 858 38 60
fax +48 74 858 38 09
e-mail: [email protected]
web page: www.sonel.pl
NOTE!
Only the manufacturer is authorized to perform service repairs.

SONEL S.A.
Wokulskiego 11
58-100 Swidnica Poland
PL
+48 74 858 38 00
(Biuro Obstugi Klienta)
e-mail: [email protected]
GB • ES
+48 74 858 38 60 +48 74 858 38 00
fax: +48 74 858 38 09
e-mail: [email protected]
www.sonel.pl
















