POTTER SCV Safe Contact

Introduction
The Model SCV safe contact is UL listed and may be installed in a variety of ways depending on the type of safe to be protected.
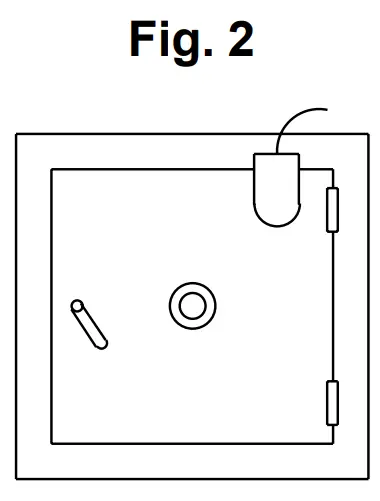
Several different mounting positions are shown in Figs. 1, 2 and 3.


Contact Ratings: 0.1Amp at 130VDC 1.0Amp at 30VDC/AC
INSTALLATION INSTRUCTIONS
- Remove cover screws and cover.
- Remove adjustable plate, by removing the two flat head screws on the side of the assembly.
- If unit is to be installed as shown in Figs. 1 and 2, reverse the contact assembly as shown in Fig. 4. Be sure to reinstall cable clamps as shown.

If unit is to be installed as shown in Fig. 3, the contact assembly should be as shown in Fig. 5.
- Using a 3/8″ twist drill, make a dimple approximately 1/8″ in depth in the safe frame, this should be 1/4″ from the edge of the door (see Fig. 6).

- Flush Door Only: Remove unused extrusion by filing or grinding. Recessed Doors: Adjust the mounting bracket to the proper height.
- The contact can then be located by centering the plunger in the dimple, drilled in the frame in Step #4.
- If the unit is to be mounted with screws (see Step #8), mark the three screw holes with a #27 drill while holding the unit in place. Remove unit and drill the three holes with a #33 drill. The unit may then be mounted with self tapping 1/4″ x 6-32 machine screws.
- The unit may be mounted without the use of screws by using an epoxy.
TO INSTALL ON RAISED DOOR
The unit may be installed on a raised door by first installing a block of the proper height on the frame and follow the instructions for flush doors.
TO INSTALL ON ROUND DOOR
The unit may be installed on the hinge of some round door safes by cutting the head off of one of the hex head hinge bolts, putting the dimple in the bolt and mounting the device as you would on a flush door.
ADJUSTMENTS
With the plunger resting in the dimple, it should be adjusted so that contacts A and B are open, contacts B, C and D are closed. Contacts E and F are tamper contacts and should be open when the cover is off. When the safe door is opened, contacts A, B and C will be closed and contacts C and D will be opened. If the plunger is depressed too far, contacts B and C will be open.
NOTE: When this contact is used on local alarms or transmitter type Central Station Alarms, the ground wire should be removed from contact A and folded back under the cable clamp.
WIRING THE SCV
With the SCV installed, the cover on, the safe door closed and the SCV plunger in the dimple of the safe frame, the contacts are:
Black = Com.
Green = N.C.
White = N.O.
Wire normally closed only!
If it is installed in EVD pickup loop, it must be wired in series, before the last device on loop.
The wire from terminal #4 of the EVD-C goes to the black wire of the SCV.
The green wire of the SCV would go to terminal #2 of the EVD-P.
The shield from terminal #3 of the EVD would connect to the white wire, then continue to terminal #1 of the EVD-P.
If it is wired directly to the relay contacts on the EVD:
For a normally open circuit that shorts on alarm:
Connect EOL resistor from burglar panel across green and white wires.
Connect white wire to the N.O. relay contact of the EVD.
Connect black wire to the N.C. relay contact of the EVD.
Connect zone of burglar panel to the common and N.O.
relay contacts of the EVD. (See Fig. 10)
For a normally closed circuit that opens on alarm:
Connect EOL resistor from burglar panel across black and white wires.
Connect white wire to the N.O. relay contact of the EVD.
Connect green wire to the common relay contact of the EVD.
Connect zone of burglar panel to the N.O. and N.C. relay contacts of the EVD. (See Fig. 11)
Customer Support
Potter Electric Signal Company • 2081 Craig Road, St. Louis, MO, 63146-4161 • Phone: 800-325-3936/Canada 888-882-1833 • www.pottersignal.com






















