TV Mount
Quick Start Guide
Contents

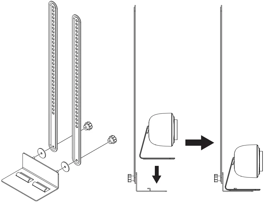
Assemble

Installation

- Mounting Pattern: Up to 800 x 600mm
- Reserved Space: Up to 210mm
079.79.1101528_V1.0
TV Mount
Quick Start Guide



079.79.1101528_V1.0
Download manual
Here you can download full pdf version of manual, it may contain additional safety instructions, warranty information, FCC rules, etc.