crest BRBLFTXL TV Wall Mount
SAFETY FIRST
- Installation of this TV Wall Mount will be easier with two people.
- Some images in this guide may vary slightly from the actual components supplied.
- Ensure this instruction manual is completely read and understood before attempting installation.
- This TV Wall Mount MUST NOT be installed solely in plasterboard, fibre cement and similar surfaces.
- This TV Wall Mount MUST be installed in sound supporting structures such as those made of timber, steel or masonry using appropriate fasteners.
- The supporting structure must be capable of sustaining the combined weight of the TV Wall Mount and the display otherwise the structure must be reinforced.
- The fasteners supplied in this hardware pack allow for fixing into timber and masonry only. If installing into a supporting structure made of steel, appropriate fasteners must be used and sourced from an appropriate supplier.
- Use appropriate tools and safety equipment and ensure adequate ventilation during installation.
- If uncertain about any aspect of installation, contact
- The Crest Company or an installation professional.
- Please retain these instructions for future reference.
Hardware Kit Contents

Tools Required
DRYWALL INSTALLATION (TIMBER SUPPORTS
- Adjustable spanner/socket set
- Phillips head screwdriver
- Power drill
- High speed 4.5mm drill bit
- Pencil
- Spirit Level
- Stud Finder
MASONRY INSTALLATION
- Adjustable spanner/socket set
- Phillips head screwdriver
- Power drill with hammer function
- 10mm Masonry drill bit
- Pencil
- Hammer
- Spirit Level
Step 1: Attach Wall Plate to Wall
A. INSTALLING IN DRYWALL (TIMBER FRAME)
WARNING: If attaching this TV Wall Mount using this method, you MUST centre the wall plate across 2 wall studs. Wall studs can be 450mm or 600mm apart depending upon the position of the wall and the geographical state you live in. The Crest Company will not accept any damages that may occur if only 1 stud is used.The Crest Company holds no responsibility for incorrectly installed TV Wall Mounts
- Locate the centre of two adjacent timber studs. Crest recommends the use of a stud finder (not included).
- NOTE: You must use the centre of the stud to avoid cracking or splitting the timber during installation).
- Mark a minimum of 4 fixing holes over stud centres using the wall plate as a guide – position 2 at either end of the Wall Plate (see Figure 1). Ensure plate is level.
- Pre-drill holes to a minimum depth of 50mm using a high speed 4.5mm drill bit. If installing in hardwood, larger diameter and deeper holes may be required.
- Attach the wall plate using the lag bolts (A) through the washers (C). Do not over tighten.
B. INSTALLING IN MASONRY
WARNING: Ensure you have a minimum of 35mm of actual concrete/brick thickness in the hole for the anchors. Do not drill into mortar joints. Installer must verify that the supporting surface will safely support the combined weight of the TV Wall Mount and TV. The Crest Company holds no responsibility for incorrectly installed TV Wall Mounts.
- Mark a minimum of four fixing holes (preferably 6) using the Wall Plate as a guide – position 2 at either end of the Wall Plate (see Figure 2). Ensure plate is level.
- Pre-drill holes to a minimum depth of 60mm using 10mm masonry drill bit. Clean out holes.
- Fully insert concrete anchors (B). Tap in with hammer if required.
- Attach wall plate by inserting the lag bolts (A) through the washers (C) into each concrete anchor (B). Do not over tighten.


Step 2: Attach Mounting Arms to TV (for 0 degrees tilt)
- Using a second person for assistance, lay your TV face down on something soft so as not to scratch the TV screen.
- Check the back of your TV to find the appropriate mounting pattern.
- Sort through the provided bolts (G to I) until you find the correct size that easily fits into the back of your TV and fits snugly (the bolt must turn at least 3 full turns, do not tighten). If you feel resistance stop immediately and select a smaller bolt. Once you have selected the correct bolt size, use the multi-sized washer (F). If no bolts fit you will need to go to your local hardware supplier to find the correct bolt and washer sizes. (If the only supplied bolts are too long, a spacer (D-E) or combination of spacers can be used)
- Gently put your mounting arms (M) on the back of the TV so that the mounting holes are showing through the holes of the mounting arms (see Figure 3). If the back of you TV is curved or recessed you will also need to use spacers (D-E) depending upon the amount of space you are trying to clear. If using a spacer you will also need to use longer screws. Remember that the bolt needs to turn at least 3 full turns.
- Using the correct mounting bolt size and length, insert these through the corresponding hole on the multi-sized washer (F) to attach mounting arms to the rear of the TV (see Figure 3). To avoid damaging TV, do not over tighten bolts. The Crest Company is not responsible for any damage caused by screwing the bolt too far into the back of the TV.

Step 3: Hook Arms over Wall Plate
- Using a second person for assistance, carefully lift the TV and hook arms over the top of the wall plate (see Figure 4).
- Slowly lower the bottom of the TV until the bottom of the mounting arm locks on the wall plate.
- This will help ensure that your TV does not fall off your wall plate during use (see Figure 4).
- Slide lockable bar (P) through the mounting arms and secure with padlock (not included) (See figure 5).

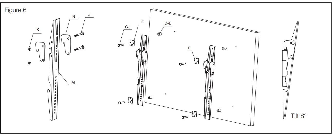
Step 4: To Convert Arms to Tilt Function
- Using Carriage Bolts (J) attach Tilt Bracket Attachments (N) to Mounting Arms (M) and secure tightly with M6 Screw Nut (K) See Figure 6 below
- Then repeat Step 3 to attached TV to Wall Mount and secure correctly

Check your TV Wall Mount is secure and safe to use at regular intervals (at least every three months
5 YEAR WARRANTY
Olbertz Holdings Pty Ltd ACN 010 003 933 trading as The Crest Company of 165 South Pine Road, Brendale, Queensland, 4500, Ph: 1800 812 261,www.crest.com.au warrants that if this Crest product purchased by you from The Crest Company or a retail outlet is found by The Crest Company to be defective in workmanship or materials within 5 years of the date of purchase, The Crest Company will (at its election) either repair that product, replace the product, supply an equivalent product or pay the costs of repairing or replacing the product or acquiring an equivalent product.This limited warranty will not extend to or cover any expenses associated with removing, demounting the original product or installing the repaired, replaced or equivalent product or all or any of its components, you must bear these expenses. It also does not cover damage or loss resulting from intentional or unintentional misuse of, tampering with, alterations to or incorrect installation of this product or use of this product for purposes other than that for which it is designed or in a manner inconsistent with the product’s instructions. This limited warranty also does not apply to damage or loss resulting from fair wear and tear or events beyond The Crest Company control including but not limited to natural disasters.In order to claim under this warranty, you must contact The Crest Company and return to The Crest Company (via our nominated reply paid address) the product and its components and proof of purchase (including the date and location of purchase) so that The Crest Company can verify the defect and your purchase. Our goods come with guarantees that cannot be excluded under the Australian Consumer Law. You are entitled to a replacement or refund for a major failure and compensa for any other reasonably foreseeable loss or damage. You are also entitled to have the goods repaired or replaced if the goods fail to be of acceptable quality and the failure does not amount to a major failure. The benefits given by this warranty are in addition to other rights and remedies that you may have under a law in relation to the goods or services to which the warranty relates.




















