Nedis Tv Wall Mount Instruction Manual
nedis TV Wall Mount
Parts
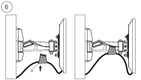
Instructions
Download manual
Here you can download full pdf version of manual, it may contain additional safety instructions, warranty information, FCC rules, etc.
To access the pdf donwload links, solve the captcha.


























