Danfoss VFQ 2 Differential Pressure Controller

Safety Notes
Prior to assembly and commissioning to avoid injury of persons and damages of the devices, it is absolutely necessary to carefully read and observe these instructions. Necessary assembly, start-up, and maintenance work must be performed only by qualified, trained and authorized personnel. Prior to assembly and maintenance work on the controller, the system must be:
- depressurized, cooled down,
- emptied and
- cleaned.
Please comply with the instructions of the system manufacturer or system operator.
Definition of Application
The flow rate controller is used for flow rate restriction of water and water-glycol mixtures in heating, district heating and cooling systems.
The technical data on the label plates determine the use.
Scope of Delivery


- accessory sold separately,
- Impulse tube set – accessory sold separately
Assembly
Admissible Installation Positions 
- media temperatures up to 150 °C: Can be installed in any positi on.
- media temperatures > 150 °C. Installation permitted only in horizontal pipelines with the actuator oriented downwards.
Installation Location and Installation Scheme ❸
- Return mounting
- Flow mounting
Valve Installation ❹
- Install strainer ① before the controller.
- Rinse system prior to installing the valve.
- Observe flow direction ② on valve body.
Flanges ③ in the pipeline must be in parallel position and sealing surfaces must be clean and without any damage. - Install valve.
- Tighten screws crosswise in 3 steps up to the max. torque.
Actuator Installation ❺
The actuator stem must be screwed into the valve stem. Spring on the pressure actuator is factory adjusted (released) for proper installation.
- Remove the spindle protection cup and release the valve spindle by removing the nut, washer and cardboard tube.
- Align the actuator stem with the valve stem, connect both stems and turn gently the whole pressure actuator clockwise with both hands, until the stems are fully connected (valve stem fully screwed into the actuator stem).
- Release the uninon nut by pulling out the blocking spring.
- Tight the union nut
- Release the pressure actuator by turning it counter clockwise for approximately half a turn.
- Observe the position of impulse tubes connection to the valve and align the actuator accordingly.
- Hold the actuator in the position and tight the union nut to the valve with 100- 120 Nm torque.
Impulse Tube mounting ❻
Connection of impulse tubes in the system Overview
- Installation in return flow ②.
- Installation in supply flow ③.
Connection of impulse tube set ❼
Remove plug ① at the valve. Screw in threaded joint ② with copper seal. Torque: 40 Nm For instalation of impulse tube sets, please observe the Installation Instructions for the Impulse tube sets.
Connection of impulse tube set AF
If control lines (copper) are not pre-bent or seal pots are to be installed, please observe the Assembly Instructions of these parts.
- Which impulse tubes to use? The impulse tube set AF (2×) ❻ ① can be used:
Order No.: 003G1391 or use the following pipes:
Connection of impulse tube set ❽①
- Cut pipe in rectangular sections ① and deburr.
- For copper pipe: insert sockets ② on both sides.
- Verify the correct position of the cutting ring ③.
- Press impulse tube ④ into the threaded joint up to its stop.
- Tighten union nut ⑤ Torque 40 Nm.
When installing seal pots ❽⑥, please observe the Installation Instructions for the seal pots.
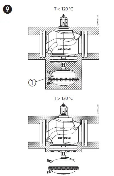
Insulation ❾

For media temperatures up to 120 °C the pressure actuator may be insulated ①.
Dismounting ❿

Danger
The danger of injury by hot water Prior to dismounting depressurized system or using shut-off valves on the impulse tubes! ①
Carry out dismounting in the following steps: ②
- Fasten the pressure actuator with the safety bands to the fixed points in surroundings
- Before releasing the actuator, fully release the union nut
- Hold the pressure actuator with both hands, and release it by turning it counterclockwise for ~30 turns. During turning, control the actuator weight all the time to prevent unexpected fall of detached actuator.
- Carefully remove the actuator from the valve. Before installing the actuator back to the valve, the setting spring must be fully released again.
Leak and Pressure Test ⓫

“Danger of injury by heavy weight of pressure actuator. When dismounting the pressure actuator from the valve, control the actuator weight all the time to prevent unexpected fall of detached actuator and potential injuries due to the heavy weight!” To prevent damages on the diaphragm pressure must be constantly and simultaneously increased at the + and − connection ① until the max testing pressure is reached.
In case of higher test pressures, remove impulse tubes ① and close the valve with appropriate plugs. Observe nominal pressure ② of the valve. Max. test pressure must not exceed the plant testing pressure and must always be lower than 1.5 × PN Non-compliance may cause damage at the actuator or valve.
Filling the System, Start-up
The return flow pressure ① must not exceed the supply flow pressure ②. Non-compliance may cause damages at the controller ③.
- Slowly open valves in the system.
- Slowly open shut-off devices ④ in the supply flow.
- Slowly open shut-off devices ⑤ in the return flow.
Putting out of Operation
- Slowly close shut-off devices ④ in the supply flow.
- Slowly close shut-off devices ⑤ in the return flow.
Adjustment of Flow Rate Limitation
The flow rate is limited by adjusting the stroke of the adjusting throttle ⓭①.

There are two options:
- Adjustment with the flow adjusting curves
- Adjustment with heat meter.
Adjustment with flow adjusting curves
The system must not be running! When closing the adjusting throttle (step 3), the actuator could be damaged in case of high pressure differences.
- Screw in adjusting throttle ⓭② up to its stop.
→ Valve is closed, no flow. - Select flow adjusting curve (see ⓮).


- Turn adjusting screw ③ by the number of rotations from diagram to the right
→ The adjustment of the valve stroke is completed - The adjusting screw may be sealed
Note
The adjustment may be checked when the system is running by means of a heat meter, see next section.
Adjustment with Heat Meter
Pre-condition:
Esure that the system or a bypass ① is completely open. For the max. flow rate, the pressure difference Δp② at the control valve must be at least: Δpmin = 2 × Δpb
See also section “Flow rate is too low”.
- Observe heat meter indicator
- Turn to the left ③ increase the flow rate
- Turning to the right ④ reduces the flow rate.
When the adjustment is completed:
1. Tighten counter nut ⑤.
8. The adjusting screw may be sealed
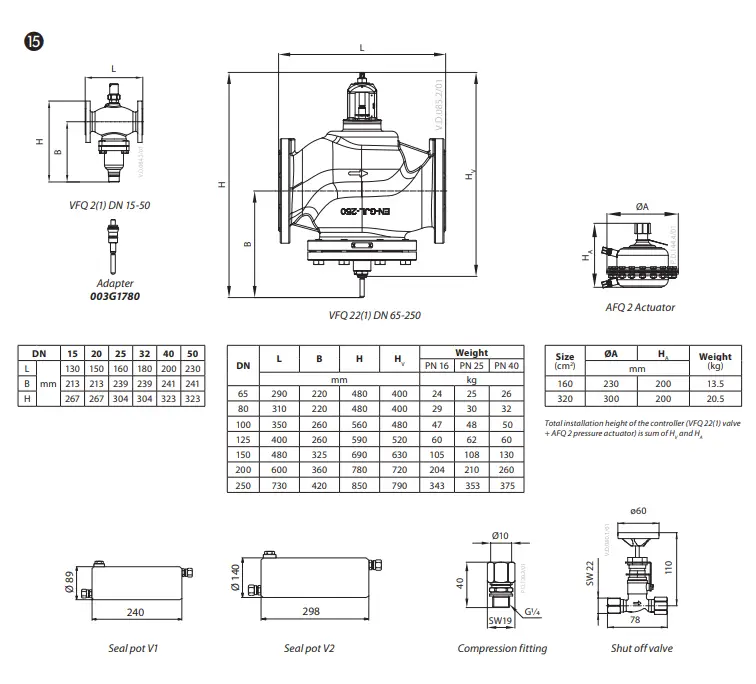
Dimensions ⓯

Flanges: connection dimensions acc. to DIN 2501, seal form C
Flow rate is too low, what to do?
Remedy:
- Verify adjustment, see section before.
- Check differential pressure at the control valve.

- Δpb restrictor Differential pressure [bar] (see rating plate)
- V max. flow rate [m3/h] kvs [m3/h]
Danfoss A/S
Climate Solutions climatesolutions.danfoss.com +45 7488 2222. E-Mail: [email protected]
Any information, including, but not limited to information on the selection of the product, its application or use, product design, weight, dimensions, capacity, or any other technical data in product manuals, catalogs descriptions, advertisements, etc., and whether made available in writing, orally, electronically, online or via download, shall be considered informative and is only binding if and to the extent, explicit reference is made in a quotation or order confirmation. Danfoss cannot accept any responsibility for possible errors in catalogs, brochures, Videos and other material. Danfoss reserves the right to alter its products without notice. This also applies to products ordered but not delivered provided that such alterations can be made without changes to the form, fit, or function of the product.
All trademarks in this material are property of Danfoss A/S or Danfoss group companies. Danfoss and the Danfoss logo are trademarks of Danfoss A/S. All rights reserved.























