Danfoss PVH057-63 H Series Piston Pumps Pressure Compensator Kit

Installation Instructions
For more detailed information contact Danfoss Power Solutions at one of the addresses listed below.
Please reference the following documents:
- For Specifications and Performance Data see Catalog No. GB-C-2010.
- For installation and adjustment of the industrial control see Danfoss document 676
- For parts Information for the PVH Piston Pump refer to Service Data below.
- When servicing PVH Piston Pump Compensators refer to these Service Data documents:
PVH057 / 063 M-2206-S
PVH074 / 081 M-2207-S
PVH098 / 106 M-2208-S
PVH131 / 141 M-2209-S

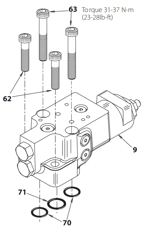
Pressure Compensator Control Parts
Model Code Feature (postion 14) = G, H, J
ITEM | DESCRIPTION | QTY |
| 9 | CI Control | 1 |
62 | Cap Screw | 2 |
| 63 | Cap Screw | 2 |
70 | O-Ring | 2 |
| 71 | O-Ring | 1 |
WARNING
Danfoss recommends for positive displacement pumps that a relief valve be fitted between the pump and the load to protect against overload of the pump or system.
WARNING: NEVER ADJUST THE COMPENSATOR TO ALLOW THE PUMP OR THE HYDRAULIC SYSTEM TO EXCEED THEIR MAXIMUM RATED PRESSURES. REFER TO THE OPERATORS MANUAL FOR MAXIMUM PRESSURES OR CONTACT THE SUPPLIER.
EXCESSIVE PRESSURE MAY RESULT IN ABRUPT AND VERY SERIOUS FAILURES IN THE SYSTEM WHICH CAN CAUSE DEATH OR SERIOUS BODILY INJURY TO PERSONS NEARBY AND/OR DAMAGE THE PUMP.
Products we offer:
- Cartridge valves
- DCV directional control valves
- Electric converters
- Electric machines
- Electric motors
- Gear motors
- Gear pumps
- Hydraulic integrated circuits (HICs)
- Hydrostatic motors
- Hydrostatic pumps
- Orbital motors
- PLUS+1® controllers
- PLUS+1® displays
- PLUS+1® joysticks and pedals
- PLUS+1® operator interfaces
- PLUS+1® sensors
- PLUS+1® software
- LUS+1® software services, support and training
- Position controls and sensors
- PVG proportional valves
- Steering components and systems
- Telematics
Hydro-Gear
www.hydro-gear.com
Daikin-Sauer-Danfoss
www.daikin-sauer-danfoss.com
Danfoss Power Solutions is a global manufacturer and supplier of high-quality hydraulic and electric components. We specialize in providing state-of-the-art technology and solutions that excel in the harsh operating conditions of the mobile off-highway market as well as the marine sector. Building on our extensive applications expertise, we work closely with you to ensure exceptional performance for a broad range of applications. We help you and other customers around the world speed up system development, reduce costs and bring vehicles and vessels to market faster.
Danfoss Power Solutions – your strongest partner in mobile hydraulics and mobile electrification.
Go to www.danfoss.com for further product information.
We offer you expert worldwide support for ensuring the best possible solutions for outstanding performance. And with an extensive network of Global Service Partners, we also provide you with comprehensive global service for all of our components.
Local address:
Customer Support
Danfoss
Power Solutions (US) Company
2800 East 13th Street
Ames, IA 50010, USA
Phone: +1 515 239 600
Danfoss can accept no responsibility for possible errors in catalogues, brochures and other printed material. Danfoss reserves the right to alter its products without notice. This also applies to products already on order provided that such alterations can be made without subsequent changes being necessary in specifications already agreed.
All trademarks in this material are property of the respective companies. Danfoss and the Danfoss logotype are trademarks of Danfoss NS. All rights reserved.




















