INSTRUCTION SHEET
Multiple Conduit Support Bracket

Vertical Installation

Horizontal Installation

- Secure Support Bracket to Substrate
- Install Conduit Clip onto Support Bracket. A Maximum of Three Conduit Clips per Bracket
- Install Conduit into the the Conduit Clip
Note: For Locking Tab Installations, the Conduit Clip shall be engaged to the Second Tab
WARNING:
- nVent products shall be installed and used only as indicated in nVent product instruction sheets and training materials. Instruction sheets are available at www.nVent.com and from your nVent customer service representative.
- nVent products must never be used for a purpose other than the purpose for which they were designed or in a manner that exceeds specified load ratings.
- All instructions must be completely followed to ensure proper and safe installation and performance.
- Improper installation, misuse, misapplication or other failure to completely follow nVent’s instructions and warnings may cause product malfunction, property damage, serious bodily injury and/or death, and void your warranty.
- Products that are manufactured using spring steel components shall be used only in a non-corrosive indoor environment.
- All pipe supports, hangers, intermediate components and structural attachments must ONLY be used as described herein and are NEVER to be used for any other purpose.
NOTE: All load ratings are for static conditions and do not account for dynamic loading such as wind, water or seismic loads, unless otherwise noted.
The customer is responsible for:
a. Conformance to all governing codes.
b. The integrity of structures to which the products are attached, including their capability of safely accepting the loads imposed, as evaluated by a qualified engineer.
c. Using appropriate industry standard hardware as noted above.
SAFETY INSTRUCTIONS:
All governing codes and regulations and those required by the job site must be observed.
Always use appropriate safety equipment such as eye protection, hard hat, and gloves as appropriate to the application.

| Global Part Number | Figure No. | Description | Static Load Rating (lb) |
| SBT18 | 1 | Multiple Conduit Support Bracket | 150 |
| SBT18TI | 2 | Multiple Conduit Support Bracket with Two 1/4-20 Thread Impressions |
Indicated Loads are Static Load Limits of the Assembly 50 lb Static Load Rating per Locking Tab
Combined Loads of Locking Tab shall not exceed Assembly Static Load Rating Maximum of Three Conduit Clips per Support Bracket
BC Beam Clamp with Multiple Supprt Conduit Clip

| Global Part Number | Figure No. | Description | Static Load Rating (lb) |
| SBT18BC | 3 | Multiple Support Bracket to 1/2″ Max Flange | 100 |
Indicated Loads are Static Load Limits of the Assembly 50 lb Static Load Rating per Locking Tab
Combined Loads of Locking Tab shall not exceed Assembly Static Load Rating Maximum of Three Conduit Clips per Support Bracket
Multi-Function Clip with Multiple Support Conduit Clip

| Global Part Number | Figure No. | Description | Static Load Rating (lb) |
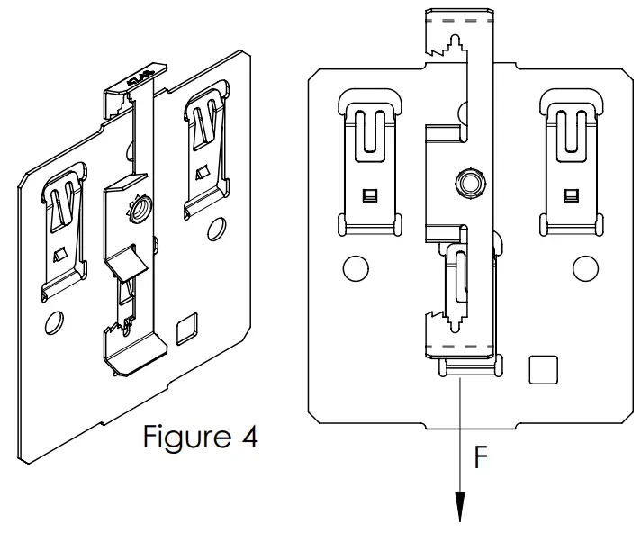
| SBT184Z34 | 4 | Support Bracket to #12 Wire thru 1/4″ Threaded or Smooth Rod | 20 |
| SBT186Z34 | Support Bracket to 5/16″ thru 3/8″ Threaded or Smooth Rod |
Indicated Loads are Static Load Limits of the Assembly Maximum of Three Conduit Clips per Support Bracket
BC200 Beam Clamp with Multiple Support Conduit Clip

| Global Part Number | Figure No. | Description | Static Load Rating (lb) |
| SBT18BC200 | 5 | Multiple Support Bracket to 5/8″ Max Flange | 100 |
Indicated Loads are Static Load Limits of the Assembly 50 lb Static Load Rating per Locking Tab
Combined Loads of Locking Tab shall not exceed Assembly Static Load Rating Maximum of Three Conduit Clips per Support Bracket
Bottom Mount Hammer-On with Multiple Support Conduit Clip

| Global Part Number | Figure No. | Description | Static Load Rating (lb) |
| SBT1824 | 6 | Multiple Support Bracket to 1/8″ – 1/4″ Flange | 75 |
| SBT1858 | Multiple Support Bracket to 5/16″ – 1/2″ Flange | ||
| SBT18912 | Multiple Support Bracket to 9/16″ – 3/4″ Flange |
Indicated Loads are Static Load Limits of the Assembly 50 lb Static Load Rating per Locking Tab
Combined Loads of Locking Tab shall not exceed Assembly Static Load Rating Maximum of Three Conduit Clips per Support Bracket
Side Mount Hammer-On with Multiple Support Conduit Clip

| Global Part Number | Figure No. | Description | Static Load Rating (lb) |
| SBT1824SM | 7 | Multiple Support Bracket to 1/8″ – 1/4″ Flange | 150 |
| SBT1858SM | Multiple Support Bracket to 5/16″ – 1/2″ Flange | ||
| SBT18912SM | Multiple Support Bracket to 9/16″ – 3/4″ Flange |
Indicated Loads are Static Load Limits of the Assembly 50 lb Static Load Rating per Locking Tab Combined Loads of Locking Tab shall not exceed Assembly Static Load Rating Maximum of Three Conduit Clips per Support Bracket
Mulit-Function Clip and Box Hanger with Multiple Support Conduit Clip

| Global Part Number | Figure No. | Description |
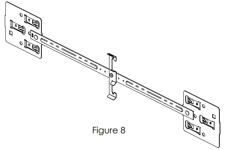
| B18SBT184Z | 8 | Multiple Support Bracket to #12 Wire thru 1/4″ Threaded or Smooth Rod and Box Hanger |
Mounting Outlet Box to Hanger Requires Two Screws May Require Dedicated Drop Wire or Rod – Please Consult Local Authority Maximum of Three Conduit Clips per Support Bracket. Intended for Conduit to be Install into an Outlet Box from Multiple Sides.
When Installing Conduit into One Side of an Outlet Box, the Opposite Side Conduit Clip may be Removed.
Box Hanger with Multiple Support Conduit Clip

| Global Part Number | Figure No. | Description |
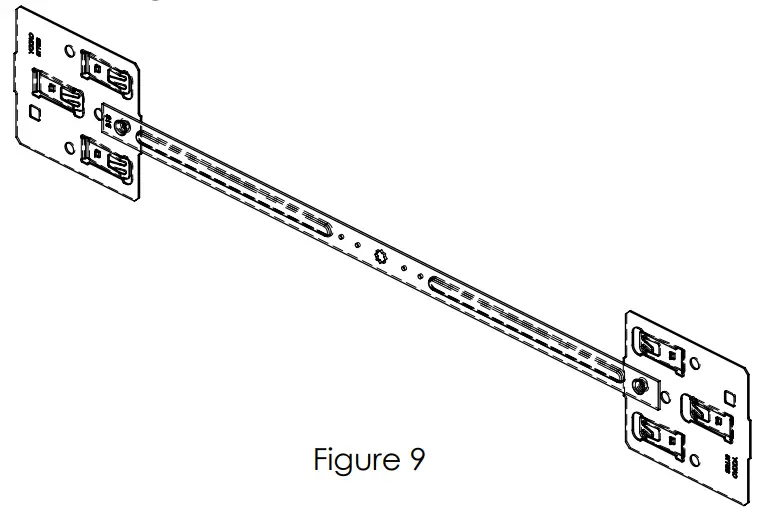
| B18SBT18 | 9 | Multiple Support Bracket to Box Hanger |
When Mounting Outlet Box to Hanger, Two Screws are Required. When Supporting the Hanger Assembly with Threaded Rod going through both the Hanger Assembly and Outlet Box, Additional Screws are Not Neccessary. May Require Dedicated Drop Wire or Rod – Please Consult Local Authority Maximum of Three Conduit Clips per Support Bracket. Intended for Conduit to be Install into an Outlet Box from Multiple Sides. When Installing Conduit into One Side of an Outlet Box, the Opposite Side Conduit Clip may be Removed.

nVent, nVent CADDY, nVent ERICO Cadweld, nVent ERICO Critec, nVent ERICO, nVent ERIFLEX, and nVent LENTON are owned by nVent or its global affiliates. All other trademarks are the property of their respective owners. nVent reserves the right to change specifications without prior notice.
TECHNICAL SUPPORT:
www.nVent.com
CFS330_E
© 2001-2021 nVent All Rights Reserved













