VIESSMANN 7712917 Flue Condensate Drain

Safety and Installation Requirements
Please ensure that these instructions are read and understood before starting any service work. Failure to comply with these instructions may cause product/property damage, severe personal injury and/or loss of life.
Working on the equipment
The installation, adjustment, service and maintenance of this product must be performed by a licensed professional heating contractor who is qualified and experienced in the installation, service, and maintenance of hot water boilers. There are no user serviceable parts on the boiler, burner or control. Ensure that main power to the equipment being serviced is off.
Ensure that the main fuel supply valve to the boiler is closed.
Take precautions to avoid accidental activation of power or fuel during service work.
Do not perform service work on any component part without ensuring safe operation of the heating system. When replacing parts, use original Viessmann or Viessmann approved replacement parts.
Refer to the applicable boiler Installation Instructions.
Approved Venting Materials
Flue Condensate Drain

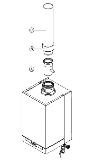
For CPVC Vent Systems
- Decouple the venting system at the boiler coaxial flue collar.
- Install the flue condensate drain into the boiler coaxial flue collar.
- Shorten the venting system as required by removing a straight section of pipe and a coupling to reconnect the venting system.
- Re-install the venting system into the flue condensate drain starting with the appliance adaptor.
Note: The condensate drain can be installed in either the vertical or horizontal position.
Legend
- A Flue condensate drain
- B Existing CPVC vent pipe adaptor
- C Existing CPVC venting system
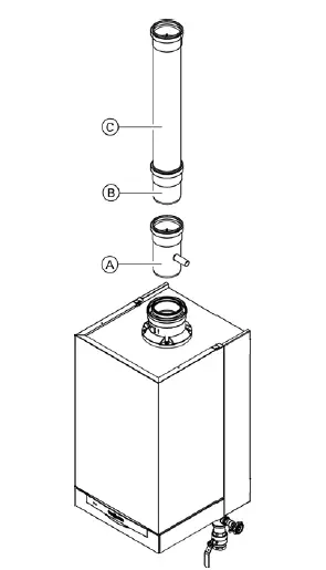
For PP(s) Vent Systems

- Decouple the venting system at the boiler coaxial flue collar.
- Install the flue condensate drain into the boiler coaxial flue collar.
- Shorten the venting system as required by shortening a straight section of pipe.
- Re-install the venting system into the flue condensate drain starting with the appliance adaptor (if applicable) Note: The condensate drain can be installed in both the vertical or horizontal position
Legend
- A Flue condensate drain
- B Existing PP(s) vent pipe adaptor (if installed)
- C Existing PP(s) venting system
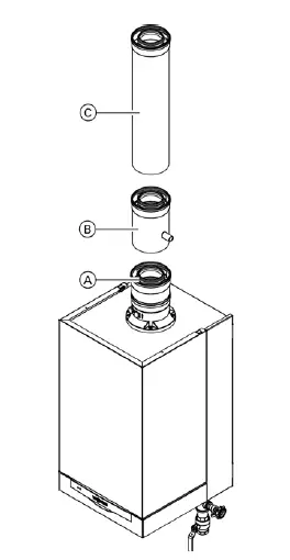
Coaxial Venting Systems
Note: Only applicable for Viessmann supplied 110/160 coaxial venting systems.

- Decouple the venting system at the boiler coaxial venting adaptor.
- Install the flue condensate drain into the boiler coaxial adaptor.
- Shorten the venting system as required by shortening a straight section of pipe.
- Re-install the venting system into the flue condensate drain.
Note: The condensate drain can be installed in both the vertical or horizontal position.
Legend
- A Existing coaxial vent pipe adaptor
- B Flue condensate drain
- C Existing coaxial venting system
Condensate Trap

Installing the condensate trap
Note: Only applicable for Viessmann supplied 110/160 coaxial venting systems.
- Securely mount the condensate drain within reach of the supplied black rubber hose (mounting hardware field supplied).
- Connect the supplied condensate trap to the venting system drain connection using the black hose and hose clamps supplied in the kit.
- Connect the supplied grey hose to the condensate trap.
- Route the condensate drain to a neutralization system (if required) or floor drain.
Legend
- A Flue condensate drain
- B Black rubber hose
- C Condensate trap
- D Grey hose
- E Neutralization system or floor drain





















