HOSHIZAKI SRK-10J Condensing Unit Instruction Manual
Auxiliary Codes
SRK-10J
- H-0 February 2018
- H-1 October 2018
- J-0 August 2019
- K-0 January 2020
- L-0 January 2021
- M-0 March 2022
Auxiliary Code Breakdown
The auxiliary code is the first two characters in the serial number.
The first character indicates the year. Years progress or regress in alphabetical order.
The series runs from “A” through “V” and the letters “I” and “O” are skipped.
The second character indicates significant part changes within a year.
Base is “0” and this number advances for each change.
In cases where there is a letter in parentheses, this designates the month.
This is the last character in the serial number.
The series runs from “(A)” through “(M)” and the letter “(I)” is skipped.
This designation is only included when identifying a parts change within an auxiliary code.
Note About Ordering Parts
Most assemblies cannot be ordered as complete units; parts in the assemblies generally must be ordered separately
A. Main Assembly & Refrigeration Circuit
SRK-10J
H-0 to M-0
| Title: A. Main Assembly & Refrigeration Circuit Model: SRK-10J | ||||||||||||
| Index No. | Description | Material or Model Number | Part Number | Required Number | ||||||||
| H-0 (A) to H-0 (J) | H-0 (K) to M-0 | |||||||||||
| Main Assembly | ||||||||||||
| 1 | Top Panel | 3A9269-01 | 1 | 1 | ||||||||
| 2 | Right Side Panel | 3A9293-01 | 1 | 1 | ||||||||
| 3 | Left Side Panel | 3A9292-01 | 1 | 1 | ||||||||
| 4 | Louver Panel | 3A9281-01 | 1 | 1 | ||||||||
| 5 | Front Frame | 3A9268-02 | 1 | 1 | ||||||||
| 6 | Control Box Cover | 3A9574-01 | 1 | 1 | ||||||||
| Refrigeration Circuit | ||||||||||||
| 7 | Fan Motor | 4A6115-02 | 1 | 1 | ||||||||
| 8 | Fan Blade | 4A1493-01 | 1 | 1 | ||||||||
| 9 | Compressor | 4A1539-03 | 1 | 1 | ||||||||
| 10 | Crankcase Heater | 4A5397-02 | 1 | 1 | ||||||||
| 11 | Condenser | 104777-02 | 1 | 1 | ||||||||
| 12 | Accumulator | 3A6803-01 | 1 | 1 | ||||||||
| 12a | Hex Bolt | 7B0230512 | 2 | 2 | ||||||||
| 13 | Reciever Tank | 438209-01 | 1 | – | ||||||||
| 4A6214-01 | 1 | |||||||||||
| 13a | Hex Bolt | 7B0230512 | 3 | 3 | ||||||||
| 14 | Hot Gas Valve Body | 4A3978-01 | 1 | 1 | ||||||||
| 15 | Liquid Line Valve Body | 4A3276-01 | 1 | 1 | ||||||||
| 16 | Valve Coil | 4A3277-01 | 2 | 2 | ||||||||
| 17 | High-Pressure Switch | 463180-01 | 1 | 1 | ||||||||
| 18 | Discharge Line Thermostat | 440664-01 | 1 | 1 | ||||||||
| 19 | Headmaster (C.P. R.) | 4A0229-04 | 1 | 1 | ||||||||
| 20 | Strainer | 441569-02 | 2 | 2 | ||||||||
| 21 | Suction Line Shutoff Valve | 4A3490-01 | 1 | 1 | ||||||||
| 22 | Liquid Line Shutoff Valve | 4A3491-01 | 1 | – | ||||||||
| 4A4822-01 | 1 | |||||||||||
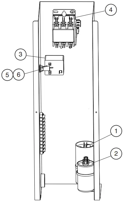
B. Control Box Assembly
SRK-10J
H-0 to M-0
| Title: B. Control Box Assembly Model: SRK-10J | ||||||||||||
| Index No. | Description | Material or Model Number | Part Number | Required Number | ||||||||
| H-0 to M-0 | ||||||||||||
| 1 | Start Capacitor | 145-174MFD, 220VAC | 3A0076-11 | 1 | ||||||||
| 2 | Run Capacitor | 30MFD, 370VAC | 3A2005-03 | 1 | ||||||||
| 3 | Start Relay | 4A1107-13 | 1 | |||||||||
| 4 | Magnetic Contactor | 4A0794-01 | 1 | |||||||||
| 5 | Fuse Holder | 4A5443-01 | 1 | |||||||||
| 6 | Fuse | AGC-10A, 250VAC | 4A0893-07 | 1 | ||||||||
C. Accessories & Labels
SRK-10J
H-0 to M-0
| Title: C. Accessories & Labels Model: SRK-10J | ||||||||||||
| Index No. | Description | Material or Model Number | Part Number | Required Number | ||||||||
| H-0 to M-0 | ||||||||||||
| 1 | Leg | 2A8580G01 | 2 | |||||||||
| 1a | Hex Bolt Assembly w/Washers | 8×20 | 7B0130820 | 8 | ||||||||
| 1b | Hex Nut | M8 | 7N11-0800 | 8 | ||||||||
















