107360
BRAIDED HOSE CONNECT
TWO HANDLE WIDESPREAD
BATHROOM FAUCETS
Image is for reference only.
Instruction Manual
107360 Two Handle Widespread Bathroom Faucets
You may need:

Cleaning and Care
Care should be given to the cleaning of this product. Although its finish is extremely durable, it can be damaged by harsh abrasives or polish. To clean, simply wipe gently with a damp cloth and blot dry with a soft towel.
INSTALLATION OF SPOUT
(Your install will be one of the steps below.)
Note: When drilling mounting holes for the spout it is recommended that the hole size must be a minimum of 1 1/8″ (29 mm). See picture B: Remove tee (1) from spout assembly by unthreading nut (3) and pulling straight down on tee.
A. Make sure gasket (1) is in place on bottom of spout. Insert spout assembly into mounting surface. Slip rubber washer and mounting washer (2) over spout shank and secure with nut (3).
B. Carefully push coupling tee (1) over o-rings and onto shank. Slip small washer (2) over end of shank and thread nut (3) onto end of shank. Tighten firmly but do not over tighten.
Remove the adhesive backing from the gasket and install into spout escucheon. Install escutcheon onto spout shank. Slide the spout shank through the mounting hole and install washer and nut onto the shank.
Tighten nut securely, but do not overtighten.
Install gasket (1) into the groove in the bottom of the spout escucheon (2). Slide the spout shank through the mounting hole and install washer and nut (3) onto the shank. Tighten nut securely, but do not overtighten.
NSTALLATION OF VALVE ASSEMBLIES & TRIM
Your install will be one of the steps below.
Note: When drilling holes for side valves, it is recommended that hole size must be a minimum of 1 1/8” (29 mm). Look for a blue label or dot on cold valve assembly and red label or dot on hot valve assembly and install them on appropriate side.
Assemble mounting parts to side valve (1); nut (2), washer (3), & gasket (4), making sure to screw nut down to near bottom of threads. Insert valve assembly into hole from underneath and screw on top adapter nut (5), tightening it firmly until it stops on valve thread. Place valve in desired position and tighten bottom nut (2) firmly. 
A. Place escutcheons over adapters. Thread nuts onto adapters and tighten, but do not overtighten.
B. Place spline adapters over valve stems and secure with screws.
HANDLE INSTALLATION (SOLD SEPARATELY)
Your install will be one of the steps below.
A. Make sure valve is in off position and place handle & body assembly (1) over end valve stem, being careful to align handle in direction desired. Screw handle & body assembly onto valve assembly by turning body portion clockwise. Tighten by hand only. Repeat steps for other valve.
B. If handles do not align, unscrew one or both handle & body assemblies and try assembling again after rotating handle slightly forward or backward until alignment is achieved.

NOTE: If handle alignment is still not satisfactory, remove one or both handle & body assemblies. Remove screw (1) that holds spline adapter (2) onto valve and lift spline adapter just enough so that it can be rotated one spline on inside of part.
Reassemble screw (1) and retry assembling handle & body. Repeat if necessary, moving spline adapter (2) forward or backward one spline at a time until desired handle direction is achieved.
Replace black guide rings with red/blue guide rings (included on some models) if desired or required. Make sure valve cartridge is in off position. Place handle over end valve spline and onto escutcheon. Make sure handle is properly seated over the spline. Repeat this step for the other handle. 
MAKE CONNECTIONS TO WATER LINES:
Connect inlet hoses (1) or an appropriate supply line (not supplied with faucet) to valve inlets as shown. Tighten nuts firmly with a wrench, but do not over tighten.
Choose hook-ups for 1/2″ I.P.S. connections:
(1) Ball nose riser (3/8″ O.D. copper tubing), or
(2) 1/2″ I.P.S. faucet connector.
Use coupling nuts (3) with ball nose risers (1). Use two wrenches when tightening.
Do not overtighten. 
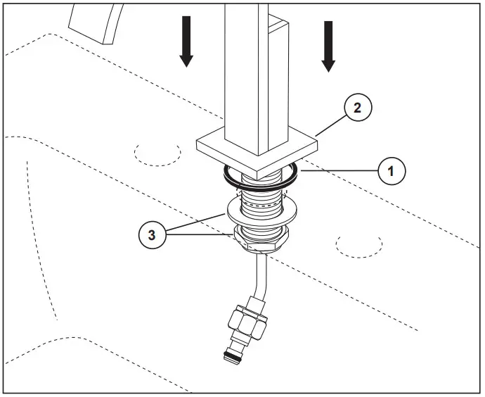
HOSE CONNECTION & FLUSH SYSTEM
Your install will be one of the steps below.
Connect coupling tee, washer & nut (1) to spout shank and secure. Connect outlet hoses to valve outlets (2). Turn on water supply (3) and faucet handle (4) to flush the cold water line, repeat for the hot water supply line. Shut off handles and connect the outlet hoses (2) to coupling tee.
Screw end valve adapters (1) and spout adapter (2) onto end valves and spout connections.
Snap the quick connect hose assembly (3) onto the end valve nipples (4) Pull moderately to ensure both connections have been made. Flush system into a bucket by slowing turning on the hot and cold water supply valves. After flushing, turn off water supplies and snap the quick connect hose (7) to spout nipple (8).
A. Attach hoses to valve assemblies, tighten securely. Turn on hot and cold water supplies (2) and flush water lines for one minute.
Important: This flushes away any debris that could cause damage to internal parts.
B. Install the quick connect hose assembly onto the fitting adapter and secure with clip.
METAL POP-UP
A. Remove stopper and flange. Screw nut all the way down. Push washer and gasket down.
Remove tailpiece from body, add plumber tape, replace tailpiece.
B. Remove pivot nut (1). Install horizontal rod (2) and stopper (3) as removable (4) or non-removable (5). Hand tighten pivot nut (1).
C. Apply silicone to underside of flange. Insert body into sink. Screw flange into body. Pivot must face faucet. Pull assembly down firmly and hold in place. DO NOT TWIST. Tighten nut/washer/gasket, clean off excess silicone. DO NOT TWIST.
D. Slide finial (1) into slot in rear of faucet (2). Insert lift rod (3) through guide hole underneth faucet and sink, hand tighten lift rod (3) into finial (1).
CHECK FOR LEAKS
Check all connections at arrows for leaks. Re-tighten if necessary, but do not overtighten.
Maintenance
If water flow from the faucet reduces over time, the flow regulator may have become partially blocked. To clean:
SHUT OFF WATER SUPPLIES.
Remove and clean filter (8). Clean flow regulator (1) using a small soft brush. If low flow still presists remove and replace areator or stream straightener.
If faucet leaks from spout outlet or under handle:
SHUT OFF WATER SUPPLIES.
Replace valve cartridge (7). Depending on type of handel, unscrew or pull up on handle (2) to remove. NOTE: It is best if you pull straight up on the handle. Remove screw (3) and spline adapter (4). Unthread nut (5) and remove.
Remove escutcheon (6). Remove cartridge (7) by turning it counterclockwise with a 17 mm or 11/16″ hex socket wrench. Install new cartridge and tighten firmly but do not over tighten. Reinstall other parts in reverse order.
MAINTENANCE
SHUT OFF WATER SUPPLIES BEFORE SERVICING FAUCET.
If water flow from the faucet reduces over time, the flow regulator or supply strainers may have become partially blocked. To clean:
A. Make sure that the handles are in the off position.
B. Unsnap hoses (1) by squeezing on the base of the black plastic connector and pulling off hoses.
C. Unscrew spout adapter (2). Once removed, locate the flow regulator (3) and check for any debris caught in the regulator. Use a small soft brush to remove any of the debris. Remove valve adapters (4), and then remove and clean strainers (5).
D. Reinstall regulator and adapters and make sure they are tightened. Reinstall hose assembly and pull moderately to ensure each connection has been made.
E. Turn on handles and check spout flow.
F. If low flow presists, remove and replace the stream straightener.
CLEANING
Care should be taken. Lay a cloth in sink to prevent loss of parts. Remove screw (1) from faucet using allen wrench (2) provided. Pull up and out to remove, disassemble chamber assembly (3), clean with vineger and water. Reassemble and install after cleaning.
Limited Warranty on Brizo® Faucets
Parts and Finish. All parts (other than electronic parts, air switch power modules, batteries, and parts not supplied by Brizo Kitchen and Bath Company) and finishes of Brizo® faucets purchased from authorized Brizo sellers are warranted to the original consumer purchaser to be free from defects in material and workmanship for as long as the original consumer purchaser owns the home in which the faucet was first installed. For commercial purchasers, (a) the warranty period is ten (10) years for multi-family residential applications and (b) five (5) years for all other commercial uses, in each case from the date of purchase. For purposes of this warranty, the term “multi-family residential application” refers to the purchase of the faucet from an authorized Brizo seller by a purchaser who owns but does not live in the residentialdwelling in which the faucet is initially installed, such as in a rented or leased single unit or multi-unit detached home (duplex or townhome), or a condominium, apartment building or community living center. The following installations are not considered multi-family residential applications, are excluded from the 10-year warranty, and are subject to the 5-year warranty: industrial, institutional or other business premises,such as a dormitory, hospitality premises (hotel, motel, or extended stay location), airport, educational facility, long- or short-term healthcare facility (hospital, rehabilitation center, nursing, assisted or staged-care living unit), public space or common area.
Electronic Parts and Batteries (if applicable). Electronic parts (other than air switch power modules and batteries), if any, in Brizo® faucets purchased from authorized Brizo sellers are warranted to the original consumer purchaser to be free from defects in material and workmanship for five (5) years from the date of purchase or, for commercial users, for one (1) year from the date of purchase. No warranty is provided on batteries.
Air Switch Power Module. The electronic power module of Brizo® air switches purchased from authorized Brizo sellers is warranted to the original consumer purchaser to be free from defects in material and workmanship for two (2) years from the date of purchase or, for commercial users, for one (1) year from the date of purchase.
What We Will Do. Brizo Kitchen & Bath Company will repair or replace, free of charge, during the applicable warranty period (as describedabove), any part or finish that proves defective in material and/or workmanship under normal installation, use, and service. Brizo Kitchen & Bath Company may, in its sole discretion, use new, refurbished or recertified parts or products for such repair or replacement. If repair or replacement is not practical, Brizo Kitchen & Bath Company may elect to refund the purchase price in exchange for the return of the product.
These are your exclusive remedies.
What Is Not Covered. Because Brizo Kitchen and Bath Company is unable to control the quality of Brizo products sold by unauthorized sellers, unless otherwise prohibited by law, this warranty does not cover Brizo products purchased from unauthorized sellers (visit Brizo.comto see a list of our Authorized Online Resellers).
Any labor charges incurred by the purchaser to repair, replace, install or remove this product are not covered by this warranty. Brizo Kitchen& Bath Company shall not be liable for any damage to the product resulting from reasonable wear and tear, outdoor use, misuse (includinguse of the product for an unintended application), freezing water, abuse, neglect, or improper or incorrectly performed assembly, installation,maintenance or repair, including failure to follow the applicable care and cleaning instructions. Customized components purchased by theconsumer or commercial user and installed into a Brizo product, and any damage resulting from removal or improper installation of suchcomponents, are not covered by this warranty.
Brizo Kitchen & Bath Company recommends using a professional plumber for all installation and repair of faucets. We also recommend that you use only genuine Brizo® replacement parts.
What You Must Do To Obtain Warranty Service or Replacement Parts. A warranty claim may be made and replacement parts may be obtained by calling 1-877-345-BRIZO (2749) or by contacting us by mail or online as follows (please include your model number and date of purchase):
| In the United States and Mexico: Brizo Kitchen & Bath Company 55 E. 111th Street Indianapolis, IN 46280 Attention: Warranty Service https://www.brizo.com/customer-support/contact-us | In Canada: Masco Canada Limited, Plumbing Group Technical Service Centre 350 South Edgeware Road St. Thomas, Ontario, Canada N5P 4L1 https://www.brizo.com/customer-support/contact-us |
Proof of purchase (original sales receipt) from the original purchaser must be made available to Brizo Kitchen & Bath Company for all warranty claims unless the purchaser has registered the product with Brizo Kitchen & Bath Company. This warranty applies only to Brizo® faucets installed in the United States of America, Canada, and Mexico.
Limitation on Duration of Implied Warranties. Please note that some states/provinces (including Quebec) do not allow limitations on how long an implied warranty lasts, so the below limitations may not apply to you. TO THE MAXIMUM EXTENT PERMITTED BY APPLICABLE LAW, ANY IMPLIED WARRANTY, INCLUDING THE IMPLIED WARRANTIES OF MERCHANTABILITY AND OF FITNESS FOR A PARTICULAR PURPOSE, IS LIMITED TO THE STATUTORY PERIOD OR THE DURATION OF THIS WARRANTY, WHICHEVER IS SHORTER.
Limitation of Special, Incidental or Consequential Damages. Please note that some states/provinces (including Quebec) do not allow the exclusion or limitation of special, incidental, or consequential damages, so the below limitations and exclusions may not apply to you.
TO THE MAXIMUM EXTENT PERMITTED BY APPLICABLE LAW, THIS WARRANTY DOES NOT COVER, AND BRIZO KITCHEN & BATH COMPANY SHALL NOT BE LIABLE FOR ANY SPECIAL, INCIDENTAL, OR CONSEQUENTIAL DAMAGES (INCLUDING LABOR CHARGES TO REPAIR, REPLACE, INSTALL OR REMOVE THIS PRODUCT), WHETHER ARISING OUT OF BREACH OF ANY EXPRESS OR IMPLIED WARRANTY, BREACH OF CONTRACT,
TORT, OR OTHERWISE. BRIZO KITCHEN & BATH COMPANY SHALL NOT BE LIABLE FOR ANY DAMAGE TO THE FAUCET RESULTING FROM REASONABLE WEAR AND TEAR, OUTDOOR USE, MISUSE (INCLUDING USE OF THE PRODUCT FOR AN UNINTENDED APPLICATION, FREEZING
WATER, ABUSE, NEGLECT OR IMPROPER OR INCORRECTLY PERFORMED ASSEMBLY, INSTALLATION, MAINTENANCE OR REPAIR, INCLUDING
FAILURE TO FOLLOW THE APPLICABLE INSTALLATION, CARE AND CLEANING INSTRUCTIONS. Notice to residents of the State of New Jersey:
The provisions of this warranty, including its limitations, are intended to apply to the fullest extent permitted by the laws of the State of New Jersey.
Additional Rights. This warranty gives you specific legal rights, and you may also have other rights which vary from state/province to state/province.
This is Brizo Kitchen & Bath
Company’s exclusive written warranty, and the warranty is not transferable.
If you have any questions or concerns regarding our warranty, please contact us as provided above or visit our website at www.brizo.com.
Model Number: ____________________
To find model number, look on the water line label underneath sink.
Date of Purchase: ____________________
Register Online
www.brizo.com/customer-support/product-registration
To reference replacement parts and access additional technical documents and product info, visit www.brizo.com
1-877-345-BRIZO (2749)
www.brizo.com/customer-support
Read all instructions prior to installation.
CAUTION
Failure to read these instructions prior to installation may result in personal injury, property damage, or product failure. Manufacturer assumes no responsibility for product failure due to improper installation.
© 2022 Masco Corporation of Indiana







