DELTA Two Handle Widespread Bathroom Faucets User Manual


Image is for reference only.
Register Online
www.deltafaucet.com/registerme
To reference replacement parts and access additional technical documents and product info, visit www.deltafaucet.com
1-800-345-3358
[email protected]
Read all instructions prior to installation.
CAUTION
Failure to read these instructions prior to installation may result in personal injury, property damage, or product failure. Manufacturer assumes no responsibility for product failure due to improper installation.
You may need:

Cleaning and Care
Care should be given to the cleaning of this product. Although its finish is extremely durable, it can be damaged by harsh abrasives or polish. To clean, simply wipe gently with a damp cloth and blot dry with a soft towel.


CONNECT TO WATER SUPPLIES.
(HOOK-UPS NOT PROVIDED).
Turn on hot and cold water supplies and flush water lines into a container for one minute. Important: This flushes away any debris that could cause damage to internal parts.
Choose hook-ups for 1/2″ I.P.S. connections: (1) Ball nose riser (3/8″ O.D. copper tubing), or (2) 1/2″ I.P.S. faucet connector. Use coupling nuts (3) (not supplied) with the ball nose risers (1). Use two wrenches when tightening. Do not overtighten.

Install Pop-Up Assembly
A. Remove head (1) and nut, washer, black seal (2) from body (3).
B. Apply silicone sealant to underside of flange (1). Insert body (2) into sink.
C. Apply silicone grease to the inside diameter of the black seal (1) and threads on body (2) and assemble. Install nut (3) and hand tighten to the sink. Insert head (4) into body.
D. Connect assembly to drain (1).

Plastic Pop-Up
A. Remove stopper (1) and flange (2). Screw nut (3) all the way down. Push black gasket (4) down.
B. Apply silicone to underside of flange (1). Insert body (2) into sink. Screw flange onto body. Pivot hole (3) must face back of sink. Pull assembly down firmly and hold in place. DO NOT TWIST. Tighten nut (4), remove excess sealant .
C. Remove pivot nut (1). Install horizontal rod (2) and stopper (3) as removable (4) or non-removable (5). Hand tighten nut (1). Gaskets (6) only required if supplied .
D. Attach horizontal rod (1) to strap (2) using clip (3). Install lift rod (4), tighten screw (5). Connect assembly to drain (6) .

FLUSH SYSTEM/CHECK FOR LEAKS.
Remove aerator (1) using supplied wrench (2) or coin and turn faucet handles (3) to the full on mixed position. Turn on hot and cold water supplies (4) and flush water lines for one minute.
Important: This flushes away any debris that could cause damage to internal parts.
Check all connections at arrows for leaks. Re-tighten if necessary, but do not overtighten. Replace aerator.

Maintenance
SHUT OFF WATER SUPPLIES
NOTE: Remove handles by hand turning handle base counterclockwise.
If faucet exhibits very low flow:
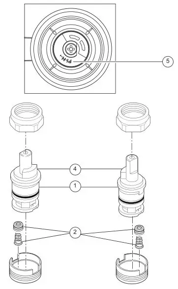
Replace Stem Unit Assembly (1) and Seats and Springs (2)*.
If faucet exhibits very low flow:
A. Remove and clean Aerator (3), or
B. Clean Seats and Springs (2) of any debris.
*Install stems (1) correctly for proper handle rotation:
Note:
1. The stops (4) must point to the center of the faucet for proper handle rotation.
2. Replace handle properly. Be sure the handle with “H” mark (5) to be installed onto the left and the handle with “C” mark onto the right.
Limited Warranty on Delta ® Faucets
Parts and Finish. All parts (other than electronic parts and batteries) and finishes of Delta ® faucets purchased from authorized Delta sellers are warranted to the original consumer purchaser to be free from defects in material and workmanship for as long as the original consumer purchaser owns the home in which the faucet was first installed. For commercial purchasers, (a) the warranty period is ten (10) years for multi-family residential applications and (b) five (5) years for all other commercial applications, in each case from the date of original purchase. For purposes of this warranty, the term “multi-family residential application” refers to the purchase of the faucet from an authorized Delta seller by a purchaser who owns but does not live in the residential dwelling in which the faucet is initially installed, such as in a rented or leased single unit or multi-unit detached home (duplex or townhome), or a condominium, apartment building or community living center. The following installations are not considered multi-family residential applications, are excluded from the 10-year warranty and are subject to the 5-year warranty: industrial, institutional or other business premises, such as a dormitory, hospitality premises (hotel, motel or extended stay location), airport, educational facility, long- or short-term healthcare facility (hospital, rehabilitation center, nursing, assisted or staged-care living unit), public space or common area.
Parts and Finish for Delta ® Recertified Faucets. Delta Faucet Company offers for sale on deltafaucet.com Delta ® Recertified faucets. All parts (other than electronic parts and batteries) and finishes of these Delta ® Recertified faucets are warranted to the original consumer purchaser to be free from defects in material and workmanship for ten (10) years from the date of original purchase. For commercial purchasers, the warranty period is one (1) year from the date of original purchase.
Electronic Parts. Electronic parts (other than batteries), if any, of Delta ® faucets purchased from deltafaucet.com or authorized Delta sellers are warranted to the original consumer purchaser to be free from defects in material and workmanship for five (5) years from the date of original purchase or, for commercial purchasers, for one (1) year from the date of original purchase. No warranty is provided on batteries.
What We Will Do. Delta Faucet Company will repair or replace, free of charge, during the applicable warranty period (as described above), any part or finish that proves defective in material and/or workmanship under normal installation, use and service. If repair or replacement is not practical, Delta Faucet Company may elect to refund the purchase price in exchange for the return of the product. These are your exclusive remedies.
What Is Not Covered. Because Delta Faucet Company is unable to control the quality of Delta products sold by unauthorized sellers, unless otherwise prohibited by law, this warranty does not cover Delta products purchased from unauthorized sellers.
Any labor charges incurred by the purchaser to repair, replace, install or remove this product are not covered by this warranty. Delta Faucet Company shall not be liable for any damage to the faucet resulting from reasonable wear and tear, outdoor use, misuse (including use of the product for an unintended application), freezing water, abuse, neglect or improper or incorrectly performed installation, maintenance or repair, including failure to follow the applicable care and cleaning instructions. Delta Faucet Company recommends using a professional plumber for all installation and repair of faucets. We also recommend that you use only genuine Delta ® replacement parts.
What You Must Do To Obtain Warranty Service or Replacement Parts. A warranty claim may be made and replacement parts may be obtained by calling 1 800 345 DELTA (3358) or by contacting us by mail or online as follows (please include your model number and date of original purchase):
In the United States and Mexico:
Delta Faucet Company
Product Service
55 E. 111th Street
Indianapolis, IN 46280
Attention: Customer Solutions
www.deltafaucet.com/service-parts/contact-us
In Canada:
Masco Canada Limited, Plumbing Group
Technical Service Centre
350 South Edgeware Road
St. Thomas, Ontario, Canada N5P 4L1
Attention: Customer Service
http://www.deltafaucet.ca/customersupport/assistance.html
Proof of purchase (original sales receipt) from the original purchaser must be made available to Delta Faucet Company for all warranty claims unless the purchaser has registered the product with Delta Faucet Company or the product is a Delta ® Recertified product purchased from deltafaucet.com. This warranty applies only to Delta ® faucets manufactured after January 1, 2019 and installed in the United States of America, Canada and Mexico.
Limitation on Duration of Implied Warranties. Please note that some states/provinces (including Quebec) do not allow limitations on how long an implied warranty lasts, so the below limitations may not apply to you. TO THE MAXIMUM EXTENT PERMITTED BY APPLICABLE LAW, ANY IMPLIED WARRANTY, INCLUDING THE IMPLIED WARRANTIES OF MERCHANTABILITY AND OF FITNESS FOR A PARTICULAR PURPOSE, IS LIMITED TO THE STATUTORY PERIOD OR THE DURATION OF THIS WARRANTY, WHICHEVER IS SHORTER.
Limitation of Special, Incidental or Consequential Damages. Please note that some states/provinces (including Quebec) do not allow the exclusion or limitation of special, incidental or consequential damages, so the below limitations and exclusions may not apply to you. TO THE MAXIMUM EXTENT PERMITTED BY APPLICABLE LAW, THIS WARRANTY DOES NOT COVER, AND DELTA FAUCET COMPANY SHALL NOT BE LIABLE FOR, ANY SPECIAL, INCIDENTAL OR CONSEQUENTIAL DAMAGES (INCLUDING LABOR CHARGES TO REPAIR, REPLACE, INSTALL OR REMOVE THIS PRODUCT), WHETHER ARISING OUT OF BREACH OF ANY EXPRESS OR IMPLIED WARRANTY, BREACH OF CONTRACT, TORT, OR OTHERWISE. DELTA FAUCET COMPANY SHALL NOT BE LIABLE FOR ANY DAMAGE TO THE FAUCET RESULTING FROM REASONABLE WEAR AND TEAR, OUTDOOR USE, MISUSE (INCLUDING USE OF THE PRODUCT FOR AN UNINTENDED APPLICATION), FREEZING WATER, ABUSE, NEGLECT OR IMPROPER OR INCORRECTLY PERFORMED INSTALLATION, MAINTENANCE OR REPAIR, INCLUDING FAILURE TO FOLLOW THE APPLICABLE INSTALLATION, CARE AND CLEANING INSTRUCTIONS. Notice to residents of the State of New Jersey: The provisions of this warranty, including its limitations, are intended to apply to the fullest extent permitted by the laws of the State of New Jersey.
Additional Rights. This warranty gives you specific legal rights, and you may also have other rights which vary from state/province to state/province.
This is Delta Faucet Company’s exclusive written warranty and the warranty is not transferable.
If you have any questions or concerns regarding our warranty, please contact us as provided above or view our Warranty FAQs at www.deltafaucet.com.
© 2020 Delta Faucet Company













