BT IPD Multisensor True Presence
User Manual
Multisensor True Presence BT IPD
Multisensor Air BT IPD![]()
About this document
– Under copyright. Reproduction either in whole or in part only with our consent.
– Subject to change in the interest of technical progress.
Hazard warning!
Warning of hazards from electricity!
Warning of hazards from water!
General safety precautions
Failure to observe these operating instructions presents hazards!
These instructions contain important information on the safe use of this product. Particular attention is drawn to potential hazards. Failure to observe this information may lead to death or serious injuries.
• Read instructions carefully.
• Follow safety advice.
• Keep instructions within easy reach.
– Working with electrical current may produce hazardous situations. Touching live parts can result in electrical shock, burns or death.
– Work on mains voltage must only be performed by qualified, skilled personnel.
– National wiring regulations and electrical operating conditions must be observed (e.g. D: VDE 0100, A: ÖVE-ÖNORM E8001-1, CH: SEV 1000).
– Only use genuine replacement parts.
– Repairs must only be carried out by companies qualified to do so.
System description
Proper use
– Multisensor.
– With motion detection (True Presence).
– Without motion detection (Air).
– Ceiling mounting indoors.
– Bluetooth networking.
– AP version for surface mounting.
– UP version for flush mounting.
Multisensor variants
– Multisensor True Presence BT IPD.
– Multisensor Air BT IPD without presence detection.
– Both variants are available as a surface-mounted version (AP) or flush-mounted version (UP).
Multisensor
The multisensor can detect the following sensor variables:
– Presence (only Multisensor True Presence BT IPD).
– Brightness.
– Room temperature.
– Humidity.
– Air pressure.
– CO2
– VOCs (volatile organic compounds).
– Noise level.
How presence detection works
– The presence and absence of people is detected by sensing micro-movements.
– The detection range can be precisely limited via an app.
This makes it ideal for use in offices and schools.
For special applications, for example on cruise ships or in hotels, please contact STEINEL Vertrieb GmbH directly so that we can jointly realise optimal integration of the
sensors.
Bluetooth networking
– The sensors can be networked via Connect Bluetooth Mesh.
– The sensor variables are forwarded via Bluetooth. Control takes place in the networked sensor with a corresponding interface or a control panel.
– The Multisensor True Presence BT IPD can also be networked with other sensors via Bluetooth to extend the detection range.
Scope of delivery – flush-mounted version
– 1 Multisensor
– 1 Safety data sheet (A)
– 1 Quick Start Guide (B)
Scope of delivery – surface-mounted version
– 1 Multisensor
– 1 Sicherheitsdatenblatt (A)
– 1 Quick-Start-Guide (B)
Product dimensions – flush-mounted version
Product dimensions – surface-mounted version
Device overview – flush-mounted version
A Lastmodul
B Anschlussklemme
C Sensormodul
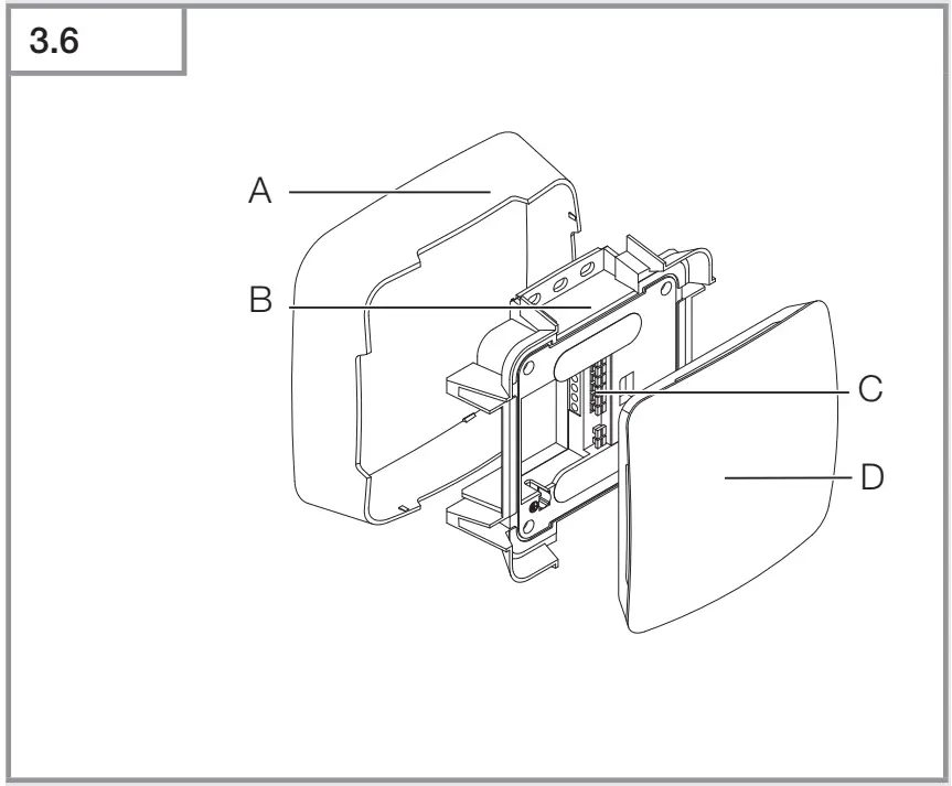
Device overview – surface-mounted version
A Surface-mounting adapter
B Load module
C Terminal
D Sensor module
Detection range
Electrical connection
The power supply line consists of a 2- or 3-core cable:
L = phase conductor (usually black, brown or grey)
N = neutral conductor (usually blue)
PE = protective-earth conductor (green/yellow)
The device can also be connected to the power supply downstream of a mains switch if it is ensured that the mains switch is left ON all the time.
Installation
Hazard from electrical power.
Touching live parts can result in electrical shock, burns or death.
- Switch OFF power and interrupt power supply.
- Using a voltage tester, check to make sure that the power supply is disconnected.
- Make sure power supply remains interrupted.
Risk of damage to property!
Mixing up connection leads may produce a short circuit.
- Identify connection leads.
- Connect the leads correctly.
Preparing for installation
- Check all components for damage. Do not use the product if it is damaged.
- Select an appropriate site to install the product.
– Take range into consideration.
– Take motion detection into consideration.
– Vibration-free.
– No obstacles in detection zone.
– Not in explosive atmospheres.
– Not on normally flammable surfaces.
Installation steps – flush-mounted version 
- Prüfen, dass die Spannungs zufuhr abgeschaltet ist.
- Netzanschluss vornehmen.
➔ „4. Elektrischer Anschluss“
- Screw load module into place on mounting box.

- Magnetisches Sensormodul auf Lastmodul aufsetzen.
- Stromversorgung einschalten.
➔ „6. Funktion“
Installation steps – surface-mounted version
- Check that power supply is switched off.
- Mark drill holes.

- Drill holes (ø 6 mm) and insert dowels.

- Pull cable through.
- Screw on load module.

- Connect load module to the mains power supply.
➔ “4. Electrical connection”
- Break out mounting tab.
- Fit surface-mounting adapter.

- Fit magnetic sensor module.
- Switch on power supply
- Make settings.
➔ “6. Function”
Function
Factory settings
The factory settings are activated when the multisensor is operated for the first time and when it is reset by the app.
The following factory settings are provided:
True Presence detection setting:
True Presence height 2.6 m
True Presence radius 3.5 m
Scenario 7
True Presence scenario:
Note: The parameter description can be found at: www.steinel.de
Steinel Connect App
To read out the sensor values with a smartphone or tablet, it is necessary to download the STEINEL Connect App from your AppStore. A Bluetooth-enabled smartphone or tablet is required.
![]() | ![]() |
| https://play.google.com/store/apps/details?id=de.steinel.connect | https://apps.apple.com/app/id1560401907 |
Functions in connection with the Steinel Connect app:
– Setting the detection range.
– Displaying the current sensor values.
– Networking the sensor.
Start-up: LED flashes blue rapidly for 30 seconds.
Initialisation: LED lights up blue continuously.
Normal operation: LED off.
Identification: LED flashes blue slowly.
Firmware update: LED flashes cyan rapidly.
Error: LED flashes red rapidly.
Initial operation with the Steinel Connect app
The sensor is configured via the Steinel Connect app.
The corresponding network keys are stored on the smartphone or tablet when the sensor and Steinel
Connect app are connected for the first time.
The keys prevent unauthorised access to the sensor.
The network key must be shared for access via another smartphone or tablet.
True Presence BT IPD detection setting
• Set the range via the Steinel Connect app.
Initial operation of the True Presence BT IPD
During initial operation, the multisensor creates an image of the room.
During this process, the room must be free of movement for 2 to 2.5 minutes.
The process is complete when the blue LED goes out.
True Presence BT IPD detection setting
The range can be set via the parameters installation height, radius and scenario.
Scenario 9:
Small office, quiet workplace
This scenario offers maximum sensitivity. To avoid undesired switching, this scenario should preferably be used for small areas.
Scenario 8:
Large office, quiet workplace
Like scenario 9, but with slightly reduced sensitivity.
Also suitable for large areas.
Scenario 7:
Large office, large entrance area
Like scenario 8, but with further reduced sensitivity.
Scenario 6:
Hotel room, room with persons sleeping
This scenario also offers maximum sensitivity.
In addition, signal processing is optimised to reliably detect the presence of persons sleeping.
Scenario 5:
Hotel room, room with persons sleeping
Like scenario 6, but with further reduced sensitivity.
Scenario 4:
Noisy workplace, light industry, hall
Vibrations can retrigger the sensor. This can lead to longer stay-ON times in scenario 7-9. Scenario 4 works more robustly.
Scenario 3:
Noisy workplace, light industry, hall
Like scenario 4, but with further reduced sensitivity.
Scenario 2:
Very noisy environment, heavy industry
This scenario should be used if there are major vibrations or if there are sources of electrical interference.
The True Presence function is not available, the sensor functions as a conventional presence detector.
Scenario 1:
Very noisy environment, heavy industry
Like scenario 2, but with further reduced sensitivity.
Maintenance and care
The device requires no maintenance.
Hazard from electrical power.
Contact between water and live parts can result in electric shock, burns or death.
- Only clean device in a dry state.
Risk of damage to property!
Using the wrong cleaning product can damage the device.
- Clean device with a moist cloth without detergent.
Disposal
Electrical and electronic equipment, accessories and packaging must be recycled in an environmentally compatible manner.
Do not dispose of electrical and electronic equipment as domestic waste.
EU countries only:
Under the current European Directive on Waste Electrical and Electronic Equipment and its implementation in national law, electrical and electronic equipment no longer suitable for use must be collected separately and recycled in an environmentally compatible manner.
Declaration of Conformity
STEINEL Vertrieb GmbH hereby declares that the radio equipment Multisensor True Presence BT IPD/Multisensor Air BT IPD complies with Directive 2014/53/EU.
The full wording of the EU Declaration of Conformity is available for downloading from the following Internet address: www.steinel.de
Manufacturer’s warranty
As purchaser, you are entitled to your statutory rights against the vendor. If these rights exist in your country, they are neither curtailed nor restricted by our Warranty Declaration. We guarantee that your STEINEL Professional sensor product will remain in perfect condition and proper working order for a period of 5 years. We guarantee that this product is free from material-, manufacturing- and design flaws. In addition, we guarantee that all electronic components and cables function in the proper manner
and that all materials used and their surfaces are without defects.
Making Claims
If you wish to make a claim, please send your product complete and carriage paid with the original receipt of purchase, which must show the date of purchase and product designation, either to your retailer or contact us at STEINEL (UK) Limited, 25 Manasty Road, Axis Park, Orton Southgate, Peterborough, PE2 6UP, for a returns number. For this reason, we recommend that you keep your receipt of purchase in a safe place until the warranty period expires. STEINEL shall assume no liability for the costs or risks involved in returning a product.
For information on making claims under the terms of the warranty, please go to www.steinel-professional.de/garantie
If you have a warranty claim or would like to ask any question regarding your product, you are welcome to call us at any time on our Service Hotline 01733 366700.
5 HERSTELLER GARANTIE
Technical specifications
| – Dimensions (H × W × D): | Flush-mounted: 123 × 123 × 51 mm Surface-mounted: 142 × 142 × 45 mm |
| – Supply voltage: | 220 – 240 ~V / 50/60 Hz |
| – Power consumption: | < 1 W |
| – Installation height: | 2.8 – 12 m |
| – Detection angle: | 360° |
| – Multisensor True Presence BT IPD max.: | Ø 9 m (up to max. installation height 4 m) Ø 15 m presence Ø 15 m movement (adjustable to within one centimetre) |
| – Ambient temperature: | 0 °C to +50 °C |
| – Protection class: | IP 20 |
| – Frequency, Bluetooth: | 2.4 – 2.48 GHz |
| – Transmission power, Bluetooth: | 4 dBm / 2.5 mW |
| – Transmission power, UWB: | ≤ -41 dBm/MHz |
| – Frequency, True Presence: | 7.2 GHz (responds to micro-movements of vital functions). |
| Sensor values: | |
| – Light measurement: | 2 – 2,000 Lux |
| – Temperature: | 0 – 40 °C |
| – Relative humidity: | 0 – 100% |
| – CO2 | 400 – 10,000 ppm |
| – VOC: | 0 – 1,000 ppm |
| – Air pressure: | 300 – 1,200 mbar |
| – Noise level: | 0 – 120 dB |
Troubleshooting
Sensor transmits an unwanted motion signal.
– Interference factor, e.g. fan, air conditioner or other moving parts in the detection range.
• Reorganise or cover area, increase distance.
– Animals moving within the detection range.
• Reorganise or cover area.
– People are detected through thin walls in the neighbouring room.
• Reduce range of sensor.
– Wind moves paper or plants in the detection area.
• Reorganise area.
– Sensor near WiFi or other radio source.
• Install at least 2 m away from the radio source.
Sensor reacts late to motion.
– Excessive distance to the sensor.
• Install more sensors.
• Optimise sensor positioning.
– Range setting too low.
• Adjust range.
Temperature value inaccurate.
– Adjustment required.
• Enter correction value via sensor settings.
Sensor does not connect to the app.
– App or smartphone crashes.
• Restart mobile device.
STEINEL Vertrieb GmbH
Dieselstraße 80-84 33442
Herzebrock-Clarholz
Tel: +49/5245/448-188
www.steinel.de
Contact
www.steinel.de/contact
110085714 01/2022
Subject to technical change.



























