Steinel True Presence Hallway COM1/COM2/BT IPD Instructions

About this document
- Please read carefully and keep in a safe place.
- Under copyright.
Reproduction either in whole or in part only with our consent. - Subject to change in the interest of technical progress.
General safety precautions
Disconnect the power supply before attempting any work on the sensor.
• During installation, the electric power cable being connected must not be live. Therefore, switch off the power first and use a voltage tester to make sure the wiring is off-circuit.
• Installing the sensor involves work on the mains power supply. This work must therefore be carried out professionally in accordance with national wiring regulations and electri-cal operating conditions.
• Only use genuine replacement parts.
• Repairs may only be made by spe- cialist workshops.
• Terminal B1/B0 is a switching contact for low-energy circuits, no more than 1 A. This must be protected by a fuse of the appropriate rating.
True Presence® COM1/COM2/BT IPD Hallway COM1/COM2/BT IPD







Proper use
– Sensor for ceiling mounting indoors.
Sensor-switched types
– True Presence
– Hallway
The True Presence sensor is a high- frequency sensor. It reliably identifies human presence and absence by detect-ing micro-movements. The detection zone can be defined with absolute precision via app.
The Hallway Sensor is a high-frequency sensor with a perfect detection zone for corridors. The detection zone can be adjusted in both directions via app.
Interface types
COM1: relay 1
COM2: relay 1 and relay 2 (for HVAC: heating/ventilation/ air-conditioning)
BT IPD: no relay/no control
The COM1 and COM2 versions switch loads ON and OFF. Signals are pro-cessed and sent out.
The BT IPD version can be interconnect-ed with other sensors via Bluetooth to extend the detection zone. It passes on the detected signals (presence and light level) via Bluetooth. This is controlled
in the sensor interconnected with other interface.
UP: concealed version
AP: surface-mounted version
Cable length between sensor and button < 50 m.
Package contents (Fig. 3.1, Fig. 3.4, Fig. 3.7, Fig. 3.10)
Product dimensions (Fig. 3.2, Fig. 3.5, Fig. 3.8, Fig. 3.11)
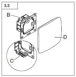
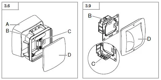
Product components (Fig. 3.3, Fig. 3.6, Fig. 3.9, Fig. 3.12)
A Surface-mounting adapter
B Load module
C Connecting terminal
D Sensor module
True Presence detection zone (Fig. 3.13)
Hallway detection zone (Fig. 3.14)
Electrical connection






The mains supply lead is a multiple-core cable (max. conductor Ø 2.5 mm):
L= Phase conductor (usually black or brown)
N= Neutral conductor (usually blue)
PE= Protective-earth conductor (usually green/yellow)
= Switched phase conductor (usually black, brown or grey)
S= Switch
B0/B1 = Floating relay for controlling HVAC
mportant: Incorrectly wired connections will produce a short circuit later on in the product or fuse box. In this case, you must identify the individual cables and re-connect them.
Connect the mains power supply lead COM1
(Fig. 4.1/4.4/4.7)
Connect the mains power supply lead COM2
(Fig. 4.2/4.5/4.8)
Connecting the BT IPD mains power supply lead
(Fig. 4.3/4.6/4.9)
Installation






- Check all components for damage.
- Do not use the product if it is damaged.
- Select an appropriate mounting loca-tion, taking the reach and presence detection into consideration.
Mounting procedure
- Switch off power supply (Fig. 4.1/4.2/4.3)
Concealed mounting - Connect to mains power supply.
(Fig. 5.1) - Fit load module and screw into place. (Fig. 5.2)
- Fit magnetic sensor module. (Fig. 5.3)
- Switch ON power supply.
Surface mounting - Mark drill holes and drill. (Fig. 5.4)
- Screw load module into place. (Fig. 5.5)
- Connect to mains power supply. (Fig. 5.6)
- Fit surface-mounting adapter. (Fig. 5.7)
- Fit magnetic sensor module. (Fig. 5.8)
- Switch ON power supply.
- Make settings. (➜ “6. Function and settings”)
Function and settings
Factory settings
The factory settings are activated when the presence detector is put into operation for the first time as well as after resetting by the app.
The following factory settings are provided:
Setting True Presence detection:
True Presence height 2.6 m
True Presence radius 3.5 m
True Presence scenario : Scenario 7
Setting Hallway detection:
Reach S, Hallway: 100 %
Reach L, Hallway: 100 %
Sensitivity S, Hallway: 100 %
Sensitivity L, Hallway : 100 %
COM1/COM2 only:
Twilight setting: 500 lux
Time setting, Hallway COM1: 5 min
Time setting, True Presence COM1: 40 s
Time setting, HVAC: 15 min
Fully / semi-automatic mode: fully
automatic
Switch-ON delays, HVAC: OFF
First time of using True Presence
During initial commissioning, the pres-ence detector creates a room image. The room must be free of movement for 2 to 2.5 minutes for this.
The process is completed when the white LED goes out.
Setting True Presence detection
The reach can be set via the mounting height, radius and scenario parameters. Scenario 9:
Small office, quiet workplace This scenario features maximum sensitivity. To prevent undesired switching, it should be used for small areas.
Scenario 8:
Large office, quiet workplace As per scenario 9, but with a slightly reduced sensitivity. Also suitable for large areas.
Scenario 7:
Large office, large entrance area As scenario 8, but with a further reduced sensitivity.
Scenario 6:
Hotel room, room with persons sleeping This scenario also provides maximum sensitivity. In addition, signal process-ing has been optimised to reliably detect the presence of persons sleeping.
Scenario 5:
Hotel room, room with persons sleeping As scenario 6, but with a further reduced sensitivity.
Scenario 4:
Noisy workspace, light industry, hallways. The sensor can be triggered by vibrations. In scenarios 7-9, this may lead to longer stay-ON times. Scenario 4 is more robust in the way it works.
Scenario 3:
Noisy workspace, light industry, hallways As scenario 4, but with a further reduced sensitivity.
Scenario 2:
Very noisy environments, heavy industry This scenario should be used if there are larger vibrations or if there are sources of electrical interference. The True Presence function is not available, the sensor functions as a conventional presence detector.
Scenario 1:
Very noisy environments, heavy industry. As scenario 2, but with a further reduced sensitivity.
Setting Hallway detection
Reach can be set separately for both directions via Smart Remote app The Steinel logo on the sensor indicates the direction. (Fig. 6.1)
- The reach shown by “S” points to the direction in which the S in the Steinel logo points.
- The reach shown by “L” points to the direction in which the L in the Steinel logo points.
- Setting reach via: Smart Remote app
Bluetooth grouping
The sensors can be operated a individual sensor or as a group. The group is inter-connected via wireless communication. In each group, a group master must be defined in the Smart Remote app. All sensors in a group operate in the same way as the group master is configured. Reach can be set individually for all lights in the lighting group.
The COM1 and COM2 versions additionally provide the following functions:
Twilight setting
The chosen response threshold can be set from approx. 2 to 2000 lux.
Daytime operation
When movement is detected, the sensor switches the load ON irrespective of ambient brightness.
Teach-IN
The Teach-IN function is to be selected at the level of light at which you want the sensor to respond to movement from now on. The level of ambient brightness measured in this way will be saved after 10 seconds. The load is deactivated during this period.
Time setting
The chosen stay-ON time can be set from a minimum of 30 seconds (True Presence) / 10 seconds (Hallway) up to a maximum of 60 minutes. When the response threshold is exceeded, the sensor switches OFF after the stay-ON time expires.
Neighbouring-light function
The neighbouring-light function can be activated and deactivated via the Smart Remote app. This function assigns the neighbouring groups to the active sensor group. The active group responds to activation signals from the neighbouring group assigned to it and switches to main light as defined in the settings.
Operating mode
Semi-automatic mode
The light now only switches OFF auto-matically. Light is switched ON manually. Light must be requested using the button and stays ON for the time set.
Fully automatic mode
The light automatically switches ON and OFF in relation to light level when some-one is present. Light can be switched ON and OFF manually at any time.
This temporarily interrupts the automatic switching function.
Presentation mode
If input S is used in fully automatic mode with load activated, the sensor will activate presentation mode. The load remains switched OFF as long as movement is being detected. As soon as movement is no longer being detected and the stay-ON time has elapsed, the sensor returns to normal sensor mode.
Button input
Tells the sensor how to interpret incoming signal S. Assigning external buttons allows you to operate the detector as a semi-auto- matic unit and override it manually at any time. SOUND or SOUND/OFF describes the behaviour after actuating the button. In the ON-OFF setting, the light can be switched ON and OFF manually at any time. In the SOUND setting, light can no longer be switched OFF manually. The stay-ON time starts from the beginning again each time the switch is pressed.
IQ mode
The stay-ON time is self-learning and adjusts dynamically to user behaviour. The optimum time cycle is determined by means of a learning algorithm. The shortest time is 5 minutes, the longest time 20 minutes.
Hallway pulse mode
The pulse function activates the output for 2 seconds (e.g. for staircase lighting time switches). The sensor will then be in a dead time for 8 seconds.
Smart Remote app
To read off the sensor via smartphone or tablet, you must download the STEINEL Smart Remote app from your app store. You will need a Bluetooth-capable smart-phone or tablet.
LED function
Initialisation: LED flashes blue Normal mode: LED off
Bluetooth connection active: LED is flashes slowly in blue
Hallway test mode, movement: LED permanently lights up green
Hallway movement test mode no movement: LED permanently lights up red
True Presence calibration process: LED permanently lights up white
Maintenance and care
The product requires no maintenance. The sensor can be cleaned with a damp cloth (without detergents) if dirty.
Disposal
Electrical and electronic equipment, acces-sories and packaging must be recycled in an environmentally compatible manner.
Do not dispose of electrical and electronic equipment as domestic waste.
EU countries only
Under the current European Directive on Waste Electrical and Electronic Equip-ment and its implementation in national law, electrical and electronic equipment no longer suitable for use must be collected separately and recycled in an environmentally compatible manner.
Conformity
STEINEL Vertrieb GmbH hereby declares that the True Presence COM1/COM2/ BT IPD / Hallway COM1/COM2/BT IPD radio equipment type conforms to Directive 2014/53/EU. The full wording of the EU Declaration of Conformity is available for downloading from the fol-lowing Internet address: www.steinel.de
Manufacturer’s Warranty
As purchaser, you are entitled to your statutory rights against the vendor. If these rights exist in your country, they are neither curtailed nor restricted by our Warranty Declaration. We guarantee that your STEINEL Professional sensor product will remain in perfect condition and proper working order for a period of 5 years. We guarantee that this product is free from material-, manufacturing- and design flaws. In addition, we guarantee that all electronic components and cables function in the proper manner and that all materials used and their surfaces are without defects.
Making Claims
If you wish to make a claim, please send your product complete and carriage paid with the original receipt of purchase, which must show the date of purchase and product designation, either to your retailer or contact us at STEINEL (UK) Limited, 25 Manasty Road, Axis Park, Orton Southgate, Peterborough, PE2 6UP, for a returns number. For this rea-son, we recommend that you keep your receipt of purchase in a safe place until the warranty period expires. STEINEL shall assume no liability for the costs or risks involved in returning a product.
For information on making claims under the terms of the warranty, please go to www.steinel-professional.de/garantie
If you have a warranty claim or would like to ask any question regarding your product, you are welcome to call us
at any time on our Service Hotline 01733 366700.
Technical specifications
| 11. Technical specifications | |
| Dimensions (L × D × H in mm) | True Presence UP: 103 × 103 × 50 True Presence AP: 123 × 123 × 45 Hallway UP: 103 × 103 × 66.5 Hallway AP: 123 × 123 × 62 |
| Input voltage | 220-240 V, 50 / 60 Hz |
| Power consumption • Stand-by | True Presence: < 1 W Hallway: < 0.5 W |
| Capacity, switching output 1: (COM 1/COM 2) | Incandescent/halogen lamp load 2,000 W Fluorescent lamps, electronic ballast 1,500 W Fluorescent lamps, uncorrected 1,000 VA Fluorescent lamps, series-corrected 400 VA Fluorescent lamps, parallel-corrected 1,000 VA Low-voltage halogen lamps 2,000 VA LED < 2 W 100 W 2 W < LED < 8 W 300 W LED > 8 W 600 W Capacitive load 176 μF |
| Capacity, switching output 2: (COM 2 only) | max. 230 W/230 V max. 1 A (cos φ = 1) for HVAC (heating/ventilation/air-conditioning) |
| Time setting | COM1 relay Hallway: 10 s – 60 min / IQ mode True Presence: 30 s – 60 min / IQ mode |
| COM2 relay Stay-ON time: 1 min – 120 min Switch-ON delay: 0 min – 10 min | |
| Twilight setting | 2-2,000 lux |
| Reach | True Presence: Ø 9 m True Presence (mounted up to a height of max. 4 m) Ø 15 m presence Ø 15 m movement (can be set to within one centimetre) Hallway: 25 × 3 m x 2.8 m |
| Angle of coverage | 360° |
| Mounting height | True Presence: 2.8-12 m Hallway: 2-4 m Optimum mounting height: 2.8 m |
| IP rating | IP54 (surface-mounted version only) |
| Temperature range | -20°C to +50°C |
| True Presence frequency | 7.2 GHz (responds to micro-movements resulting from the vital functions) |
Troubleshooting | ||
| UWB transmitter power | ≤ -41 dBm/MHz | |
| Bluetooth frequency | 2.4-2.48 GHz | |
| Hallway frequency | 5.8 GHz | |
| Bluetooth transmitter power | 5 dBm/3 mW | |
| Hallway transmitter power | < 1 mW | |
| 12. Troubleshooting | ||
| Malfunction | Cause | Remedy |
| Light does not switch ON | ■ No supply voltage ■ Lux setting too low
■ No movement detection | ■ Check supply voltage ■ Slowly increase lux setting until light switches ON ■ Ensure unobstructed sensor vision ■ Check detection zone |
| Light does not switch OFF | ■ Lux setting too high ■ Reduce lux setting ■ Stay-ON time running out ■ Wait until stay-ON time elapses; reduce stay-ON time if necessary ■ Interfering heat sources: ■ Check detection zone e.g. fan heater, open ■ Select scenario with doors and windows, lower sensitivity pets, light bulb/halogen floodlight, moving objects | |
| Sensor switches OFF despite persons being present | ■ Stay-ON time too short ■ Light-level threshold too low | ■ Increase stay-ON time ■ Change twilight setting ■ Select scenario with higher sensitivity |
| Sensor does not switch OFF quickly enough | ■ Stay-ON time too long | ■ Reduce stay-ON time |
| Sensor does not switch ON | ■ Reach is reduced when | ■ Install additional sensors |
| quickly enough when | approached from the | ■ Adjust reach |
| approached from the front | front | ■ Reduce distance |
| between two sensors | ||
| Sensor does not switch ON when persons are present despite it being dark | ■ Lux setting too low ■ Semi-automatic mode activated
■ 4 hours OFF activated | ■ Increase light-level threshold ■ Activate fully automatic mode or switch light ON at button ■ Deactivate 4 hours OFF |
| Malfunction | Cause | Remedy |
| Sensor not connecting with the app | ■ App or smartphone system crash | ■ Restart mobile terminal device |




















