EATON IL01301066E Lev-In Door Interlock

Instructions apply to
WARNING
- ONLY QUALIFIED ELECTRICAL PERSONNEL SHOULD BE PERMITTED TO WORK ON THE EQUIPMENT.
- ALWAYS DE-ENERGIZE PRIMARY AND SECONDARY CIRCUITS IF A CIRCUIT BREAKER CANNOT BE REMOVED TO A SAFE WORK LOCATION.
- DRAWOUT CIRCUIT BREAKERS SHOULD BE LEVERED (RACKED) OUT TO THE DISCONNECT POSITION.
- ALL CIRCUIT BREAKERS SHOULD BE SWITCHED TO THE OFF POSITION AND MECHANISM SPRINGS DISCHARGED.
FAILURE TO FOLLOW THESE STEPS FOR ALL PROCEDURES DESCRIBED IN THIS INSTRUCTION LEAFLET COULD RESULT IN DEATH, BODILY INJURY, OR PROPERTY DAMAGE.
THE INSTRUCTIONS CONTAINED IN THIS IL AND ON PRODUCT LABELS HAVE TO BE FOLLOWED. OBSERVE THE FIVE SAFETY RULES:
- DISCONNECTING
- ENSURE THAT DEVICES CAN NOT BE ACCIDENTALLY RESTARTED
- VERIFY ISOLATION FROM THE SUPPLY
- EARTHING AND SHORT-CIRCUITING
- COVERING OR PROVIDING BARRIERS TO ADJACENT LIVE PARTS DISCONNECT THE EQUIPMENT FROM THE SUPPLY. USE ONLY AUTHORIZED SPARE PARTS IN THE REPAIR OF THE EQUIPMENT. THE SPECIFIED MAINTENANCE INTERVALS AS WELL AS THE INSTRUCTIONS FOR REPAIR AND EXCHANGE MUST BE STRICTLY ADHERED TO PREVENT INJURY TO PERSONNEL AND DAMAGE TO THE SWITCHBOARD.
Instruction
General Information
The enclosure door interlock prevents the switchgear door from being opened until the breaker is in the DISCONNECT position, where the primary and secondary contacts are parted. A lever assembly mounts to the outside of the cassette, a latch assembly mounts to the inside of the door, and an actuator is installed to the lev-in side sheet of the breaker. The kit can be mounted to either the left or right side of the cassette. The door will only open in the DISCONNECT position but, can be closed in any position. It is also possible to disengage the latch in an emergency, if needed. All descriptions and graphics in this IL depict assembly to the right side of the cassette and breaker. The same process is followed when mounting the assembly on the left side.
Kit Part Identification:
Refer to Figure 1 for visual identification of parts listed below.
- (A) Interlock lever (1)
- (B) Interlock cam (1)
- (C) Lever standoff (1)
- (D) Latch mount (1)
- (E) Latch (1)
- (F) Actuator (1)
- (G) M5 X 12mm mounting screw (6)
- (H) M5 lock washer (5)
- (I) M5 flat washer (5)

Installation and Operation Instructions
Installation of Interlock Lever
Proceed with the following 4 steps.
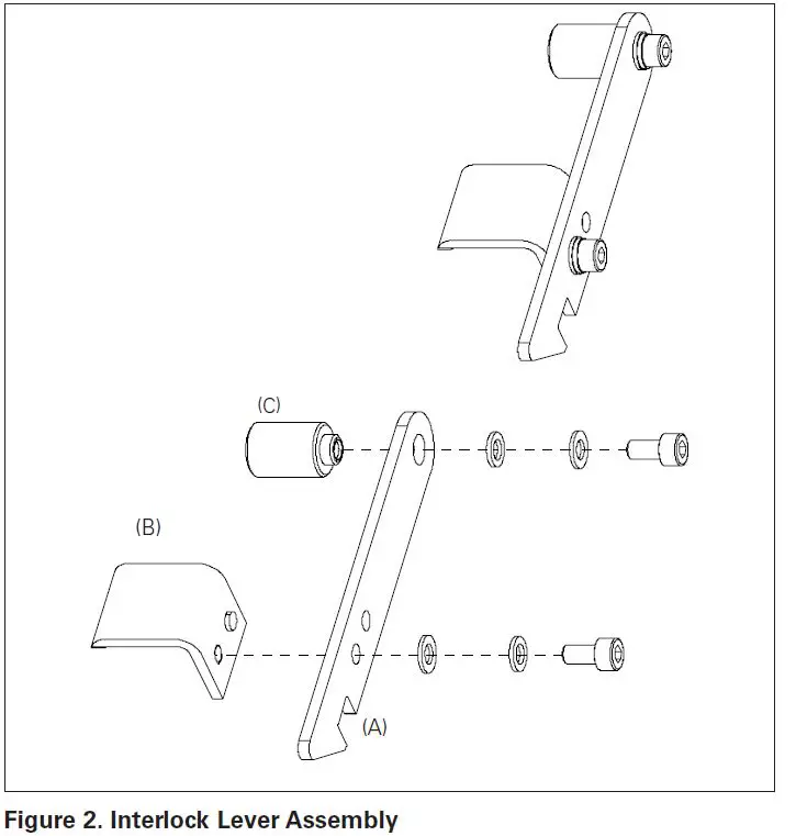
Step 1: Align the interlock cam (B) to the lever (A) as shown in Figure 2 and install the screw and washers.
Step 2: Next, insert the shouldered standoff (C) into the lever pivot hole and install the screw and washers. Torque both screws to 35 in-lbs (4 N-m).
Step 3: With the breaker removed from the cell, locate the interlock lever mounting hole and cam clearance feature on the outside of the cassette. See Figure 4.

Step 4: Install a M5 screw and washers from the inside of the cassette as shown in Figure 5. Torque screw to 35 in-lbs (4 N-m).
Installation of Latch
Proceed with the following 5 steps.
Step 1: Orient parts as shown in Figure 6.
Step 2: Insert latch fully into the mounting plate, then rotate until the holes on each part line up (Figure 6). Install the M5 screw without washers to secure the parts together (Figure 6).
Step 3: Drill the mounting and clearance holes in the switchgear door required for the latch assembly. See Figure 7.
Step 4: From inside the door, align the latch assembly to the holes as shown in Figure 8. Install the M5 screw and washers from the outside of the door. Torque the mounting screw to 35 in-lbs (4 N-m)
Actuator Installation
Proceed with the following 5 steps.
Step 1: Remove the four screws (six for 4-Pole breaker) holding the front cover in place (two on each side of the cover).
Step 2: Remove the front cover. Pull down on the charging handle to simplify removal.
Step 3: Locate the actuator mounting hole on the lev-in side sheet assembly (Figure 12).
Step 4: Install a M5 screw and washers from the inside of the side sheet as shown in Figure 12. Torque screw to 35 in-lbs (4 N-m)
Step 5: Replace the front cover and secure it in place with the mounting screws previously removed in Step 1.
Functional Check
Step 1: Return the breaker to the cassette rails by installing it from the front as shown in Figure 13, ensuring the rails are guided between the actuator and the breaker rollers. If the breaker is placed on the cassette rails directly from the top (Figure 14), the actuator installed in Section 3 can catch on the rails causing the breaker to become unbalanced.

Step 2: Push it into the cassette until it stops in the DISCONNECT position. The door should be able to open or close in this position.
Step 3: Rack the breaker into the TEST positon then attempt to open the switchgear door. It should not open in this position.
Step 4: Rack the breaker into the CONNECT position. Attempt to open the switchgear door. The door should not open in this position.
Emergency Access
Step 1: In the event of an emergency, the latch can be defeated by removing the screw on the left of the latch assembly. This will release the latch hook and allow it to rotate down out of the way of the lever, releasing the door.
Step 2: To replace the latch, rotate up (as shown in Figure 6, Step C) and reinstall the screw that was previously removed in Step 1.
Disclaimer of warranties and limitation of liability
The information, recommendations, descriptions, and safety notations in this document are based on Eaton Corporation’s (“Eaton”) experience and judgment, and may not cover all contingencies. If further information is required, an Eaton sales office should be consulted. Sale of the product shown in this literature is subject to the terms and conditions outlined in appropriate Eaton selling policies or other contractual agreement between Eaton and the purchaser.
THERE ARE NO UNDERSTANDINGS, AGREEMENTS, WARRANTIES, EXPRESSED OR IMPLIED, INCLUDING WARRANTIES OF FITNESS FOR A PARTICULAR PURPOSE OR MERCHANTABILITY, OTHER THAN THOSE SPECIFICALLY SET OUT IN ANY EXISTING CONTRACT BETWEEN THE PARTIES. ANY SUCH CONTRACT STATES THE ENTIRE OBLIGATION OF EATON. THE CONTENTS OF THIS DOCUMENT SHALL NOT BECOME PART OF OR MODIFY ANY CONTRACT BETWEEN THE PARTIES.
In no event will Eaton be responsible to the purchaser or user in contract, in tort (including negligence), strict liability, or otherwise for any special, indirect, incidental, or consequential damage or loss whatsoever, including but not limited to damage or loss of use of equipment, plant or power system, cost of capital, loss of power, additional expenses in the use of existing power facilities, or claims against the purchaser or user by its customers resulting from the use of the information, recommendations, and descriptions contained herein. The information contained in this manual is subject to change without notice.






















