LOCKWOOD 2800 Series Commercial Door Furniture Instruction Manual
Product ranges applicable
- 1220 Series

- 1420 Series

- 1360 Series

- 1370 Series

- 1800 Series

- 2800 Series

HAND OF DOOR ACCORDING TO ENGLISH PRACTICE
- DOOR OPENING IN

- DOOR OPENING OUT

Set Door Furniture Handing
1220 & 1420
1360 & 1370
1800 & 2800
- Verify the correct handing of furniture on the door required. Lever should rotate downwards.
- For handing of furniture with non-handed levers or knobs, position the handle by rotating it 180° to suit the door LH or RH then insert the 4mm stop screw to suit.
- Stop screws are supplied in an accessory packet in the box.

Configuring Disabled Accessible Turn

If mounting a plate with a disabled accessible turn, the turn will need to be configured
according to the mortise lock in use.
- Refer to the images below to identify the mortise lock in use.
- Position the screws according to the turn setting required.
Selector configurations should allow 45° rotation, Synergy configurations should rotate to 90°.
Use images below as a guide.
3770 SELECTOR SETTING AND HANDING
SELECTOR MORTICE LOCK
3570 SYNERGY SETTING AND HANDING
SYNERGY MORTICE LOCK
Door Preparation

- Cut out template from instruction sheet.
- Remove lock from mortise and place the template in the correct alignment according to the backseat required.
- Mark hole centers accurately and drill holes required.
- If required, cut screws to length as indicated. Deburr end of cut screws.
Note: Do not cut with pliers or side-cutters as this is likely to cause thread damage upon assembly.
Mounting Plate Furniture with Turn Configurations
Turn examples:
- Turn knob

- Emergency Turn

- Disabled Accessible turn

Use the appropriate tail bar according to the turn combination mounted.
For single side turn only
- P/No. TAILBAR-S1 Suits – 30-40mm doors

- P/No. TAILBAR-S2 Suits – 40-50mm doors

- Insert spring and tail bar into end of turn knob as above. Push tail bar until engaged and retained in turn knob. Refer above for correct tail bar for your door thickness.

- Engage tail bar end into turn snub adapter as shown.

For privacy configuration (Turn on both sides)
- P/No. TAILBAR-E1 Suits 32-45mm doors

- Insert spring and narrow end of tail bar into turn knob or disabled accessible turn until engaged and retained.

- Pass tail bar completely through the turn snub adapter as shown.
- Make sure tail bar engages with the turn escutcheon on the other side of the lock.

Final Assembly
For Round Rose Furniture

- Insert fixing screws through inner retainer rose.
- Mount furniture on door through lock or latch.
- Secure furniture by tightening fixing screws.
- Check screw length is correct. For 1220 & 1420, ensure screws do not protrude through outer furniture.
For Square Rose Trim Furniture (1420 only)

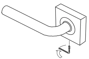
- If required, fix grub screw to outer square rose with Allen key supplied.
For Captive Rose Furniture (1220 & 1420 only)

- For Captive Rose Furniture levers, loosen and undo outer rose trim.
- Rotate lever 45° and position rose trim to allow clear access to fixing screw holes.
- Insert fixing screws.


THIS IS A COMMON TEMPLATE FOR INSTALLATION OF LOCKWOOD COMMERCIAL DOOR FURNITURE WHEN USED WITH THE LOCKWOOD SERIES MORTICE LOCKS.
NOTE: BEFORE DRILLING HOLES CHECK SUITABILITY WITH LOCKSET AND FURNITURE TO BE FITTED. FOR ALL OTHER DETAILS REFER TO LOCK MOUNTING INSTRUCTIONS.
ENSURE LOCK IS REMOVED FROM MORTICE BEFORE DRILLING HOLES. DO NOT DRILL HOLES RIGHT THROUGH DOOR TO PREVENT POSSIBLE DAMAGE TO DOOR FACE.
ASSA ABLOY Australia Pty Limited, 235 Huntingdale Rd, Oakleigh, VIC 3166 ABN 90 086 451 907 2021

































