Alfred ML2 Smart Door Lock Instruction Manual
INTRODUCTION
The Alfred ML2 smart door lock combines a sophisticated and modern design aesthetic with advanced features and durability that is perfect for residential, commercial and multi-family properties. It is easy to use and install and allows you to manage access with up to 250 unique PIN codes and 250 RFID access cards(MIFARE).
You can program, control, monitor your door lock using the Alfred Home app, and the door position sensor detects whether your door is open or closed. With optional Z-Wave Plus V2 or Zig bee 3.0(add-on modules sold separately), you can connect and control your lock with most smart home hub and security systems.
M L2 Series locks are also compatible with the Alfred Connect(WB 1) Wi-Fi bridge(Sold separately), allowing full remote control and monitoring of your lock via the Alfred Home App, as well as Google Home and Alexa support.
Alfred ML2 Application Compatibility:
BEFORE INSTALLATION
The Alfred ML2 door lock is compatible with mortise lock produced by different manufacturers:
| Manufacturer | Model | Remark |
| Yale | TBC | Adaptor required (sold separately) |
| Sch I age | L-Series | |
| Lawrence | LH-8700 Series | |
| Sargent | 7800/8200 Series | Adaptor required (sold separately) |
| Corbin Russwin | TBC | Adapter required (sold separately) |
Note: Compatibility table may update time to time, please visit alfredinc.com to see latest compatible models, or contact [email protected] for more information and assistance.
Electrical Requirement:
Alfred ML2 is a battery powered device, or may also be powered by hard-wired DC input.
- Hard-wire Voltage: 12~24V DC (DO NOT USE AC POWER)
- Peak Current: 2 Amps
- Operating Temperature:
- Front: -31 °F (-35°C)~ 151 °F (66°C)
- Back: -4°F (-20°C)~ 131 °F (55°C)
WARNING
Each hard-wired lock should have its own transformer. Two or more locks may be operated in parallel from a single transformer provided it has the necessary current rating.
DO NOT connect locks to a higher voltage rated transformer.
PREPARE FOR INSTALLATION
For New door installation
Refer to installation guide of the mortise lock
For retrofit installation
- Bore saw 1″ (25mm)
- Bore saw 3/8″ (9.5mm)
- Phillips Screw Driver #2
PARTS IDENTIFICATION

A Battery cover (x1)
B Rechargeable battery pack (x1)
C Back assembly (x1)
D Installation bolt (x2)
F Mounting plate (x1)
G Silicone gasket (x1)
H Door position sensor (x1)
I Front assembly (x1) (D 1 /4″ Mounting screws (x4)
J Ml2 Alignment tool (x1)
SPECIFICATIONS
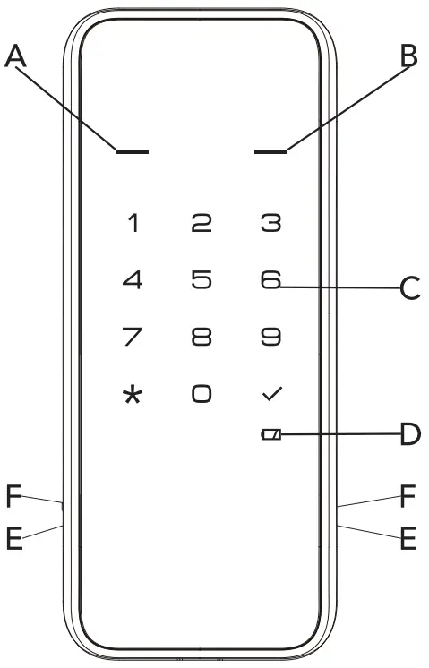
Front assembly
A: Status indicator(Red)
B: Status indicator(Green)
C: Touchscreen keypad
D: Low battery indicator
E: USB-C Emergency Power Port (x2)
F: Reboot Button (x2)
Back assembly
G: Wireless module port
H: Handing switch
I: Reset button
J: Internal indicator
K: Multi-functional button
L: Thumb turn
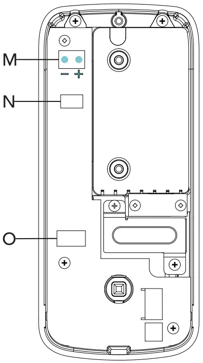
Back side of back assembly
M: Port for Hard wired power
N: Port for Door position sensor
0: Port for front assembly
Caution
Please note the”+” and”-” poles for the hard-wired DC power!
INSTALLATION
- Install the door position sensor (part G) in the door edge.
Note:
The Arrow on Door sensor should point upwards. The door position sensor is optional but recommended for full lock functionality and feature support.
- Hold the Front assembly (part H) with keypad flush to your door and align cable with door hole prep.

- Using the ML2 Alignment Tool (Part J), position the mounting plate by first routing the cables and connectors through the mounting plate’s cable hole.
The alignment tool inserts through the mounting plate and into the thumb turn hole of the mortise lock.
- Secure both assemblies using installation bolts (part D). Make sure the front assembly and back mounting plate are aligned and square. Tighten screws securely with a #2 Phlips screwdriver. *Do not overtighten.
Note: Check for smooth and correct lock operation by exercising the alignment tool before proceeding further.
Note: Please use the 3/8″ Wood Screws for wood door or 3/8″ self-drilling screws for metal door applications. - Attach cables to the back assembly.
Note: Door Position Sensor installation is optional but recommended for full lock functionality and feature support.
- Remove back battery cover(remove top screw and gently pull from lower sides of the cover) and secure back assembly using 1 /4″ mounting screws (part I) onto the mounting plate.
Note: When installing the back assembly, the mechanical lock should be in the unlocked position, and the ML2 thumb turn should be vertical with the indicator dot pointing towards the unlocked symbol(12 o-clock)
- Hand the lock by changing position of handing switch on back assembly according to your door opening direction.
Note: To reset handing, remove the battery pack, adjust the handing switch, then reinstall the battery pack.
- Install rechargeable battery pack then install battery cover.

- Install door sensor magnet on door frame with the arrow pointing upwards.

- Final mechanical and fitment check:
It is important to ensure the fitment and mechanical operation of the lock is working correctly- With the door in the open position manually exercise the thumb turn, levers and cylinder (if applicable) and ensure all are moving smoothly (without binding, grinding or resistance) and are correctly actuating the lock in each case (levers retracting the latch, cylinder and thumb turn locking and unlocking correctly, etc.).
- Ensure the door closes and opens smoothly. Shimming or adjusting the door or any components (weather-stripping, door closing mechanisms, etc.) that may be impeding proper door motion and operation is critical to the longevity and proper functionality of all door and hardware components.
- Ensure the door closes, latches and locks smoothly and properly. Perform the same manual operational checks as in step (a). The lock should feel and function the same in both the open and closed positions.
- Once confirming your successful installation, please review the ML2 Programming Instructions to complete the lock setup process.
Congratulations, you have installed the Alfred ML2 Smart Lock.
Please now download the Alfred Home App from either the Apple App Store or Google Play Store to set up your Master PIN Code for the lock or refer to Programming Instructions booklet provided.
Download the Alfred Home App
For support, please reach out to: [email protected]
You can also reach us at 1-833-4-ALFRED (253733)
































