GeekSmart L-B400 Smart Door Lock

Welcome
GeekSmart bids you welcome to a world of smart home devices, smart locks, and smart surveillance.
We at GeekSmart strive to explore and develop the the smart home industry for the good of all. We combine bridge cutting-edge technologies to develop products fit and ready for the market.
Please visit our website www.geektechnology.com
Before installing, please scan the QR codes to watch our easy step-by-step installation video.
If you have questions regarding the installation process please contact us by mail [email protected] or by phone 1-844-801-8880/(862)352-0406.
Features
Product Description
Included In The Box
HOW TO USE
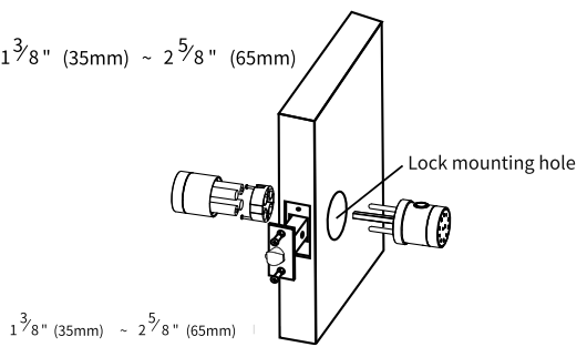
Check the door
- (a) Door thickness range:

- (b) Lock mounting hole diameter range: -⅞” (45mm) 2¼” (55mm)
(Large holes in this in range will make the installation process easier) - (c) Distance from the center of the lock mounting hole to the edge of the door (latch hole side): 2⅜’ (60mm) ~ 2¾” (70mm)
If the parameter of your door does not meet the above requirements, it does not necessarily mean it cannot be installed. Please call us for further advice.
If your door does not have a ready-made lock mounting hole, you need to complete the additional hole-drilling work yourself. The product box contains a cardboard template to help you position the holes correctly.
Installation tools
A M4 Phillips screwdriver if mounting holes are ready.
Door lock installation


Important! Check after Installation
Before installing the app, make sure that the door lock has been installed correctly, so please perform the following test. If at any step you encounter problems, please refer to the Trouble Shooting section of this manual.
- Enter default passcode ” 123456+ # “, your lock should be unlocked turning the exterior handle.
NOTE: If the GeekSmart app has been installed and the lock has been added, the admin password may have changed. Open the app to check the admin password. - Close the door and check if the latch properly inserts into the strike plate on the door frame.
- Not fully installed and powered on the lock will not properly work.
Congratulations! You installed the L-B400 Smart Lock. What now..?
App operation guide
App Download Instructions
- Scan the QR code the right, you can use Android and iOS to download the APP.
- Android version software can be downloaded in the Google Play store. Search “GeekSmart”.
- iOS version of the software can be downloaded in the iPhone App Store. Search “GeekSmart”.
Adding new Door Lock by app.
(Note: You should stand close to the door lock)
- Click the add button”+”
- Select the lock.
- Select lock LB400.

- Turn on Bluetooth.
- Touch the screen.
- Select the searched lock.

- Door lock added successfully.
When door lock has been added successfully, please click the
button in the upper right corner to check your new administrator password.
- View the administrator password.
Fingerprint management
- Note: please click *+” symbol on the upper right corner to add a fingerprint.
- Insert fingerprint account name and duration.
- Scan finger on lock (Requires 4 scans).
After the administrator successfully adds the lock, the administrator will have the highest management rights of the door lock. The administrator can authorize others to add fingerprints and set a validity period. They can also choose time-limited and permanent fingerprint permissions. Administrators can manage all fingerprints that they added, including deleting fingerprints, modifying fingerprints, and viewing fingerprint unlock records.
Ekey management
- Please click “+” in the right upper corner to add new user.
- Choose access schedule for these users.
- Admin can see and manage all user.
Admins can send Ekeys to emails. The receiver needs to download the GeekSmart app and log in to use the Ekey.
Administrators can manage all users, delete Limited time user or Permanent user and view unlock records.
Password management
- Note: please click”+” on the upper right corner to add a new password.
- Choose type. Set name and password.
- Administrator can manage passwords.
- Password management refers to the digital password combination of the door lock. You can send passwords to others to grant access.
- Once: One-time password, you can copy password or send password by email.
- Permanent: unlimited time for user to access.
- Limited time: limited time access.
- Customized: you can customize your password, that is permanent password.
- The administrator can manage all the passwords that were sent, deleting passwords, sending new passwords, modifying validity period, disable password, and view unlock history.
Open Passage Mode
The Open Passage mode lets anyone open the door without any need for passcode etc., and is great in case of temporary large gatherings and many guests.
- To set up Open Passage Mode, enter a lock interface and enter the settings menu. Then click Open Passage Mode.
- Enable Open Passage Mode.
- Set up what time frame Open Passage Mode is desired.
You can chose specific days of the week, and set specific hour of that day.
Add Bluetooth Administrator
Make sure . door lock administrator is not already added. When the backlight is off, the user touches the numeric keypad to wake up the door lock. After hearing the voice prompt “Please add Bluetooth administrator”, open the mobile phone Bluetooth and begin the door lock adding process on the app to obtain Bluetooth administrator privileges. After the addition is successful, you will hear the voice prompt “Administrator has been successfully added.”
Factory Reset / Delete Admin
The user is running the app near the door lock. Click the Setting button in the upper right corner of the added door lock on the homepage. After entering the door lock setting page, click the “restore factory settings” or “delete device” to remove Bluetooth administrator privileges. This can also be done from the physical lock panel. (See following chapter, page 17 Section 10: Factory Reset / Delete Admin).
IC Cards management
Add the IC Card: please enter the IC card name click “next,” then please place the IC card against the card reader sensor on the smart lock.
Clear the IC card: Click delete IC card button.
Don’t want to use the app?
NOTE: We strongly recommend that you complete all these operations on the app, which is the easiest way to get started.
- Add unlock password / IC card / fingerprint (These operations must be performed after the initial administrator password has been modified, please do this by using app go to page 11 for details) After the user inputs *85#, the lock prompts “Please input administrator passcode” , the user inputs the administrator passcode and click ‘#’ to confirm. Verification is successful, the lock prompts’ Please input fingerprint or passcode” otherwise it prompts “Operation failed” by voice.
- A. Add an unlock password
Input * 85 # Admin Password # User Password # User Password - B. Add an IC card / RFID TAG
Input 85 # Admin Password # SCAN CARD - C. Add fingerprint
Input * 85 # Admin Password # SCAN FINGERPRINT
- A. Add an unlock password
- Delete all fingerprints
Input * 70 # Admin Password # - Delete all IC cards
Input * 69 # Admin Password # - Delete All Passcodes ( Not including admin)
Input * 71 # Admin Password # - Modify User Passcode
Input * 10 # old Password # new Password # New Password # - How to control B400 remotely?
- A:L-B400 is a Bluetooth enabled smart lock. You can pair the optional GeekSmart gateway with it remotely via GeekSmart App.
- Q: How To Actived Passage Mode?
- A:When the passage mode is activated, the user can directly turn the handle and unlock the door without fingerprint, passcode, IC card or Bluetooth.
- After successfully unlocking with fingerprint, passcode, IC card or Bluetooth, immediately input “123#” within 5 seconds. The lock prompt “The lock is set to passage mode” by voice.
( Activate Passage mode by GeekSmart App.
- Q: How to Turn Off Passage Mode?
- A: The passage mode is turned off by inputting fingerprint, passcode, IC card or Bluetooth on the app.
- Q: How to activate Secure Lock?
- A: Long press the secure lock button for 3 seconds, the lock prompts “Secure lock is on”.
- A: When the lock be activated secure mode, just onlyadministrator can unlock it.
- Q: How To Turn Off Secure Lock Mode?
- A:Click secure lock button, and the lock prompts “Secure lock is off”.
- Q: How To Factory Reset Delete Admin?
- A:Deletion by Handle and Secure-Lock Button
@Turning the interior handle left or right, hold the secure-lock button for 10 seconds, then input 000# on the keypad. Lock prompts “Deleting administrator successful”. All fingerprints, passcodes.
IC cards are deleted from the lock.
alt can also be reset by the app.
- A:Deletion by Handle and Secure-Lock Button
- Q: How to use key for unlock?
- A: Insert the key, turn the key, turn the Exterior handle.
Specifications
- Geektechnology Ltd.
- 120 Route 46 West,
- Parsippany, NJ 07054.
- Toll Free
- 1-844-801-8880
- (862)352-0406
























