
USER MANUAL
SMART DOOR LOCK
TECHNICAL SPECIFICATIONS
| Door types | Armored doors, wooden doors, glass doors |
| 40mm / 100mm | |
| Door thickness | 15kv |
| Power supply | 3.6V – 5V |
| Operating current | <135mA: Standby <10uA |
| Operating current | – 20 ° C / 70 ° C |
PRODUCT DESCRIPTION
- Smart DoorLock SM-DLCB-006
- Emergency micro magnetic induction keys
- Tools for installation

INSTALLATION INSTRUCTIONS
3.1 Remove the original lock cylinder
Unscrew the screws and remove the cylinder of the original mechanical lock. Install the lock cylinder and secure the front, rear and side panels.
3.2 Remove the cylinder of the smart lock and knob
Remove the smart lock cylinder and knob.
3.3 Installing the smart lock cylinder
Install the smart lock cylinder on the front panel. Adjust the position to match the screw holes.
3.4 Install the lock
Screw-in the lock screws.
3.5 After installing the knob
- Pull the knob backward and using the supplied tool, tighten the screws.
- Use the rear knob to make sure you have installed the cylinder correctly. Check that the cylinder opens correctly.
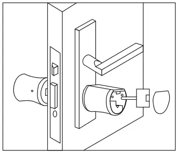
3.6 Battery Installation
- Remove the front knob cover and unscrew the battery compartment cover using the supplied tool.
- Insert 3 AAA size batteries into the battery compartment. Pay attention to the direction of the positive and negative poles. The end of the spring is the negative pole.
- After inserting the batteries, close the battery compartment and the knob cover.
3.7 Test after installation
- Verify that the lock is securely installed on the door. Check that the rear knob opens the door in the correct way.
- After connecting the power supply, the motor reverses. It will be possible to turn the knob minimally. Enter the initial password to open normally.
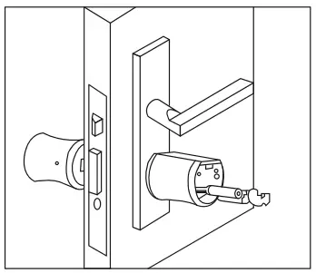
3.8 Use of emergency keys
- Open the front knob cover.
- Insert the emergency key and turn the key 30 degrees clockwise. The front knob cannot rotate.
- Turn the front knob to open the door.
SETTINGS
Before following the instructions below, check that the Bluetooth of the mobile phone is active and that the phone and the port are close, we recommend a maximum distance of 5 meters.
- Connect the APP
Download the Tuya App from the store, depending on the smartphone.
Open and follow the registration commands. Click on “+” located at the top right of the homepage.
1.1 Manual Add
Click on “Protection sensor” — “BLE lock”, confirm the guided item, on the left. Press any key to activate the keyboard of the device, and press “<” to activate the Bluetooth of the device. Wait a few seconds and the device name will appear, then click connect.
1.2 Automatic search
Click on “automatic search” at the top, to make sure the lock is powered correctly, press any button to activate the device keyboard, and press “<” to activate the device’s Bluetooth. Wait a few seconds and the device name will appear, then click connect. - Fingerprint configuration
2.1 Add fingerprint
Click on the device name from the home page, enter the configuration screen, and click “Settings-fingerprint management-top right corner + number-add fingerprint”, select the user, click “Start scan “, enter 4 fingerprints according to the command, after entering successfully will show” Fingerprint Name “, enter the name and add correctly.
2.2 Remove fingerprint
Click the device from the home, enter the management screen, click “Fingerprint Management”, and click the icon to the right of the fingerprint to delete. - Password configuration
3.1 Add Password
After clicking on the device name, enter the configuration screen, click on “Settings, password management – add the password in the upper right corner + Nu.”, Select the user, enter the password and the nickname as per commands shown on the page, the password must be between 6 and 0 characters in length, click save to complete the procedure.
3.2 Delete Password
After clicking on the device name, enter the management screen, click “Password Management”, and click the icon to the right of the fingerprint to delete. - User configuration
In the configuration screen it is possible to choose between two different types of users:
1. Relatives
Users already present in the “Family” group in the application, new users who are added to the “family” group will also be automatically added to the lock group. Note: it is possible to delete a user from the “family” group only through the management page of “family” users.
2. Other Users
They are users present only in the lock group, not in the “family” group. Adding and deleting these users will have no effect on the “family” group
4.1 User Management – Other User Management
4.1.1 Period of validity
The administrator can decide on the other users, choosing whether to set as a permanent user or set a start and end time for using the lock.
4.1.2 Open the door
The administrator can determine the type of permission that each member can obtain to open the door; if the administrator decides to block the door opening, no user will be able to open the door via the application, and the door must be opened manually.
4.1.3 After adding a new user
The administrator can associate the new user with the use of the application through the “Share” operation. At the end of the time set for sharing, the user will no longer be able to use the device.
RESET TO FACTORY SETTINGS
Click on the device from the home screen, enter the device management screen, click on the icon at the top right, enter the device, go down to find factory reset, and click on it. 5.1 It is possible to restore the factory settings when both the smartphone and the lock are connected via Bluetooth. All methods of opening the door will be cleared, and the lock will be reset to factory settings. After about 3 minutes, users will be able to re-add the lock on the application.
5.2 If the smartphone is not connected to the lock via Bluetooth, the lock is reset to the factory setting. The way the door is opened on the door lock remains unaffected
LANGUAGE SETTINGS
Open the application, click on the device, enter the management screen and click on “Language Settings” to select the language.
OPEN THE DOOR
Press any key to activate the keypad on the knob, enter the password and click on “
” the lock will open and the light will be blue, at the end of the time for opening the door, the lock will close and the blue light will go out.
Place the fingerprint, the lock will open and the light will be blue, at the end of the time for opening the door, the lock will close and the blue light will go out.
Open the application, select the device, enter the device management page, and click “Smartphone Opening – OK” to open the lock. Open the application, select the device, move left to the “Dynamic Password” screen, click “Get”, to generate a dynamic password, valid for 5 minutes after it has been generated, Enter the 8 digits + “
”, to open the lock.
DOOR OPENING EVENT LOG
Door opening event log
LOW BATTERY ALARM
Voice Prompt 3.6v: Replace the batteries if the battery level is low.
INCORRECT ENTRY OF THE OPENING CODE
Enter the wrong fingerprint 5 times consecutively 3 times the wrong password). The device will lock up and cannot be used for the next 3 minutes.
THE KEY LIGHT IS OFF
After pressing a button, the light will stay on for 10 seconds, at the end of which in case of inactivity, it will turn off automatically, press the back button to turn the light back on.
NOTE
………………………………………………………………………………………………………………………………………………………………………………………………………………………………..
For any information and product updates
> visit our website www.machpower.it
Mach Power® is a registered trademark
All Right Reserved


















