SECURITY BRANDS Ridge RTE Transmitter

Product Information
The product is the Model 14-RTE433T, which is an RTE Unit used for gate/door automation. It includes important components such as the Lock, Exit Button, Key Switch, RTE Unit Front Panel, Pairing Buttons, CR2032 Battery, Connection Terminals, Power LED, Relay Status LED, Programming Button, Status LED, and Programming LED. The RTE Unit requires the Ridge Transceiver (14-REC20) to function properly. The Transceiver can be bundled with the Ridge 2.0 (14-500) or Ridge RTE (14-RTE433), or purchased separately. It is essential to mount the Transceiver inside a weatherproof enclosure to prevent damage to its internal components.
Product Usage Instructions
- Carefully unpack the box and ensure that you have all the items listed in the manual (except the Screwdriver).
- Start by unlocking and removing the Front Panel of the RTE Unit.
- Using the provided Carriage Bolts and Hex Nuts, attach the RTE Unit to a pedestal as shown.
- Securely attach the Transceiver to an inside wall or another surface inside the gate operator using Tek screws, zip ties, or any other suitable means of securing.
- Connect the Transceiver to the Gate Operator or Door Opener according to the desired configuration:
- If Gate Operator Timer-to-Close is set to OFF, follow the specified connections.
- If Gate Operator Timer-to-Close is set to ON, follow the specified connections.
Note: The exact connections may vary across manufacturers and models, so consult the gate operator or door opener manual for precise instructions.
- To pair the Transceiver with the RTE Unit, follow these steps:
- Remove the cover of the Transceiver and hold down the Programming Button on the circuit board for 3 seconds before releasing it. The LED will light up solid red. Remove the Front Panel of the RTE Unit.
- Hold down both Pairing Buttons until the Status LED flashes. Release Button 2, and continue holding Button 1 until the Status LED flashes again.
- The Relay on the Transceiver should click, and the Programming LED should go out, indicating that the pairing process is complete.
CAUTION: Always ensure the gate path is clear before operating, and use appropriate safety devices to prevent injury or damage to property. Failure to comply with weatherproof mounting requirements for the Transceiver may void the warranty.
For more detailed instructions and information, refer to the product manual (QSG-14RTE433T-EN, Rev. D).
Carefully unpack box.

Make sure you have all items shown here. (Screwdriver not shown)

What’s what?
Important components labeled
You MUST have the Ridge Transceiver (14-REC20) for the RTE Unit to work. It is bundled with the Ridge 2.0 (14-500), Ridge RTE (14-RTE433), and can be purchased separately as well.

RTE Unit Front Panel (Front)

RTE Unit Front Panel (Back)
Internal wiring not shown for clarity.

Transceiver (Not Included)
Shown with cover removed. Internal wiring not shown for clarity.
Unlock and remove Front Panel of RTE Unit; then using included Carriage Bolts and Hex Nuts, attach unit to pedestal as shown.

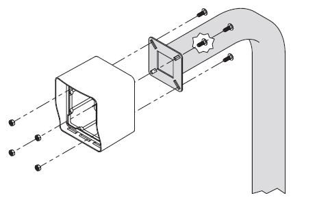
Using Tek screws, zip ties, or other means of securing, attach Transceiver to inside wall or another surface inside gate operator.

CAUTION!
The Transceiver is not weatherproof and must be mounted inside a weatherproof enclosure. Internal components can be damaged if exposed to the elements.
Failure to comply will VOID WARRANTY.
WARNING!
AUTOMATIC GATES CAN CAUSE SERIOUS INJURY OR DEATH!ALWAYS CHECK that the GATE PATH IS CLEAR BEFORE OPERATING!REVERSING or other SAFETY DEVICES SHOULD ALWAYS BE USED!
Connect Transceiver
Gate Operator Timer-to-Close
OFF

Connect Transceiver
Gate Operator Timer-to-Close
ON

CAUTION!
A closing gate can cause injury to persons or damage to property.
ALWAYS USE SAFETY DEVICES!
Remove Transceiver cover; then hold down Programming Button on circuit board for 3 seconds and let go.

Remove RTE Unit Front Panel.

Hold down both
Pairing Buttons until Status LED flashes. Let go of Button 2, and continue holding Button 1 only until Status LED flashes again.

Relay on
Transceiver should click and Programming LED should go out. Pairing is now complete.

CHECK THAT THE GATE PATH IS CLEAR BEFORE
COMPLETING THIS STEP AS IT TRIGGERS THE RELAY!
7 Press Exit Button on RTE Unit and confirm gate/door opens.
(If nothing happens, repeat Step 6. If gate/door is held open, see Troubleshooting section on Page 4.)

CHECK THAT THE GATE PATH IS CLEAR BEFORE COMPLETING
THIS STEP AS IT TRIGGERS THE RELAY!
INSTALLATION COMPLETE!
Your system is ready to use.
A The RTE Unit can be disabled and re-enabled at any time by taking the Key Switch Keys and using the Key Switch located below the Exit Button.

Transceiver Reset Procedure
This procedure is used to unpair all devices from the Transceiver.
- Step 1 – Remove screws and remove Transceiver cover.
- Step 2 – Press and hold Programming Button until Programming LED starts to flash. Button must be held for about 30 seconds. Once flashing stops, all devices have been unpaired from Transceiver and reset is complete.
- Step 3 – Replace Transceiver cover and secure screws.
Troubleshooting
RTE U nit is holding gate/door open
IMPORTANT: GATE/DOOR MUST BE CLOSED BEFORE COMPLETING THIS PROCEDURE!
- Step 1 – Press Exit Button on RTE Unit to close gate/door if it is not already closed.
- Step 2 – Hold down both Pairing Buttons and pay attention to Status LED.
- Step 3 – When Status LED flashes twice, continue holding BOTH buttons.
- Step 4 – When LED flashes twice again, continue holding Button 1 ONLY until Status LED flashes multiple times.
Now the RTE unit should only hold the gate/door open momentarily.

Call (972) 474-6390
Email [email protected]
We are available Mon–Fri / 8am–5pm Central



















