SECURITY BRANDS 14-500 Ridge 2.0 Battery Powered Wireless Digital Keypad and Transceiver

Carefully unpack box.

Make sure you have all items shown here. (Screwdriver not shown)
Important components labeled
Unlock and remove front panel of keypad unit; then using included carriage bolts and hex nuts, attach unit to the pedestal as shown.
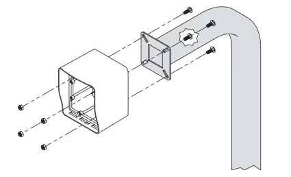
Using Tek screws, zip ties, or included adhesive mounting pad, attach transceiver to an inside wall or another surface of the gate operator.
CAUTION: The transceiver is not weatherproof and must be mounted inside a weatherproof enclosure. Internal components can be damaged if exposed to the elements. Failure to comply will VOID WARRANTY.
WARNING: AUTOMATIC GATES CAN CAUSE SERIOUS INJURY OR DEATH!ALWAYS CHECK that the GATE PATH IS CLEAR BEFORE OPERATING!REVERSING or other SAFETY DEVICES SHOULD ALWAYS BE USED!
Connect transceiver
Connect transceiver
Remove transceiver cover; then hold down Programming button on circuit board for 3 seconds and let go.
Pair keypad unit with transceiver by entering sequence below on keypad. (Make sure 9-V battery is connected on keypad unit)
While pairing, keypad unit will beep and flash. Once transceiver LED goes off and “good” tone is heard on keypad unit, pairing is complete.
Add Access Code(s) to Channel A.
(To add multiple codes, enter each of them before pressing pound key)
Make sure gate path is clear; then enter access code on keypad and confirm gate opens. (If keypad locks up, repeat Step 6)
Additional programming
Delete Code(s)
(To delete multiple codes, enter each of them before pressing pound key)
Set Unique Keypad ID
(This feature is for added security and allows multiple keypad units and transceivers to be used. If Keypad ID is changed, keypad unit and transceiver must be paired again.)

Programming Sub Modes
- Add Access Code(s) to Channel A
- Delete Code(s)
- Change Master Code
- Configure “Three Strikes, You’re Out”
- Add Latcha Code
- Set Relay Output Time
- Add Access Code(s) to Channel B
- Add One-Time-Use Code (Channel A)
- Pairing and Setting Keypad ID
- Delete All Codes
Things to Know
The Star Key (*)
The star key deletes your current entry.
If you happen to make a mistake keying in a code, simply press the star key to delete the entire entry and start over.
The Pound Key (#)
The pound key is good for one thing and one thing only: exiting Programming Mode. Whenever you’re in Programming Mode, simply press the pound key to get out.
Reset Procedures
If for some reason the Master Code is forgotten or the unit needs to be reset to factory defaults, two reset procedures are available: Master Reset and Unit Reset.
These procedures can be found in Section B.
Reset Procedures
NOTE: If an error is made during these procedures, an “error” tone will sound and you must start again from the beginning.
Master Reset
(Used if the Master Code is unknown, if the Latch Code is unknown and the unit is in Latch Mode, or if the Sleep Code is unknown and the unit is in Sleep Mode. All other codes will be retained after completing this procedure.)
- Step 1 – Remove front panel of keypad unit.
- Step 2 – Disconnect battery.
- Step 3 – Press and hold Reset Button; reconnect battery; then release Reset Button. Unit will sound one (1) tone. Release Reset Button after you hear tone.
- Step 4 – Press Star key (*) on keypad three (3) times and wait up to 30 seconds.
- Step 5 – Reattach front panel onto keypad unit.
The Master Code is now reset to default (1251).
Unit Reset
(Used to reset unit to factory default settings. The Master Code will be retained.) CAUTION: FOLLOWING THIS PROCEDURE WILL DELETE ALL CODES BUT MASTER CODE!
- Step 1 – Remove front panel of keypad unit.
- Step 2 – Disconnect battery.
- Step 3 – Press and hold Reset Button; reconnect battery; then release Reset Button. Unit will sound one (1) tone. Release Reset Button after you hear tone.
- Step 4 – Enter Pound (#) Star (*) Pound (#) on keypad. (Unit will sound “good” tone.)
- Step 5 – Enter Master Code (1251 is default) on keypad. (Unit will beep continuously.)
- Step 6 – While unit is beeping, disconnect and reconnect battery. Unit will then go through power-up procedure.
- Step 7 – Reattach front panel onto keypad unit.
The unit is now reset to factory default settings. Follow Master Reset to reset Master Code.
NEED HELP
- Call (972) 474-6390
- Email [email protected]
- We are available Mon–Fri / 8am–5pm Central



















