QUICK START GUIDERTE 300
Model 14-RTE300
START HERE
- Carefully unpack box.

- Make sure you have everything shown here. (Screwdriver not shown)

What’s what?
Important components labeled

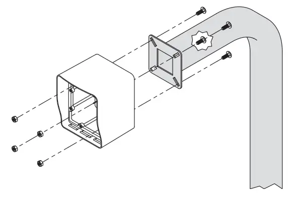
- Unlock and remove faceplate of RTE unit; then using carriage bolts and hex nuts, attach to pedestal as shown.

WARNING!
AUTOMATIC GATES CAN CAUSE
SERIOUS INJURY OR DEATH!
ALWAYS CHECK that the GATE PATH IS
CLEAR BEFORE OPERATING!
REVERSING or other SAFETY DEVICES
SHOULD ALWAYS BE USED! - Locate receiver (not included) and open for access to DIP switches.

NOTE: For a gate installation, the receiver is typically installed inside the gate operator housing. - Carry RTE unit to receiver; then set DIP switches on RTE unit to match DIP switches on receiver. Double check for match.

NOTE: Use the blanks above to note positions. Use an “X” for ON and leave blank for OFF.
DIP switches may be labeled differently. The word, OPEN, means the same thing as OFF. - Make sure gate/door path is clear; then press exit button on RTE unit and confirm gate/door opens. (If nothing happens, go back to Step 5)

NOTE: Key switch must be in the “enabled” position.
A The RTE unit can be disabled or enabled at any time using the key switch located below the exit button.

IMPORTANT!
The RTE 300 is compatible ONLY with 300-MHz RECEIVERS that use 10 DIP SWITCHES, including those with the Digi-Code or Multi-Code® brands.
This unit WILL NOT WORK with any other receivers!
If you are not sure what kind of receiver you have, check with your distributor.
INSTALLATION COMPLETE!
Your system is ready to use.
NEED HELP
Call (972) 474-6390
Email [email protected]
We are available Mon–Fri / 8am–5pm Central
© 2022 Security Brands, Inc. All rights reserved.



















![First Alert Security System [fa168c, Fa168c-cn, Fa148cp, Fa148cp-cn] User Manual First Alert Security System [fa168c, Fa168c-cn, Fa148cp, Fa148cp-cn] User Manual](https://static-data1.manualsee.com/1/img/186/17345/2020/12/First-Alert-Security-System-FA168C-FA168C-CN-FA148CP-FA148CP-CN.png)






