ergotron 45-475-216 HX Desk Monitor Arm

What Inside the Box

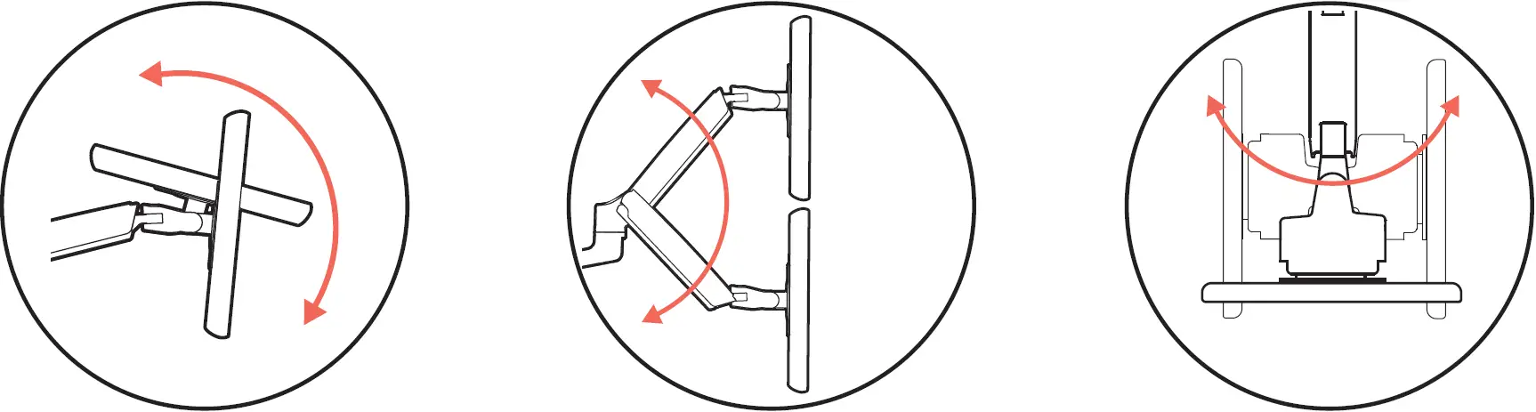
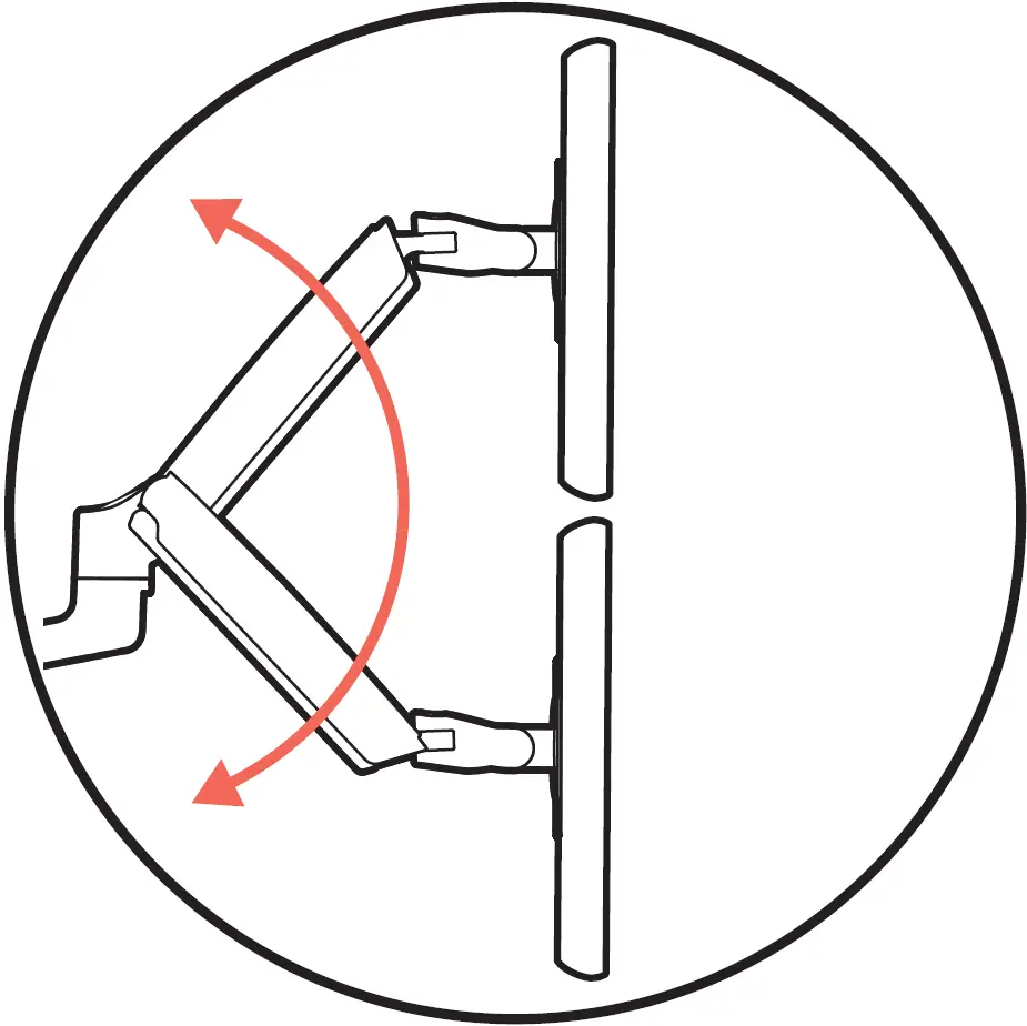
NOTE: Determine if arm will typically collapse to the left or right before installation.
Installation



OPTIONAL: Grommet Mount Installation





































NOTE: Determine if arm will typically collapse to the left or right before installation.



OPTIONAL: Grommet Mount Installation


































Download manual
Here you can download full pdf version of manual, it may contain additional safety instructions, warranty information, FCC rules, etc.