HX
Desk Monitor Arm
With Top Mount Low Profi le C-clamp
User Guide
Includes Constant Force™ Technology
HX Desk Monitor Arm


| Part Number | Desk Thickness |
| 98-477: | 12-18 mm (0.47″- 0.71″) |
| 98-478: | 18-25 mm (0.71″- 0.98″) |
| 98-479: | 25-35 mm (0.98″- 1.38″) |
Your product comes with only one of these clamp dimensions. The other size clamps are sold separately.
Tools Needed

1.

NOTE: Determine if the arm will typically collapse to the left or right before installation.

Your product comes with only one of these clamp dimensions. The other size clamps are sold separately.
Warning: Failure to match your desk thickness with your clamp specifi cations will cause an unstable condition and may result in equipment damage and or personal injury.

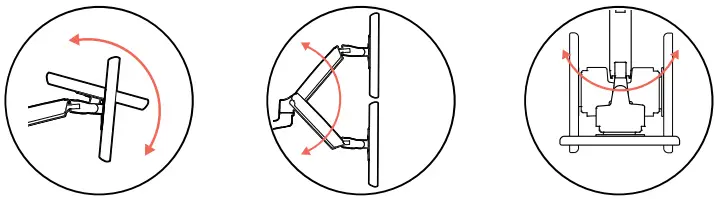
3. Rotate – Portrait/Landscape







NOTE: To reduce M8 holes for use with M5 screws, or if you have a model with Samsungholder rings, follow the M8M5 KIT instructions on the next page.
M8M5 KIT Instructions
NOTE: follow this step only if your TV/monitor has M8 holes which need to be reduced to M5 or for Samsung models using the holder ring.



NOTE: Arm extension should be at a 45° angle or less when attaching the monitor.
6
7. Adjustment Step

Important! You will need to adjust this product after installation is complete. Make sure all your equipment is properly installed on the product before attempting adjustments. This product should move smoothly and easily through the full range of motion and stay where you set it. If movements are too easy or diffi cult or if the product does not stay in desired positions, follow the adjustment instructions to create smooth and easy movements. Depending on your product and the adjustment, it may take many turns to notice a difference. Any time equipment is added or removed from this product, resulting in a change in the weight of the mounted load, you should repeat these adjustment steps to ensure safe and optimum operation.
8. Adjustment Step
Tilt – Forward and Backward

CAUTION: DO NOT remove screw. Removing screws may cause damage to equipment.

![]() | ![]() |
| Increase Lift Strength If the mounted weight is too heavy or this product does not stay up when raised, then you’ll need to increase Lift Strength: | Decrease Lift Strength If the mounted weight is too light or this product does not stay down when lowered, then you’ll need to decrease Lift Strength: |
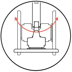
9. Adjustment Step
Lift – Up and down
![]() | ![]() |

![]() | ![]() |
| Increase Lift Strength If the mounted weight is too heavy or this product does not stay up when raised, then you’ll need to increase Lift Strength: | Decrease Lift Strength If the mounted weight is too light or this product does not stay down when lowered, then you’ll need to decrease Lift Strength: |
10. Adjustment Step

Monitor Pan – Left and Right


![]() | ![]() |
| Increase Friction If this product moves too easily, then you’ll need to increase friction: | Decrease Friction If this product is too diffi cult to move, then you’ll need to decrease friction: |
Safety
Warning: Because mounting surface materials can vary widely, it is imperative that you make sure the mounting surface is strong enough to handle mounted products and equipment.
Caution: Leave enough slack in the cable to allow a full range of motion.
To avoid the potential to pinch cables it is important to follow the cable routing instructions in this manual. Failure to follow these instructions may result in equipment damage or personal injury.
Removing from the desk: Remove monitors then put pressure forward while loosening the bolt.


WARNING: Move Arm to the highest position before removing equipment or serious personal injury and/or equipment damage may occur

WARNING! Stored Energy Hazard: The arm mechanism is under tension and will move up rapidly, on its own, as soon as the attached equipment is removed. For this reason, DO NOT remove equipment unless the arm has been moved to the highest position! Failure to follow this instruction may result in serious personal injury and/or equipment damage!

CAUTION: For Desk Clamp installations: Do Not rotate the display past the edge of the desk.
Weight Capacity:

CAUTION: DO NOT EXCEED THE MAXIMUM LISTED WEIGHT CAPACITY. SERIOUS INJURY OR PROPERTY DAMAGE MAY OCCUR!

For the latest User Installation Guide please visit: www.ergotron.com
For Warranty visit: www.ergotron.com/warranty
For Service visit: www.ergotron.com
For local customer care phone numbers visit: http://contact.ergotron.com
Learn more about ergonomic computer use at: www.ergotron.com/ergonomics
NOTE: When contacting customer service, reference the serial number.

www.ergotron.com
USA: 1-800-888-8458
Europe: +31 (0)33-45 45 600
China: 400-120-3051
Japan: [email protected]
© 2020 Ergotron, Inc. All rights reserved.
While Ergotron, Inc. makes every effort to provide accurate and complete information on the installation and use of its products, it will not be held liable for any editorial errors or omissions (including those made in the process of translation from English to another language), or for incidental, special or consequential damages of any nature resulting from furnishing this instruction and performance of equipment in connection with this instruction. Ergotron, Inc. reserves the right to make changes in the product design and/or product documentation without notification to its users. For the most current product information, or to know if this document is available in languages other than those herein, please contact Ergotron. No part of this publication may be reproduced, stored in a retrieval system, or transmitted in any form or by any means, electronic, mechanical, photocopying, recording, or otherwise without the prior written consent of Ergotron, Inc.,1181 Trapp Road, Eagan, Minnesota, 55121, USA Patents Pending and Patented U.S.& Foreign. Ergotron is a registered trademark of Ergotron, Inc.
888-45-409-W-00 rev. G • 09/21






















