HAMPTON BAY EHD82620-1-5-BN Kendall Manor 5-Light Brushed Nickel Dining Room Chandelier

Safety Information
IMPORTANT: Read and understand this entire manual before you attempt to assemble, install, or operate this product.
WARNING: Turn off the electricity at the main circuit breaker panel before you begin this installation.
WARNING: This product contains chemicals known to the State of California to cause cancer, birth defects, and/or other reproductive harm. Thoroughly wash hands after installing, handling, cleaning, or otherwise touching this product.
WARNING: This product must be installed in accordance with the applicable installation code by a person familiar with the construction and operation of the product and the hazards involved.
Warranty
WHAT IS COVERED
The manufacturer warrants the lighting fixtures to be free from defects in materials and workmanship for a period of three (3) years
from the date of purchase. This warranty applies only to the original consumer and only to products used in normal use and service. If this product is found to be defective, the manufacturer’s only obligation, and your exclusive remedy, is the repair or replacement of the product at the manufacturer’s discretion, provided that the product has not been damaged through misuse, abuse, accident, modifications, alterations, neglect, or mishandling.
WHAT IS NOT COVERED
This warranty shall not apply to any product that is found to have been improperly installed, set-up, or used in any way not in accordance with the instructions supplied with the product. This warranty shall not apply to a failure of the product as a result of an accident, misuse, abuse, negligence, alteration, or faulty installation or any other failure not relating to faulty material or workmanship. This warranty shall not apply to the finish on any portion of the product, such as surface and/or weathering, as this is considered normal wear and tear.
The manufacturer does not warrant and specially disclaims any warranty, whether express or implied, of fitness for a particular purpose, other than the warranty contained herein. The manufacturer specifically disclaims any liability and shall not be liable for any consequential or incidental loss or damage, including but not limited to any labor / expense costs involved in the replacement or repair of said product.
Contact the Customer Service Team at 1-855-HD-HAMPTON or visit www.Hamptonbay.com.
Pre-Installation
PLANNING INSTALLATION
Before beginning the installation, make sure all the parts are included using the Hardware Included and Package Contents sections. If any part is missing or damaged, do not attempt to assemble, install, or operate the product.
NOTE: To avoid damaging this product, place it on a a soft, non-abrasive surface, such as carpet or cardboard.
TOOLS REQUIRED

HARDWARE INCLUDED
NOTE: Hardware is not shown to actual size.

| Part | Description | Quantity |
| AA | Wire nut | 3 |
| BB | Junction box screw | 2 |
| CC | Mounting bracket | 1 |
| DD | Hexnut | 1 |
| EE | Threaded pipe with hexnuts | 1 |
| FF | Threaded ring | 1 |
| GG | Screw collar loop | 1 |
| HH | Chain | 1 |
| JJ | Locking link | 2 |
PACKAGE CONTENTS

| Part | Description | Quantity |
| A | Loop | 1 |
| B | Fixture Body | 1 |
| C | Socket ring tool | 1 |
| D | Socket ring | 5 |
| E | Shade | 5 |
| F | Center ring | 1 |
| G | Canopy | 1 |
Installation
Installing the mounting bracket
IMPORTANT: Disconnect the power at the main fuse box.
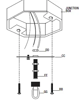
- Hold the mounting bracket (CC) so the head of the attached ground screw is facing down. From the side of the mounting bracket (CC) with the head of the ground screw, thread the short end of the threaded pipe with hexnuts (EE) into the hole in the center of the mounting bracket (CC). The top hexnut on the threaded pipe (EE) should be touching the mounting bracket (CC).
- Screw the hexnut (DD) onto the end of the threaded pipe (EE). Tighten the hexnut (DD) up against the mounting bracket (CC).
- Place the mounting bracket (CC) up against the junction box. Align the slots in the mounting bracket (CC) with the holes in the junction box. Thread one junction box screw (BB) into each slot in the mounting bracket (CC) and into each hole in the junction box.
- Thread the screw collar loop (GG) onto the end of the threaded pipe (EE). Tighten the screw collar loop (GG) up against the hexnut (DD) on the threaded pipe (EE).

Preparing the fixture and wires
- Push the fixture wires up through the bottom of the loop (A). Screw the loop (A) onto the top of the fixture body (B).
- Attach one locking link (JJ) to the loop (A).
- Determine the desired height of the hanging fixture. If needed, remove chain links from the chain (HH) to achieve the desired height.
- Attach the last chain link on the chain (HH) to the locking link (JJ) on the loop (A).
- Weave the fixture wires through the chain (HH), skipping every other chain link.
- Slip the threaded ring (FF) over the ends of the fixture wires and the chain (HH).
- Slip the hole in the center of the canopy (G) over the ends of the fixture wires and the chain (HH).
- Fit the center ring (F) in between the arms of the fixture body (B). Insert each stud on the center ring (F) into the hole in each arm.

Connecting the wires
- Strip 3/4 in. of the insulation from the ends of the fixture wires.
- Push the fixture wires up through the hole in the screw collar loop (GG) and out the end of the threaded pipe inside the junction box.
- To aid in connecting the fixture wires to the house wires, temporarily connect the second locking link (JJ) to the chain link at end of the chain (HH) and to the screw collar loop (GG).
- Loosen the ground screw on the mounting bracket (CC). Wrap the house ground wire (copper) around the ground screw. Leave enough ground wire to attach to the fixture ground wire. Twist the end of the fixture ground wire and the end of the house ground wire together. Twist a wire nut (AA) onto the ends of the wires. Reference the chart below for the correct wire connections.

- Twist the end of the house lead wire (black) and the end of the fixture lead wire together. Twist a wire nut (AA) onto the ends of the wires.
- Twist the end of the house neutral wire (white) and the end of the fixture neutral wire together. Twist a wire nut (AA) onto the ends of the wires. the chart below for the correct wire connections.
- Wrap electrical tape (not included) around the wire nuts (AA) and the wires. Ensure the wires are securely fastened into the wire nuts (AA).
- Carefully push all the wires and the wire nuts (AA) into the junction box.

Installing the fixture to the ceiling
- Remove the second locking link (JJ) from the last link on the chain (HH) and the screw collar loop (GG).
- Raise the canopy (G) up to the ceiling. Pass the hole in the canopy (G) over the screw collar loop (GG). Position the canopy (G) up against the ceiling.
- Raise the threaded ring (FF) up to the canopy (G). Screw the threaded ring (FF) onto the screw collar loop (GG). Tighten the threaded ring (FF) to secure the fixture to the ceiling.
- Attach the second locking link (JJ) to the chain link at the end of the chain (HH) and to the screw collar loop (GG).

Installing the shades and bulbs
- Pass the hole in the bottom of one shade (E) down over the socket.
- Using the socket ring tool (C), screw a socket ring (D) onto the socket. DO NOT over tighten the socket ring (D).
- Repeat the above steps to install the remaining shades (E).
- Screw the recommended bulbs (E26 Edison bulb type, not included) into the sockets. The correct bulb wattage is marked on the socket. DO NOT exceed the maximum bulb wattage.

Maintenance
WARNING: Before you perform any cleaning or maintenance work, turn off the electricity at the main circuit breaker panel.
Care and Cleaning
- Wipe the fixture with a dry, soft cloth.
- Do not use any cleaners with chemicals, solvents, or harsh abrasives.
Troubleshooting
| Problem | Possible Cause | Solution |
| The light bulb will not turn on. | A bulb is burned out. | □ Replace the light bulb. |
| The power is off. | □ Ensure the power supply is on. | |
| There is a faulty wire connection. | □ Check the wiring. □ Contact a qualified and licensed electrician if you are not comfortable troubleshooting wiring problems. | |
| There is a faulty switch. | □ Test or replace the switch. | |
| The fuse blows or the circuit breaker trips when the light is turned on. | There are crossed wires or the power wire is grounding out. | □ Discontinue use of the fixture. Check the wire connections or contact a qualified electrician. |
Questions, problems, missing parts? Before returning to the store, call Hampton Bay Customer Service
8 a.m. – 7 p.m., EST, Monday – Friday, 9 a.m. – 6 p.m., EST, Saturday.
1-855-HD-HAMPTON
HAMPTONBAY.COM
Retain this manual for future use.















